lemon-mirror:
Home >> Chevrolet >> 2011 >> Express 2500 V8-6.6L DSL Turbo >> Repair and Diagnosis >> Powertrain Management >> Emission Control Systems >> Diesel Particle Filter (DPF) >> Description and Operation

Diesel Particle Filter (DPF): Description and Operation




Exhaust Aftertreatment System Description

System Overview





The diesel exhaust aftertreatment system is designed to reduce the levels of hydrocarbons (HC), carbon dioxide (CO), oxides of nitrogen (NOx), and particulate matter remaining in the vehicle's exhaust gases. Reducing these pollutants to acceptable levels is achieved through a 3 stage process:

1. A diesel oxidation catalyst (DOC) stage
2. A selective catalyst reduction (SCR) stage
3. A diesel particulate filter (DPF) stage

In stage 1, the DOC removes exhaust HC and CO through an oxidation process. After the stage 1 treatment, diesel exhaust fluid (DEF), also known as reductant or urea, is injected into the exhaust gases prior to entering the SCR stage. Within the SCR, NOx is converted to nitrogen, CO2 , and water vapor through a catalytic reduction fueled by the injected DEF. In the final or stage 3 process, particulate matter consisting of extremely small particles of carbon remaining after combustion are removed from the exhaust gas by the large surface area of the DPF.




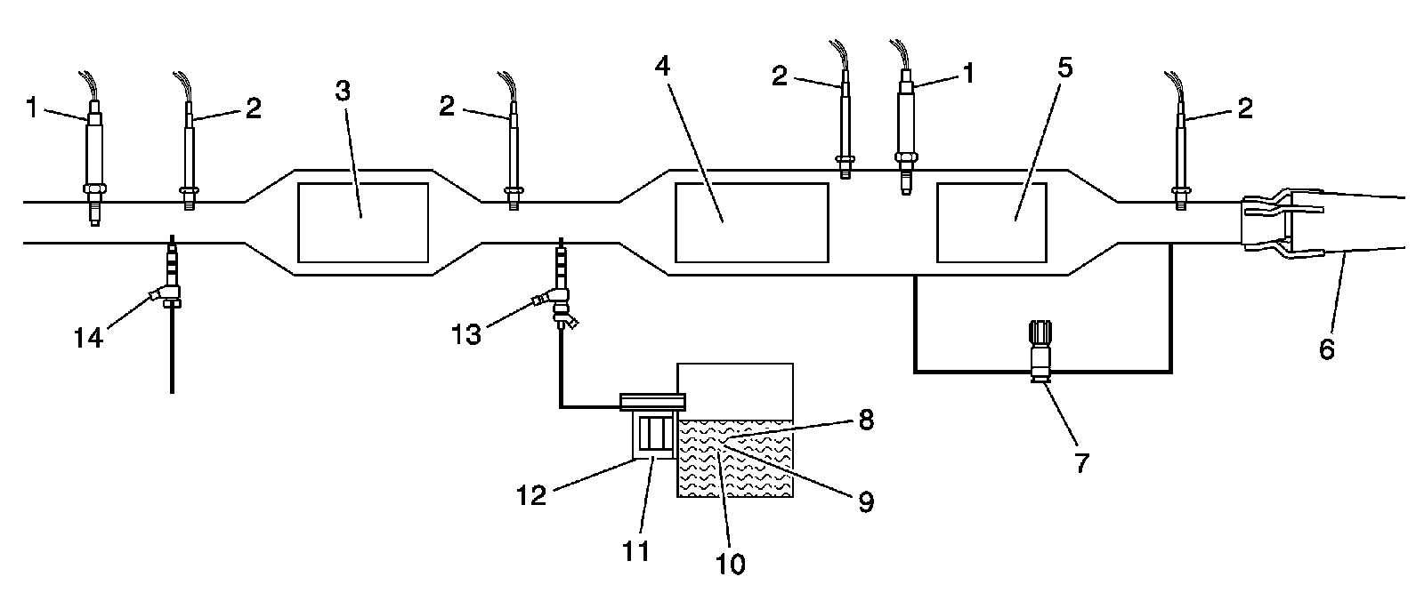
1 - NOx Sensor (2)
2 - Exhaust Gas Temperature Sensor (4)
3 - Diesel Oxidation Catalyst (DOC)
4 - Selective Catalyst Reduction (SCR)
5 - Diesel Particulate Filter (DPF)
6 - Exhaust Cooler
7 - DPF Differential Pressure Sensor
8 - Reductant Heater (3)
9 - Reductant Pressure Sensor
10 - Reductant Level/Temperature Sensor
11 - Reductant Purge Valve
12 - Reductant Pump
13 - Reductant Injector
14 - Hydrocarbon Injector (HCI)

Diesel Oxidation Catalyst (DOC) Operation

The DOC functions much like the catalytic converter used with gasoline fueled engines. As with all catalytic converters, the DOC must be hot in order to effectively convert the exhaust HC and CO into carbon dioxide (CO2) and water vapor. On cold starts, the exhaust gases are not hot enough to create temperatures within the DOC high enough to support full HC and CO conversion. The temperature at which full conversion occurs is known as light-off.

In addition to reducing emissions, the DOC also generates the exhaust heat needed by the SCR stage. Exhaust gas temperature (EGT) sensors are located upstream (EGT 1) and downstream (EGT 2) of the DOC. By monitoring the temperature differential between these two sensors, the ECM is able to confirm DOC light-off. Light-off is confirmed by a DOC output temperature that is greater than its input temperature.

In order to generate the high exhaust temperatures needed for regeneration, the aftertreatment system increases exhaust temperatures by injecting diesel fuel directly into the exhaust gases entering the DOC. This is accomplished by means of an ECM-controlled fuel injector, called the hydrocarbon injector (HCI), in the exhaust pipe upstream of the DOC. Injecting fuel directly into the exhaust rather than using a post-injection strategy greatly reduces oil/fuel dilution.

Proper DOC function requires the use of ultra-low sulfur diesel (ULSD) fuel containing less than 15 parts-per-million (ppm) sulfur. Levels above 15 ppm will reduce catalyst efficiency and eventually result in poor driveability and one or more DTCs being set.

Selective Catalyst Reduction (SCR) Operation

While diesel engines are more fuel efficient and produce less HC and CO than gasoline engines, as a rule they generate much higher levels of NOx. In order to meet today's tighter NOx limits, an SCR catalyst, along with DEF, is used to convert NOx into nitrogen gas (N2), carbon dioxide (CO2), and water vapor (H2O).

The ECM uses two smart NOx sensors to control exhaust NOx levels. The first NOx sensor is located in the turbocharger outlet and monitors the engine out NOx. The second NOx sensor is located in the exhaust pipe downstream of the SCR and monitors NOx levels exiting the aftertreatment system. The smart NOx sensors communicate with the ECM over the serial data line. Similar to the way the ECM uses oxygen sensor signals to maintain an optimum air/fuel ratio under various loads in gasoline applications, the ECM uses exhaust oxygen and NOx data from the NOx sensors to maintain the desired air/fuel ratio and to calculate the amount of DEF required to reduce exhaust NOx levels.

The NOx sensors incorporate an electric heater to quickly bring the sensors to operating temperature. As moisture remaining in the exhaust pipe could interfere with sensor operation, the ECM delays turning on the heaters until the exhaust temperature exceeds a calibrated value. This allows any moisture remaining in the exhaust pipe to boil off before it can effect NOx sensor operation. Depending on engine temperature at start up, the delay can be less than a minute or as long as two minutes. Typically, NOx sensor 1 will reach operating temperature faster than NOx sensor 2 as it's closer to the engine's hot exhaust. At idle or low engine speeds, NOx sensor 2 may require up to 5 minutes to reach operating temperature. The sensors must be hot before accurate exhaust NOx readings are available to the ECM.

DEF is a mixture of 66% deionized water and 34% urea. Within the SCR, exhaust heat converts the urea into ammonia (NH3) that reacts with NOx to form nitrogen, CO2, and water vapor. Optimum NOx reduction occurs at SCR temperatures above 250°C (480°F). At temperatures below 250°C, the incomplete conversion of urea forms sulfates that can poison the catalyst. To prevent this poisoning, the ECM suspends DEF injection when exhaust temperature falls below a calibrated limit.

The 6.6L (LML) engine uses exhaust gas temperature management to maintain the SCR catalyst within the optimum NOx conversion temperature range of 200-400°C (390-750°F). The ECM monitors EGT sensors located upstream (EGT 2) and downstream (EGT 3) of the SCR in order to determine if the SCR catalyst is within the temperature range where maximum NOx conversion occurs. The 6.6L (LGH) engine does not use exhaust gas temperature management; the ECM calculates SCR temperature based on the engine speed and load. For LGH applications, SCR temperatures are typically at the lower end of the temperature range under normal driving conditions; however, SCR temperatures will increase when hauling a trailer.

The smart NOx sensors provide a serial data message to the ECM with information on exhaust oxygen levels.

Diesel Exhaust Fluid (DEF) System





The DEF system consists of the following components located at the DEF reservoir:

* An electrically-operated reductant pump (12)
* A reductant purge valve (11)
* A reductant pressure sensor (9)
* A integrated reductant level sensor and reductant temperature sensor (10)
* Reductant system heaters (8)

The remaining DEF system component, an electrically-controlled reductant injector (13), is external to the reservoir.

The on-board reservoir holds approximately 19 liters (5 gallons) of DEF. An ECM controlled pump within the reservoir supplies pressurized DEF to the reductant injector located upstream of the SCR. A smart DEF level sensor within the reductant reservoir sends the ECM a serial data message indicating DEF level. The DEF pressure sensor provides the ECM with a voltage signal proportional to the reductant pressure generated by the DEF pump. The ECM varies the duty-cycle of the pump voltage to maintain reductant pressure within a calibrated range.

The state of the reductant purge valve determines whether DEF from the reductant pump is directed to the reductant injector or returned to the reservoir. In the normally de-energized state, the reductant purge valve directs reductant from the pump to the reductant injector. When the ignition is turned OFF, the ECM energizes both the reductant purge valve and reductant pump for about 30 to 45 seconds in order to purge the supply line of DEF. The ECM also commands the reductant injector to 100% to prevent vacuum from forming during the purge process. Purging prevents the reductant from freezing in the pump or supply line to the reductant injector.

The ECM energizes the reductant injector to dispense a precise amount of reductant upstream of the SCR in response to changes in exhaust NOx levels. Feedback from NOx sensors 1 and 2 allow the ECM to accurately control the amount of reductant supplied to the SCR. If more reductant is supplied to the SCR than is needed for a given NOx level, the excess reductant results in what is called ammonia slip where significant levels of ammonia exit the SCR. Since the NOx sensors are unable to differentiate between NOx and ammonia, ammonia slip will cause NOx sensor 2 to detect higher NOx levels than actually exist.

Cold Weather Operation

As reductant will freeze at temperatures below 0°C (32°F), there are 3 reductant heaters. Reductant heater 1 is in the reductant reservoir, reductant heater 2 is in the supply line to the reductant injector, and reductant heater 3 is at the reductant pump. The ECM monitors the reductant temperature sensor located within the reservoir in order to determine if reductant temperature is below its freeze point. If the ECM determines that the reductant may be frozen, it signals the Glow Plug Control Module (GPCM) to energize the reductant heaters.

Reductant pump operation is disabled for a calibrated amount of time to allow the heaters time to thaw the frozen reductant. Once the thaw period expires, the ECM energizes the reductant pump to circulate warm reductant through the de-energized reductant purge valve and back to the reservoir to speed thawing. The ECM looks for an increase in the reductant temperature to verify that the reductant reservoir heater is working.

Diesel Particulate Filter (DPF)





The DPF captures diesel exhaust gas particulates, also known as soot, preventing their release into the atmosphere. This is accomplished by forcing particulate-laden exhaust through a filter substrate consisting of thousands of porous cells. Half of the cells are open at the filter inlet but are capped at the filter outlet. The other half of the cells are capped at the filter inlet and open at the filter outlet. This forces the particulate-laden exhaust gases (1) through the porous walls of the inlet cells into the adjacent outlet cells trapping the particulate matter. The DPF is capable of removing more than 90% of particulate matter, or soot carried in the exhaust gases.

Differential Pressure Sensor (DPS)

Pressure connections at the DPF inlet and outlet allow the differential pressure sensor (DPS) to measure the pressure drop across the filter. This pressure drop increases as trapped soot collects in the cells of the DPF during vehicle operation. The rate at which soot collects varies with the power demands placed on the engine. If left unchecked, the increasing backpressure will eventually result in a driveability problem.

Normal DPF Regeneration

Over time, the soot trapped on the cell walls acts to restrict exhaust flow through the DPF reducing its effectiveness as well as reducing engine efficiency. This restriction in exhaust flow produces a pressure drop across the DPF that increases as the once porous cell walls become saturated with trapped soot. A DPS monitors the pressure drop across the DPF and provides the ECM with a voltage signal proportional to soot buildup. Once soot buildup reaches a specified limit, as signaled by the increased pressure drop across the DPF, the ECM commands a regeneration event to burn-off the collected soot during normal vehicle operation. Regeneration events occurring during vehicle operation are known as normal regenerations as they occur automatically and without driver knowledge. In general, the vehicle will need to be operating continuously at speeds above 48 km/h (30 mph) for approximately 20-30 minutes for a full and effective regeneration to complete.

The frequency of normal DPF regeneration is a function of the engine run time, miles driven, and fuel consumed since the last regeneration event. To initiate a regeneration event, the ECM commands the HCI to inject additional fuel upstream of the DOC in order to create the additional exhaust heat necessary to promote regeneration and burn-off the collected soot.

During regeneration exhaust temperatures may exceed 550°C (1,022°F) due to the rapid catalytic combustion of soot within the DPF. Conversely, under low engine speed or light loads, exhaust temperatures may be too low to promote proper regeneration. To protect the DPF catalyst from thermal damage due to excessive soot combustion or from sulfate poisoning at low temperatures, the ECM monitors EGT sensors upstream and downstream of the DPF during regeneration.

Should the EGT sensors indicate that regeneration temperatures have exceeded a calibrated threshold, regeneration will be temporally suspended until the sensors return to a normal temperature. If regeneration temperatures fall below a calibrated threshold, regeneration is terminated and a corresponding DTC is set in the ECM.

Under most conditions, the soot collected within the DPF burns off during normal regeneration cycles. Periodic regeneration prevents the buildup of soot from reaching a level where its burn-off could produce damaging high temperatures within the DPF. Vehicles operated at prolonged low speed or low loads where normal regeneration does not occur will eventually reach a high soot load condition. When the increased pressure drop across the DPF is detected by the DPS, the ECM illuminates the DPF lamp in the instrument cluster and sends a Clean Exhaust Filter message to the driver information center (DIC). The owner manual diesel supplement describes how the vehicle should be driven in order to enable normal regeneration.

Service Regeneration

Warning

Tailpipe outlet exhaust temperature will be greater than 300°C (572°F) during this procedure. To help prevent personal injury or property damage from fire or burns, perform the following:

1. Do not connect any shop exhaust removal hoses to the vehicle tailpipe.
2. Park the vehicle outdoors and keep people, other vehicles, and combustible material away during this procedure.
3. Do not leave the vehicle unattended.

Should the vehicle operator fail to drive the vehicle within the conditions necessary to initiate a normal regeneration cycle, the ECM illuminates the Service Engine Soon lamp and displays a REDUCED ENGINE POWER message on the DIC once the soot buildup exceeds a calibrated value. The vehicle will remain in the reduced power model until service regeneration is performed.

Service regeneration is required because the amount of soot collected in the DPF, known as soot load, is too high to be burned off without possible thermal damage to the DPF's ceramic substrate.

Service regeneration is one of several output control functions available on the scan tool. When service regeneration is commanded, the ECM takes control of engine operation until the service regeneration is completed in about 35 minutes or until the service regeneration is either cancelled by the technician or is aborted by the ECM when it detects unexpected conditions.

The service regeneration can be terminated by applying the brake pedal, commanding service regeneration OFF using the scan tool, or disconnecting the scan tool from the vehicle.

Service Regeneration Precautions

Exhaust temperatures at the tailpipe may exceed 300°C (572°F) during service regeneration. Observe the following precautions:

* Service regeneration must be performed outdoors. Most exhaust removal hoses cannot withstand the high exhaust temperatures generated during regeneration.
* Park the vehicle outdoors and keep people, other vehicles, and combustible material away during service regeneration.
* Park the vehicle in an area that provides a clearance area of at least 10 feet on all sides of the vehicle and open the hood.
* Ensure the tailpipe exhaust cooler is not obstructed by mud or debris.
* Do not leave the vehicle unattended during service regeneration.

The ECM uses two EGT sensors to measure the temperature of the exhaust gases at the inlet (EGT 3) and outlet (EGT 4) of the particulate filter. Optimum particulate filter temperature is crucial for emission reduction and for ensuring complete regeneration. Excessive particulate filter temperatures could damage the ceramic substrate. The ECM monitors the inlet and outlet exhaust gas temperature sensors in order to maintain the particulate filter at its optimum temperature.

Intake Air (IA) Valve

The intake air (IA) valve is located upstream of the intake air heater, and is normally in the open position. The ECM commands the valve to close in order to precisely control combustion temperature control during DPF regeneration. The IA valve will ensure the temperature of the exhaust gas remains in an efficient range under all operating conditions. The IA valve system uses a position sensor located within the valve assembly to monitor the position of the valve. The IA valve uses a motor to move the valve to a closed position and spring tension returns it to the open position. The motor is operated through Motor Control 1 and Motor Control 2 circuits.

Exhaust Cooler

The exhaust system has been designed to lower tailpipe exhaust gas temperatures during regeneration. The exhaust cooler at the end of the tailpipe draws in cooler air as exhaust gases exit the tailpipe. Fresh air mixes with the hot exhaust gases reducing exhaust gas temperatures at the tailpipe outlet.

Ash Loading

Ash is a non-combustible by-product from normal oil consumption. Low Ash content engine oil (CJ-4 API) is required for vehicles with the DPF system. Ash accumulation will eventually cause a restriction in the DPF. Being non-combustible, ash is not burned off during regeneration. An ash loaded DPF will need to be removed from the vehicle and replaced.