lemon-mirror:
Home >> Chevrolet >> 2011 >> Corvette V8-7.0L >> Repair and Diagnosis >> Maintenance >> Alignment >> Testing and Inspection

Alignment: Testing and Inspection




Trim Height Inspection

Special Tools

* J 42743 - Trim Height Adjustment Tool
* J 42854 - Trim Height Measurement Gauge

Trim Height Measurements

Note: Check the vehicle trim heights when diagnosing suspension concerns and before checking wheel alignment.

Trim height is a predetermined measurement relating to vehicle ride height. Incorrect trim heights can cause bottoming out over bumps, damage to the suspension components and symptoms similar to wheel alignment problems.

Trim Height Measurement Preliminary Procedure

Perform the following before measuring the trim heights:

1. Set the tire pressures to the pressure shown on the certification label. Refer to Vehicle Certification, Tire Placard, Anti-Theft, and Service Parts ID Label (Vehicle Certification, Tire Placard, Anti-Theft and Service Parts ID Label).
2. Check the fuel level. Add additional weight if necessary to simulate a full tank. If additional weight is added, distribute the weight at the rear of the seat cushions or the front of the rear compartment.
3. Make sure the rear compartment is empty of cargo.
4. Make sure the vehicle is on a level surface, such as an alignment rack.
5. Close the doors.
6. Close the hood.
7. Secure the convertible top or removable roof panel, if equipped, in the fully closed position.
8. All dimensions are measured vertical to the ground.

P and R Measurement Definitions





* P Height: The vertical distance from the ground to the top of the wheel opening through the centerline of the front wheel.
* R Height: The vertical distance from the ground to the top of the wheel opening through the centerline of the rear wheel.

Measuring the P and R Dimensions

Use the following procedures to measure the P and R dimensions.

Note: The left and right P and R dimensions differences should be no more than 10 mm (.39 in).

1. Push the front bumper down a minimum of 25 mm (1.0 in), and release. Perform this step three times.
2. Measure and record the trim height per the "Measure and Definitions".
3. Lift the bumper up a minimum of 25 mm (1.0 in) and release. Repeat this step three times.
4. Measure and record the trim height according to the Measure Definitions.
5. The true P height measurement is the average of the measurements taken in steps 2 and 4. Refer to Trim Height Specifications (Trim Height Specifications).
6. Repeat the above steps at the rear of the vehicle for the R heights.
7. If the P and R heights are outside the specifications, measure the Z and D heights.

Z Height Measurement Definition





The Z Height is the vertical distance from the center of the ball joint housing bottom surface to the center of the front lower control arm front bolt (threaded portion of the bolt) (1).

Z Height Measurement Dimensions

Use the following procedures to measure the Z dimensions.

Note: The left and right Z height differences should be no more than 7 mm (.28 in).

1. Push the front bumper down a minimum of 25 mm (1 in).perform this step three times.
2. Measure and record the trim height per the Z Height Measurement Definition.
3. Lift the bumper up a minimum of 25 mm (1.0 in), and release. Repeat this step three times.
4. Measure and record the trim height per the Z Height Measure and Definitions".
5. The true Z height dimension is the average of the measurement taken in steps 2 and 4. Refer to Trim Height Specifications (Trim Height Specifications).

Z Height Adjustment





Note:
* When adjusting the spring adjuster bolt, the J 42743 - Trim Height Adjustment Tool must be used to prevent damage to the rubber shear pad on the end of the bolt.
* One complete turn of the spring adjuster bolt is equal to 2 mm (0.079 in) of trim height.

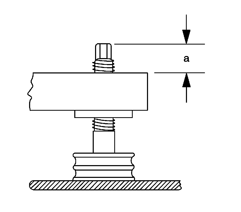
1. Use J 42743 - adjustment tool (1) to relieve tension from the spring adjuster; then adjust the Z trim height by turning the spring adjuster bolt.




2. Measure from the tip of the front spring adjuster to the top side of the spring.
3. Adjust the front adjuster bolt height if necessary to obtain a height (a) of 24 mm (0.945 in) nominal; Do Not exceed nominal by more than ± 5 mm (0.20 in).
4. Lower the transverse spring back onto the lower control arm and remove the J 42743 - adjustment tool.
5. Repeat the Z height measurement procedure.

D Height Measurement Definitions

The D Height: The vertical distance from the center of the ball joint housing bottom surface (2) to the center of the rear lower control arm front bolt (threaded portion of the bolt) (1).

D Height Measurement Dimensions





Use the following procedures to measure the D dimensions.

Note: The left and right D height difference should be no more than 7 mm (.28 in).

1. Push the rear bumper down a minimum of 25 mm (1. in). Perform this step three times.
2. Measure and record the trim height per the D Height Measurement Definition.
3. Lift the rear bumper up a minimum of 25 mm (1. in), and release. Repeat this step three times.
4. Measure and record the trim height according to the D Height Measurement Definition.
5. The true D height is the average of the measurements taken in steps 2 and 4. Refer to Trim Height Specifications (Trim Height Specifications).
6. If these measurements are out of specifications, continue to D Height Adjustment.

D Height Adjustment





Note:
* When adjusting the spring adjuster bolt, the J 42743 - Trim Height Adjustment Tool must be used to prevent damage to the rubber shear pad on the end of the bolt.
* One complete turn of the spring adjuster bolt is equal to 2 mm (0.079 in) of trim height.

1. Use the J 42743 - Trim Height Adjustment Tool (1) to relieve the tension from the spring adjuster; then adjust the D trim height by turning the spring adjuster bolt.




2. Measure from the tip of the rear spring adjuster to the top side of the spring.
3. Adjust the rear spring adjuster bolt height if necessary to obtain a height (a) of 24 mm (0.945 in) nominal; Do Not exceed nominal by more than ± 5 mm (0.20 in).
4. Lower the transverse spring back onto the lower control arm and remove the J 42743 - Trim Height Adjustment Tool.
5. Repeat the D height measurement procedure.