lemon-mirror:
Home >> Chevrolet >> 2011 >> Corvette V8-6.2L >> Repair and Diagnosis >> Body and Frame >> Seats >> Memory Positioning Systems >> Memory Positioning Switch >> Locations

Memory Positioning Switch: Locations




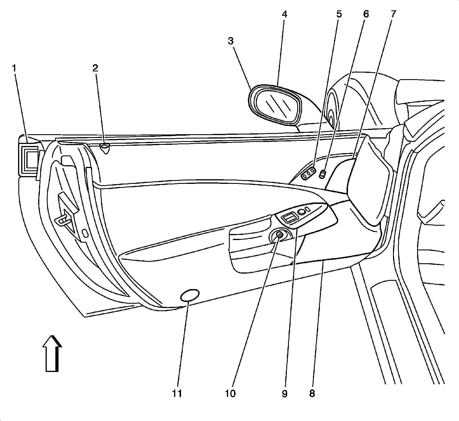
Door Component Views

Driver Door Components - Door Panel




1 - Door Handle Switch - Driver Exterior
2 - Door Lock Indicator - Driver
3 - Turn Signal Repeater Lamp - Left (T90)
4 - Outside Rearview Mirror - Driver
5 - Memory Seat Adjuster Switch - Driver (AAB)
6 - Door Lock Switch - Driver
7 - Speaker - Left Front
8 - Speaker - Left Subwoofer
9 - Window Switch - Driver
10 - Door Handle Switch - Driver Interior
11 - Door Reflector (if equipped)





Door Component Views

Driver Door Components - Internal




1 - Door Handle Switch - Driver Exterior
2 - Door Lock Indicator - Driver
3 - J579
4 - J559
5 - Memory Seat Adjuster Switch - Driver
6 - Door Lock Switch - Driver
7 - Speaker - Left Front
8 - Outside Rearview Mirror - Driver X1 Connector
9 - J539
10 - Outside Rearview Mirror - Driver X2 Connector
11 - X503
12 - X501
13 - Speaker - Left Subwoofer
14 - Door Control Module - Driver
15 - Window Switch - Driver
16 - Door Handle Switch - Driver Interior
17 - X555
18 - Inflatable Restraint Side Impact Sensor - Left (AJ7)