lemon-mirror:
Home >> Chevrolet >> 2011 >> Colorado 2WD L4-2.9L >> Repair and Diagnosis >> Specifications >> Mechanical Specifications >> Engine >> System Specifications >> Thread Repair Specifications

Thread Repair Specifications




Thread Repair Specifications

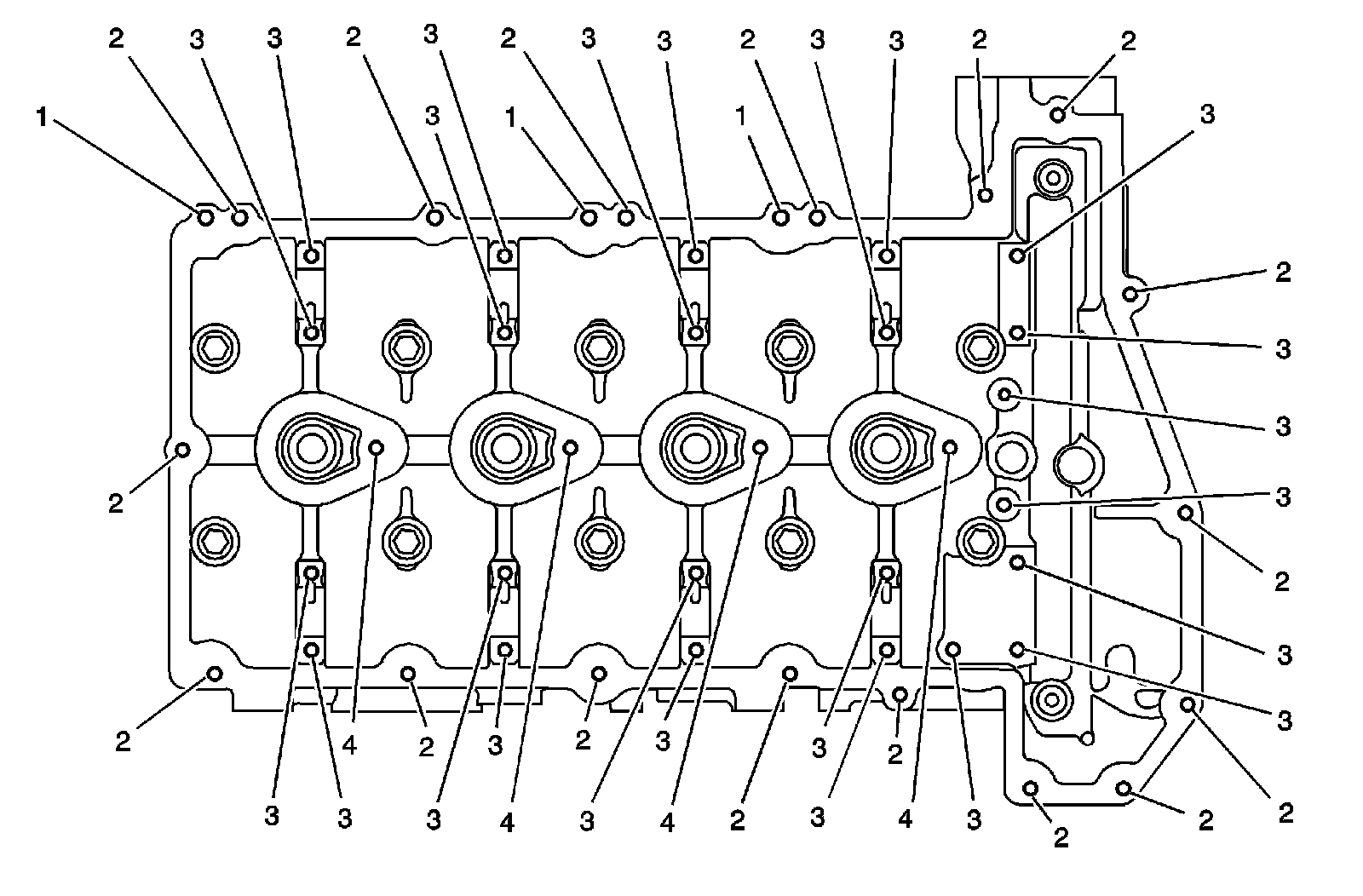
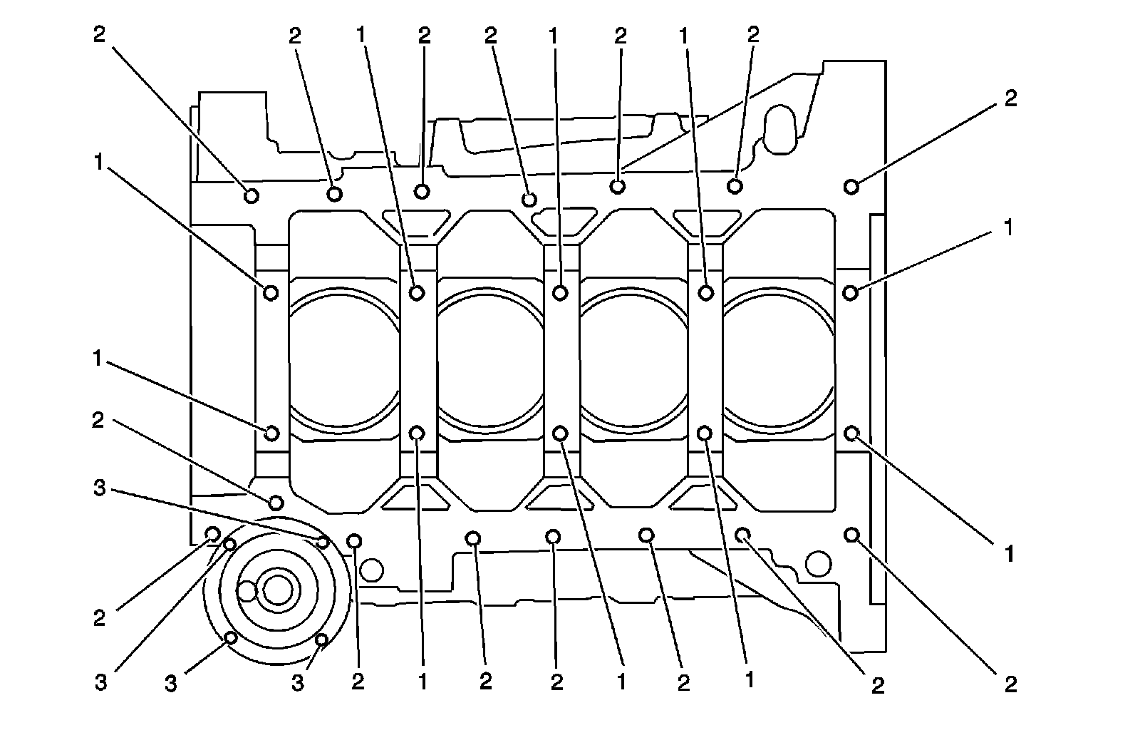
Engine Block - Top View









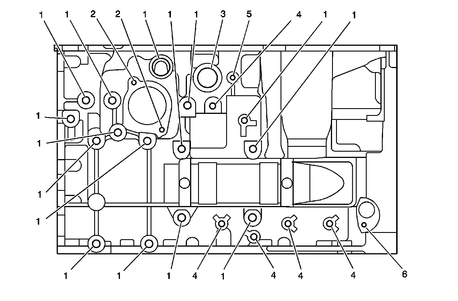
Engine Block - Bottom View









Engine Block - Left Side View









Engine Block - Right Side View









Engine Block - Front View









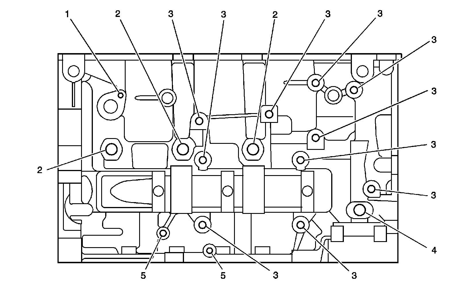
Engine Block - Rear View









Cylinder Head - Top View









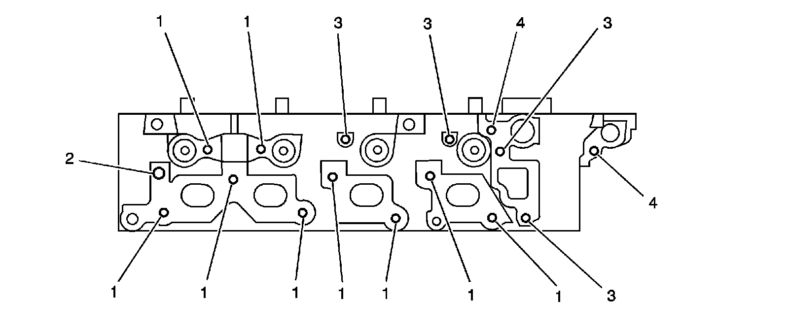
Cylinder Head - End - Front View









Cylinder Head - End - Rear View









Cylinder Head - Intake Manifold Deck View









Cylinder Head - Exhaust Manifold Deck View









Oil Pan - Bottom View









Oil Pan - Rear View









Engine Front Cover









Crankshaft Rear Oil Seal Housing