lemon-mirror:
Home >> Chevrolet >> 2011 >> Colorado 2WD L4-2.9L >> Repair and Diagnosis >> Powertrain Management >> Computers and Control Systems >> Transmission Position Sensor/Switch >> Service and Repair

Transmission Position Sensor/Switch: Service and Repair




Manual Shift Detent Lever with Shaft Position Switch Assembly Replacement

Removal Procedure

1. Remove the transmission oil pan and filter. Refer to Automatic Transmission Fluid and Filter Replacement (Automatic Transmission Fluid and Filter Replacement).




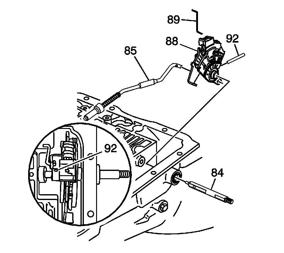
2. Remove the following parts: (89), (92), (88), (85) and (84)




3. Remove the manual shaft seal (82) with a screwdriver.

Installation Procedure




1. Inspect the following items:

* Manual shaft (84) for damage or burrs
* Parking lock actuator assembly (85) for damage
* Manual shift detent lever with shaft position switch assembly (88) for damage or cracks
* Manual valve link (89) for damage
* Manual shift detent lever pin (92) discard - Do NOT reuse.

Caution: Refer to Fastener Caution (Fastener Caution).

2. Install the following items:

* Manual shift detent lever with shaft position switch assembly (88)
* Parking lock actuator assembly (85)
* Manual shaft (84) (model dependent)
* NEW manual shift detent lever pin (92)
* Manual valve link (89)
Tighten the nut to 31 Nm (23 lb ft).

3. Install the transmission oil pan and filter. Refer to Automatic Transmission Fluid and Filter Replacement (Automatic Transmission Fluid and Filter Replacement).