lemon-mirror:
Home >> Chevrolet >> 2011 >> Caprice PPV V8-6.0L >> Repair and Diagnosis >> Diagrams >> Connector Views >> Power Window Control Module

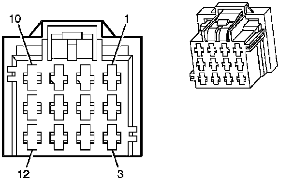
Power Window Control Module




Component Connector End Views

K90 Window Control Module