lemon-mirror:
Home >> Chevrolet >> 2011 >> Caprice PPV V8-6.0L >> Repair and Diagnosis >> Diagrams >> Connector Views >> Control Module, A/T

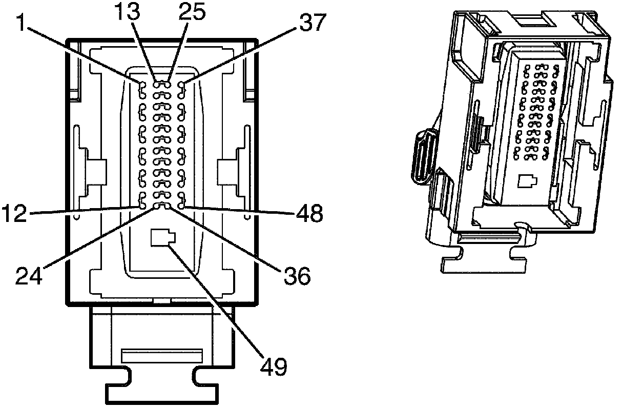
Control Module, A/T




Component Connector End Views

K71 Transmission Control Module