lemon-mirror:
Home >> Chevrolet >> 2010 >> Express 2500 V8-4.8L >> Repair and Diagnosis >> Powertrain Management >> Computers and Control Systems >> Fuel Level Sensor >> Locations

Fuel Level Sensor: Locations




Wheels/Vehicle Underbody Component Views

Inside of Fuel Tank Components (LGH)




1 - Fuel Level Sensor

Wheels/Vehicle Underbody Component Views

Fuel Tank (NE7)




1 - Fuel Tank Pressure (FTP) Sensor Connector (Gas)
2 - Fuel Pump and Sender Assembly Connector (Gas)/Fuel Level Sensor (Diesel)

Fuel Tank (without NE7)




1 - Fuel Pump and Sender Assembly Connector (Gas)/Fuel Level Sensor (Diesel)
2 - Fuel Tank Pressure (FTP) Sensor Connector (Gas)

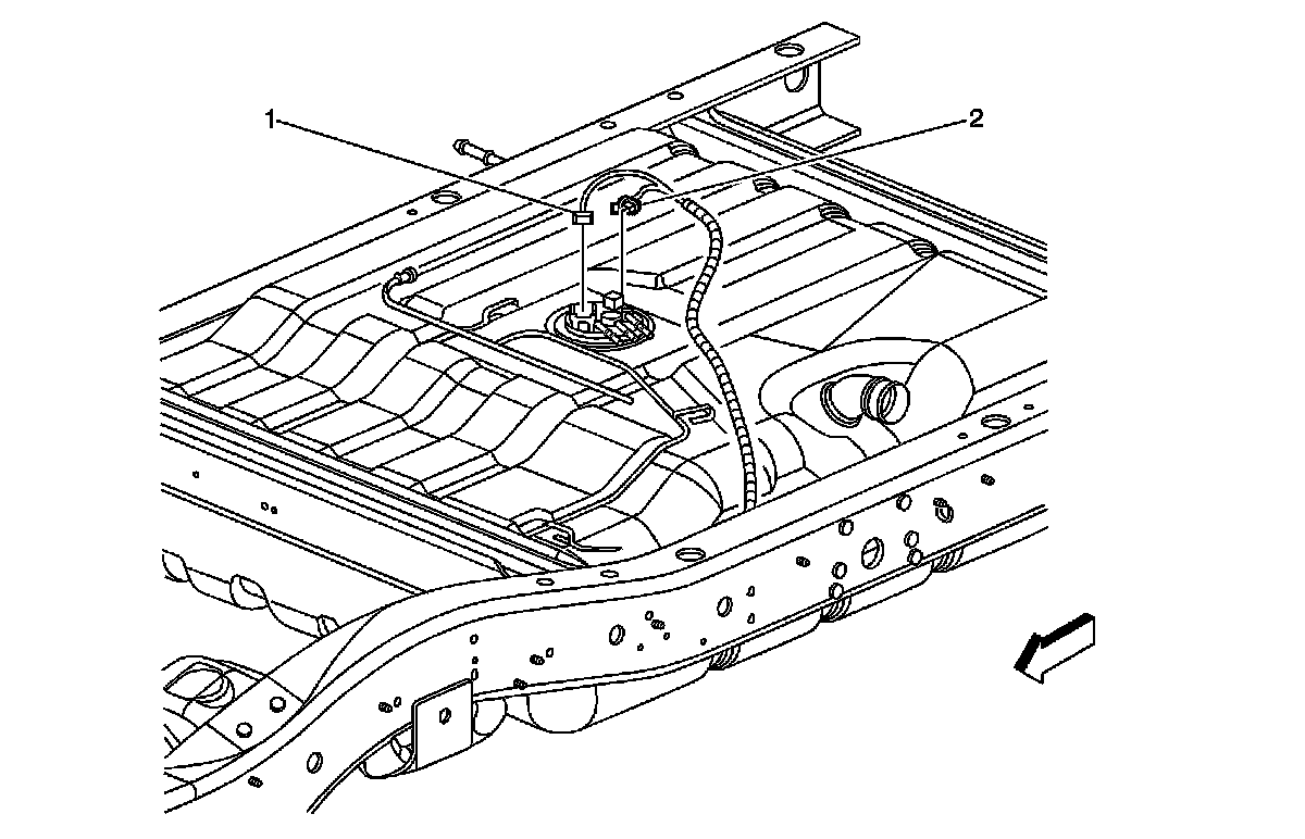
Left Side Frame (LMM or LGH)




1 - Fuel Level Sensor Connector
2 - Battery - Auxiliary
3 - G305
4 - Coolant Heater Fuel Pump (K08)
5 - Coolant Heater (K08)
6 - Fuel Pump