lemon-mirror:
Home >> Chevrolet >> 2010 >> Corvette V8-6.2L >> Repair and Diagnosis >> Maintenance >> Alignment >> Testing and Inspection

Alignment: Testing and Inspection




Trim Height Inspection

Tools Required
* J 42743 Trim Height Adjustment Tool
* J 42854 Trim Height Measurement Gauge

Trim Height Measurements

Important: Check the vehicle trim heights when diagnosing suspension concerns and before checking wheel alignment.


Trim height is a predetermined measurement relating to vehicle ride height. Incorrect trim heights can cause bottoming out over bumps, damage to the suspension components and symptoms similar to wheel alignment problems.

Trim Height Measurement Preliminary Procedure

Perform the following before measuring the trim heights:

1. Set the tire pressures to the pressure shown on the certification label. Refer to Vehicle Certification, Tire Placard, Anti-Theft, and Service Parts ID Label (Vehicle Certification, Tire Placard, Anti-Theft and Service Parts ID Label).
2. Check the fuel level. Add additional weight if necessary to simulate a full tank. If additional weight is added, distribute the weight at the rear of the seat cushions or the front of the rear compartment.
3. Make sure the rear compartment is empty of cargo.
4. Make sure the vehicle is on a level surface, such as an alignment rack.
5. Close the doors.
6. Close the hood.
7. Secure the convertible top or removable roof panel, if equipped, in the fully closed position.
8. All dimensions are measured vertical to the ground. Z and D trim heights should be within 6.4 mm (0.25 in) of nominal to be considered correct.

Z Height Measurement

Important: The Z height dimension measurement determines the proper ride height for the front end of the vehicle.


1. Lift the front bumper of the vehicle up about 38 mm (1.5 in) then allow the vehicle to settle.
2. Repeat this operation 2 more times for a total of 3 times.




3. Use the J 42854 to measure the distance between the lowest point of the ball joint (2) and the center of the front side of the lower control arm forward mounting bolt (1). Measure both sides of the vehicle.
4. Push the front bumper of the vehicle down about 38 mm (1.5 in) then allow the vehicle to rise.
5. Repeat this operation 2 more times for a total of 3 times.
6. Use the J 42854 again to measure the distance between the lowest point of the ball joint (2) and the center of the front side of the lower control arm forward mounting bolt (1). Measure both sides of the vehicle.
7. The true Z height dimension number is the average of the high and the low measurements. Refer to Trim Height Specifications (Trim Height Specifications).

Z Height Adjustment

Important: The Z trim height should be the same for the left and right side of the vehicle. The Z trim height requires adjustment if one of the following criteria is met:


* The measurement from either side of the vehicle is out of specification.

* The measurements fall within specifications, but the right and left sides are not equal.






Important:
* When adjusting the spring adjuster bolt, the J 42743 must be used to prevent damage to the rubber shear pad on the end of the bolt.

* One complete turn of the spring adjuster bolt is equal to 2 mm (0.079 in) of trim height.


1. Use J 42743 (1) to relieve tension from the spring adjuster; then adjust the Z trim height by turning the spring adjuster bolt.




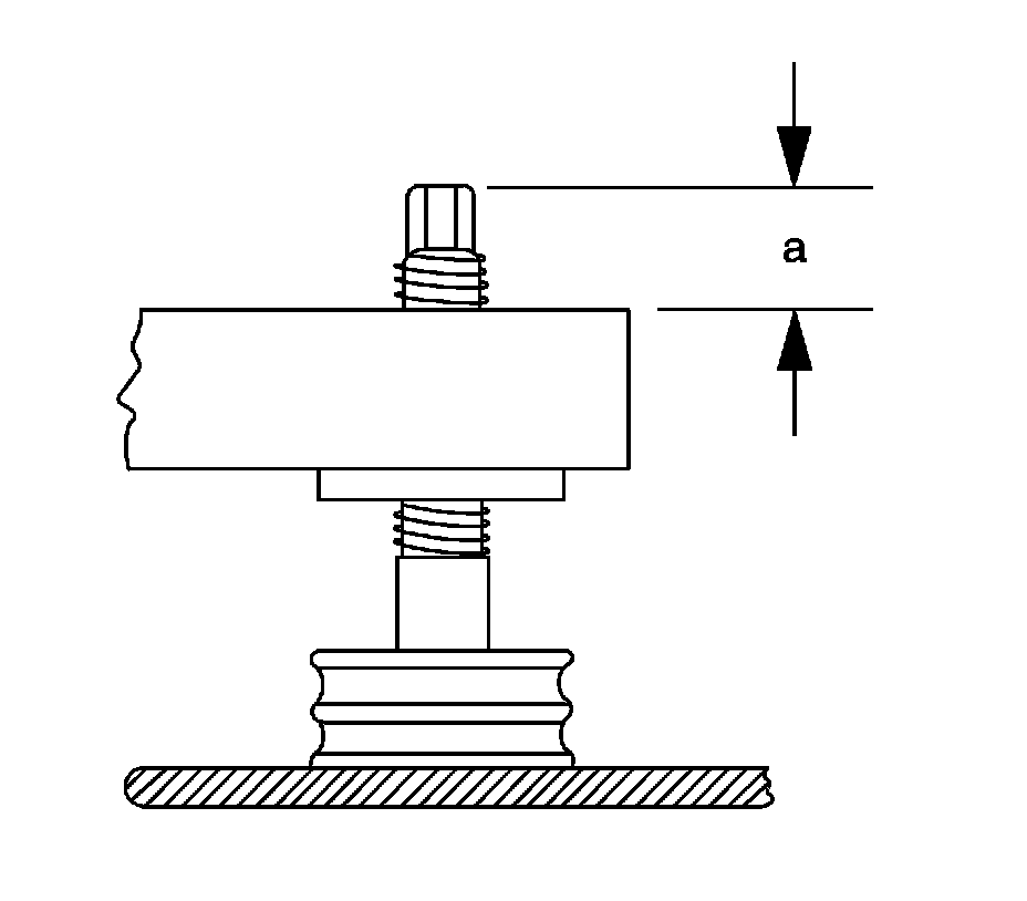
2. Measure from the tip of the front spring adjuster to the top side of the spring.
3. Adjust the front adjuster bolt height if necessary to obtain a height (a) of 24 mm (0.945 in) nominal; Do Not exceed nominal by more than ± 5 mm (0.20 in).
4. Lower the transverse spring back onto the lower control arm and remove the J 42743.
5. Repeat the Z height measurement procedure.

D Height Measurement

The D height dimension measurement determines the proper ride height for the rear end of the vehicle.

1. Lift the rear bumper of the vehicle up about 38 mm (1.5 in) then allow the vehicle to settle.
2. Repeat this operation 2 more times for a total of 3 times.




3. Use the J 42854 to measure the distance between the lowest point of the ball joint (2) and the center of the front side of the lower control arm forward mounting bolt (1). Measure both sides of the vehicle.
4. Push the rear bumper of the vehicle down about 38 mm (1.5 in) then allow the vehicle to rise.
5. Repeat this operation 2 more times for a total of 3 times.
6. Use the J 42854 again to measure the distance between the lowest point of the ball joint (2) and the center of the front side of the lower control arm forward mounting bolt (1). Measure both sides of the vehicle.
7. The true D height dimension number is the average of the high and low measurements. Refer to Trim Height Specifications (Trim Height Specifications).

D Height Adjustment

Important: The D trim height should be the same for the left and right side of the vehicle. The D trim height requires adjustment if one of the following criteria is met:


* The measurement from either side of the vehicle is out of specification.

* The measurements fall within specifications, but the right and left sides are not equal.






Important:
* When adjusting the spring adjuster bolt, the J 42743 must be used to prevent damage to the rubber shear pad on the end of the bolt.

* One complete turn of the spring adjuster bolt is equal to 2 mm (0.079 in) of trim height.


1. Use the J 42743 (1) to relieve the tension from the spring adjuster; then adjust the D trim height by turning the spring adjuster bolt.




2. Measure from the tip of the rear spring adjuster to the top side of the spring.
3. Adjust the rear spring adjuster bolt height if necessary to obtain a height (a) of 24 mm (0.945 in) nominal; Do Not exceed nominal by more than ± 5 mm (0.20 in).
4. Lower the transverse spring back onto the lower control arm and remove the J 42743.
5. Repeat the D height measurement procedure.