lemon-mirror:
Home >> Chevrolet >> 2010 >> Corvette V8-6.2L SC >> Repair and Diagnosis >> Specifications >> Mechanical Specifications >> Engine >> System Specifications >> Thread Repair Specifications

Thread Repair Specifications




Thread Repair Specifications (6.2L LS9)

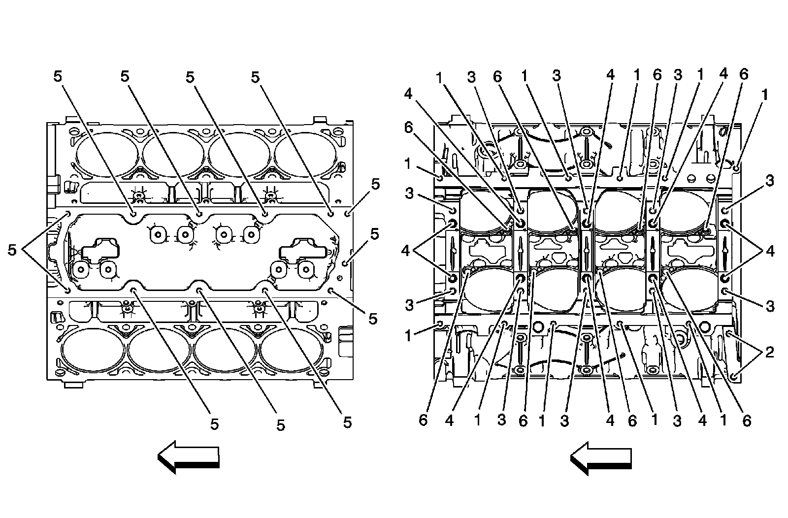
Engine Block - Front/Rear Views









Engine Block - Left/Right Side Views









Engine Block - Top/Bottom Views









Cylinder Head - Top/End Views









Cylinder Head - Intake/Exhaust Side Views