lemon-mirror:
Home >> Chevrolet >> 2010 >> Cobalt L4-2.2L >> Repair and Diagnosis >> Locations >> Component Locations >> Instrument Panel/Center Console Component Views

Instrument Panel/Center Console Component Views




Instrument Panel/Center Console Component Views

Instrument Panel Front Components




1 - Instrument Panel Cluster (IPC)
2 - Ambient Light Sensor
3 - Hazard Warning Switch
4 - Radio
5 - Remote Control Door Lock Receiver (RCDLR) (AUO)
6 - Heated Seat Switch - Passenger (KA1)
7 - HVAC Control Module
8 - Inflatable Restraint Passenger Air Bag On/Off Indicator (AL0 or ASA)
9 - Body Control Module (BCM)
10 - Heated Seat Switch - Driver (KA1)
11 - Traction Control Switch (JL4 of JL9)
12 - I/P Dimmer Switch
13 - Fog Lamp Switch (T37)
14 - Data Link Connector (DLC)
15 - Rear Compartment Lid Release Switch
16 - I/P Trim

Instrument Panel Rear Components




1 - Remote Control Door Lock Receiver (RCDLR) (AUO)
2 - Ambient Light Sensor
3 - Brake Pedal Position (BPP) Sensor
4 - Audio Amplifier (UQ3)
5 - Data Link Connector (DLC)
6 - Clutch Pedal Position (CPP) Sensor (M86 or MU3)
7 - Body Control Module (BCM)
8 - Accelerator Pedal Position (APP) Sensor

Steering Column




1 - Theft Deterrent Module (TDM)
2 - Ignition Switch
3 - Steering Angle Sensor (JL4)
4 - Electric Power Steering (EPS) Motor
5 - Power Steering Control Module (PSCM)

Steering Wheel




1 - Steering Wheel Control Switch - Left (UK3)
2 - Horn Switch
3 - Steering Wheel Control Switch - Right (UK3)
4 - Inflatable Restraint Steering Wheel Module

Interior HVAC Components




1 - HVAC Box Assembly
2 - Blower Motor Resistor
3 - Blower Motor
4 - Recirculation Actuator
5 - Mode Actuator
6 - Air Temperature Actuator

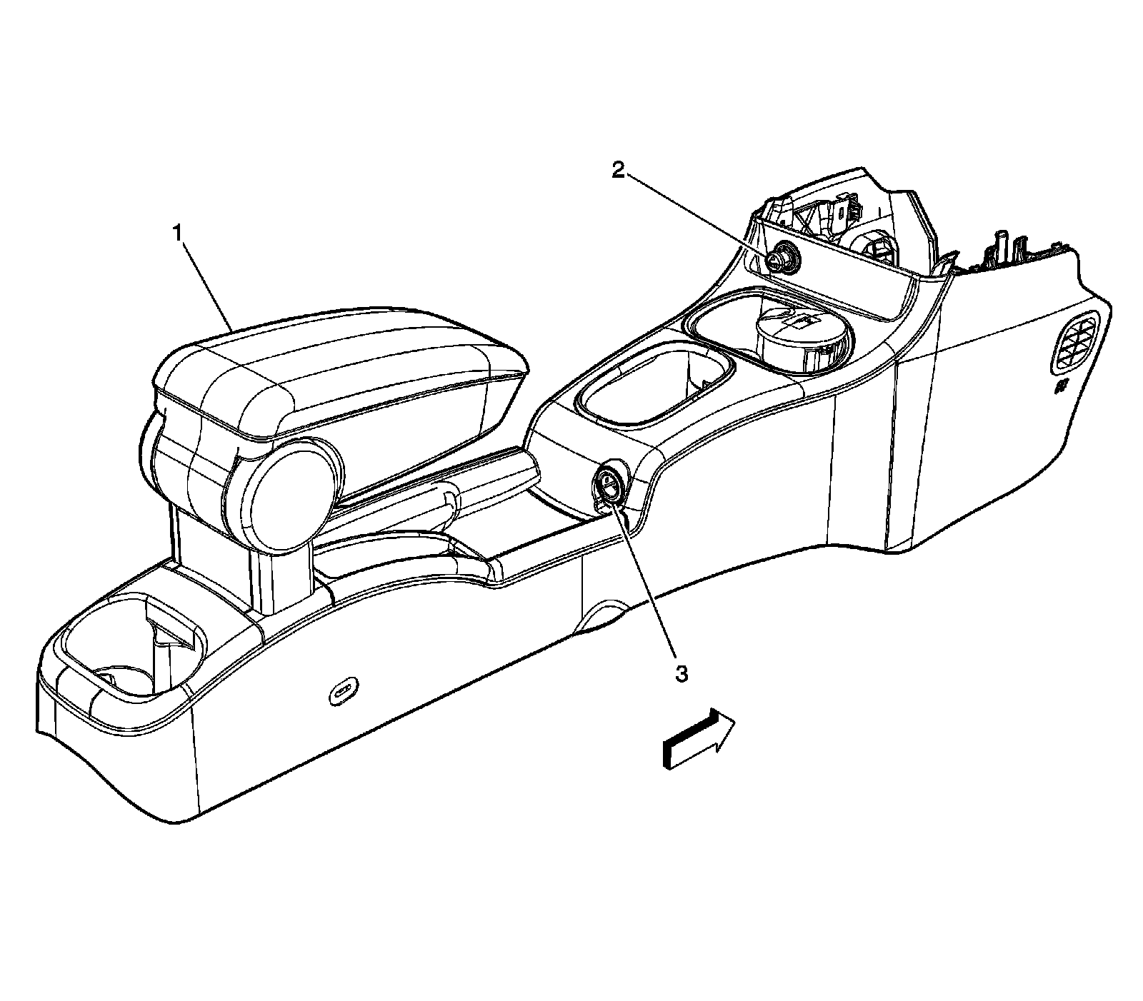
Console Components




1 - Console Armrest
2 - Cigar Lighter (DT4), Accessory Power Outlet (without DT4)
3 - Accessory Power Outlet - Center Console

Automatic Transmission Shift Lever Components (MN5)




1 - Automatic Transmission Shift Lever
2 - Park Position Switch
3 - X307
4 - Automatic Transmission Shift Lever Bulb and Socket
5 - Automatic Transmission Shift Lock Control Solenoid