lemon-mirror:
Home >> Chevrolet >> 2009 >> Traverse FWD V6-3.6L >> Repair and Diagnosis >> Diagrams >> Exploded Views >> Automatic Transmission/Transaxle >> Control Valve Body Assembly

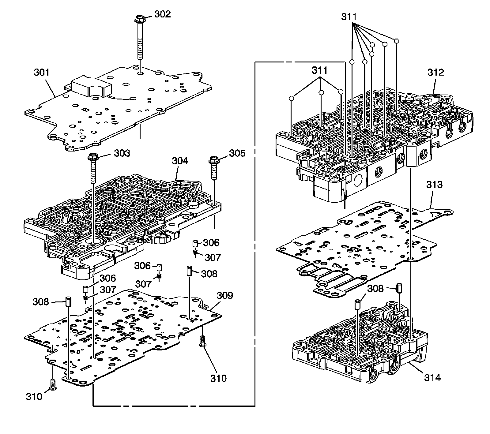
Control Valve Body Assembly




Disassembled Views

Control Valve Body Assembly




301 - Control Valve Channel Upper Plate Assembly
302 - Control Valve Body Bolt
303 - Control Valve Body Bolt
304 - Control Valve Channel Plate
305 - Control Valve Body Bolt
306 - Actuator Feed Accumulator Piston
307 - Actuator Feed Accumulator Spring
308 - Control Valve Body Locator Pin
309 - Control Valve Upper Body Spacer Plate Assembly
310 - Control Valve Body Spacer Plate Retainer
311 - Control Valve Body Ball Check Valve
312 - Control Valve Upper Body Assembly
313 - Control Valve Lower Body Spacer Plate Assembly
314 - Control Valve Lower Body