lemon-mirror:
Home >> Chevrolet >> 2009 >> Traverse FWD V6-3.6L >> Repair and Diagnosis >> Diagrams >> Connector Views >> Parking Assist Control Module

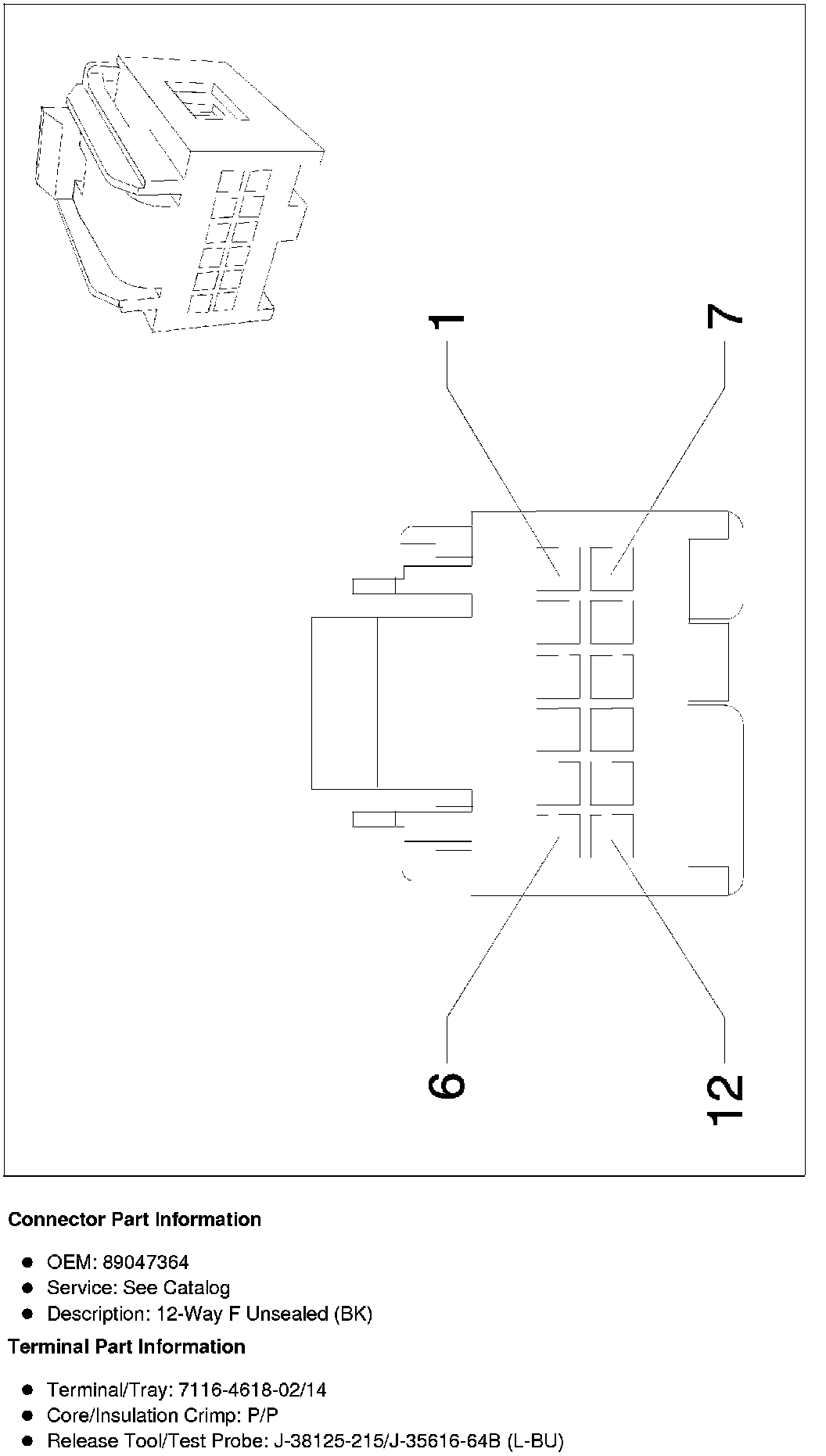
Parking Assist Control Module




Component Connector End Views

Object Alarm Module X1 (UD7)










Object Alarm Module X2 (UD7)