lemon-mirror:
Home >> Chevrolet >> 2009 >> HHR L4-2.2L >> Repair and Diagnosis >> Diagrams >> Exploded Views >> Sunroof / Moonroof

Sunroof / Moonroof




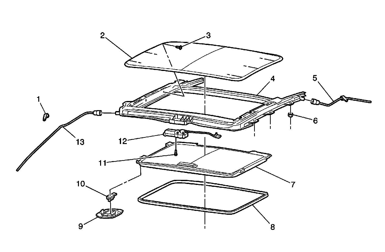
Power Sunroof Disassembled View

Power Sunroof Disassembled View




1 - Sunroof Drain Hose Retainer
2 - Sunroof Window Panel
3 - Sunroof Window Bolt/Screw
4 - Sunroof Module Assembly
5 - Sunroof Rear Drain Hose
6 - Sunroof Module Assembly to Roof Nut
7 - Sunroof Sunshade
8 - Sunroof Opening Bezel/Lace
9 - Sunroof Switch Bezel
10 - Sunroof Switch
11 - Sunroof Motor/Actuator Bolt/Screw
12 - Sunroof Motor/Actuator
13 - Sunroof Front Drain Hose