lemon-mirror:
Home >> Chevrolet >> 2009 >> HHR L4-2.2L >> Repair and Diagnosis >> Diagrams >> Exploded Views >> Engine

Engine




Disassembled Views

Cylinder Head and Components




201 - Exhaust Valve
202 - Intake Valve
203 - Timing Chain Guide Bolt Access Hole
204 - Cylinder Head
205 - Cylinder Head Gallery Plug
206 - Hydraulic Lash Adjuster
207 - Roller Finger Follower
208 - Cylinder Head Bolt
209 - Small Cylinder Head Bolt
210 - Valve Stem Seal
211 - Valve Spring
212 - Valve Spring Retainer
213 - Valve Keys
214 - Hydraulic Lash Adjuster
215 - Roller Finger Follower
216 - Intake Camshaft
219 - Camshaft Cap
220 - Exhaust Camshaft
221 - Camshaft Cap
222 - Camshaft Cap Bolt
300 - Coolant Air Bleed Fitting
413 - Engine Oil Fill Cap
507 - Fuel Injector Rotator Cup
508 - Fuel Injector O-ring
509 - Fuel Injector
510 - Fuel Injector O-ring
511 - Fuel Injector Clip
512 - Fuel Rail
513 - Camshaft Cover Gasket
514 - Camshaft Cover
515 - Camshaft Cover Bolt
707 - Front Lift Bracket Bolt
708 - Front Lift Bracket
709 - Rear Lift Bracket
710 - Rear Lift Bracket Bolt
713 - Fuel Injector Wiring Harness
717 - Spark Plug
718 - Camshaft Position Actuator Solenoid Valve - Exhaust
719 - Camshaft Position Actuator Solenoid Valve - Intake
720 - Camshaft Position Actuator Solenoid Valve Bolt
721 - Ignition Coil
724 - Ignition Coil Bolt
725 - Camshaft Position Sensor
726 - Camshaft Position Sensor Bolt
727 - Camshaft Position Sensor
728 - Camshaft Position Sensor Bolt

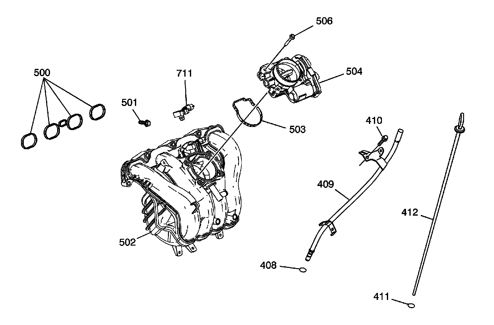
Intake Manifold and Components




408 - Oil Indicator Tube O-ring
409 - Oil Indicator Tube
410 - Oil Indicator Tube Bolt
411 - Oil Indicator O-ring
412 - Oil Indicator
500 - Intake Manifold Gasket
501 - Intake Manifold Bolt
502 - Intake Manifold
503 - Throttle Body Seal
504 - Throttle Body
506 - Throttle Body Bolt
711 - Map Sensor

Exhaust Manifold and Components




600 - Exhaust Manifold Stud
601 - Exhaust Manifold Gasket
602 - Exhaust Manifold
603 - Exhaust Manifold Nut
604 - Exhaust Manifold Heat Shield
605 - Exhaust Manifold Heat Shield Stud
712 - Oxygen Sensor

Engine Block and Components




100 - Engine Block
101 - Crankshaft Bearing - Upper
102 - Crankshaft Thrust Bearing - Upper
103 - Crankshaft
104 - Crankshaft Bearing - Lower
105 - Crankshaft Thrust Bearing - Lower
106 - Lower Crankcase
107 - Lower Crankcase Perimeter Bolt
108 - Lower Crankcase Main Bearing Bolt
109 - Crankshaft Rear Seal
110 - Flywheel - Automatic Transmission
111 - Automatic Transaxle Flywheel to Crankshaft Bolt
112 - Manual Transaxle Flywheel
113 - Manual Transaxle Flywheel Bolt
114 - Engine Block to Transaxle Alignment Pin
115 - Engine Block Gallery Plug
116 - Cylinder Head Alignment Pin
117 - Cylinder Bore Sleeve
118 - Connecting Rod Cap Bolt
119 - Connecting Rod
120 - Connecting Rod Bearing
121 - Piston Assembly
122 - Piston Ring Assembly
200 - Cylinder Head Gasket
301 - Thermostat Housing
302 - Thermostat Housing to Block Gasket
303 - Water Pipe Support Bracket Bolt
304 - Water Pipe Support Bracket Bolt Stud
305 - Water Pipe Support Bracket
306 - Thermostat Gasket
307 - Thermostat
308 - Thermostat Housing Cap
309 - Thermostat Housing Cap Bolt
310 - Water Transfer Pipe
311 - Water Transfer Pipe O-ring Seals
312 - Water Pump
313 - Water Pump to Engine Block Seal
400 - Engine Oil Pan
401 - Engine Oil Pan Alignment Pins
402 - Engine Oil Pan Drain Plug
403 - Engine Oil Pan Bolt
404 - Engine Oil Pan Long Bolt
405 - Oil Filter
406 - Oil Filter Cap O-ring
407 - Oil Filter Cap
433 - Piston Oil Squirter
700 - Oil Pressure Switch
701 - Crankshaft Position Sensor Bolt
702 - Crankshaft Position Sensor
703 - Knock Sensor
706 - Coolant Temperature Sensor

Timing Chain and Components




123 - Balance Shaft Rear Bearing
124 - Exhaust Balance Shaft
125 - Intake Balance Shaft
126 - Exhaust Balance Shaft Bearing Carrier
127 - Intake Balance Shaft Bearing Carrier
128 - Exhaust Balance Shaft Drive Sprocket
129 - Intake Balance Shaft Drive Sprocket
130 - Balance Shaft Drive Sprocket Bolts
223 - Upper Timing Chain Guide Bolt
224 - Upper Timing Chain Guide
225 - Exhaust Camshaft Position Actuator
226 - Intake Camshaft Position Actuator
227 - Camshaft Position Actuator Bolt
228 - Timing Chain Oil Nozzle
229 - Timing Chain Oil Nozzle Bolt
230 - Timing Chain Drive Sprocket
231 - Fixed Timing Chain Guide
232 - Fixed Timing Chain Guide Bolt
233 - Timing Chain
234 - Timing Chain Tensioner Washer
235 - Timing Chain Tensioner Body
236 - Timing Chain Tensioner O-ring Seal
237 - Timing Chain Tensioner Plunger
238 - Adjustable Timing Chain Guide
239 - Adjustable Timing Chain Guide Bolt
240 - Balance Shaft Drive Sprocket
241 - Balance Shaft Drive Chain Guide
242 - Balance Shaft Drive Chain Guide Bolt
243 - Balance Shaft Drive Chain Guide
244 - Balance Shaft Drive Chain Guide Bolt
245 - Balance Shaft Drive Chain
246 - Balance Shaft Drive Chain Tensioner Assembly
247 - Balance Shaft Drive Chain Tensioner Assembly Bolt
248 - Adjustable Balance Shaft Drive Chain Guide
249 - Adjustable Balance Shaft Drive Chain Guide Bolt
314 - Water Pump Drive Sprocket
315 - Water Pump Drive Sprocket Bolt
316 - Water Pump Bolt
317 - Engine Front Cover Access Plate Gasket
318 - Engine Front Cover Access Plate
319 - Engine Front Cover Access Plate Bolt
414 - Engine Front Cover Alignment Pins
415 - Engine Front Cover Gasket
416 - Oil Pump Cover Bolt
417 - Oil Pump Cover
418 - Oil Pump Outer Gerotor
419 - Oil Pump Inner Gerotor
420 - Engine Front Cover
421 - Engine Front Cover Bolt
422 - Oil Pressure Relief Valve Spring
423 - Oil Pressure Relief Valve Plunger
424 - Oil Pressure Relief Valve O-ring Seal
425 - Oil Pressure Relief Valve Plug
426 - Crankshaft Front Seal
427 - Crankshaft Damper
428 - Crankshaft Damper Bolt
429 - Friction Washer, some models
704 - Belt Tensioner
705 - Belt Tensioner Bolt