lemon-mirror:
Home >> Chevrolet >> 2009 >> Express 4500 V8-6.0L >> Repair and Diagnosis >> Maintenance >> Alignment >> Testing and Inspection

Alignment: Testing and Inspection




Trim Height Inspection

Trim Height Measurements

Trim height is a predetermined measurement relating to vehicle ride height. Incorrect trim heights can cause bottoming out over bumps, damage to the suspension components and symptoms similar to wheel alignment problems. Verify the trim heights when diagnosing suspension concerns and before inspecting the wheel alignment.

Perform the following before measuring the trim heights:

* Ensure the vehicle is on a level surface, such as an alignment rack.
* Remove alignment rack floating plate pins.
* Set the tire pressures to specifications. Refer to Vehicle Certification, Tire Placard, Anti-Theft, and Service Parts ID Label (Application and ID).
* Inspect the fuel level. Add additional weight if necessary to simulate a full tank.
* To ensure proper weight distribution verify the rear storage compartment is empty.
* Close the doors and hood.

Z Height Measurement

The Z height measurement determines the proper ride height for the front end of the vehicle. Vehicles equipped with torsion bars use an adjusting arm to adjust the Z height. Vehicles without torsion bars have no adjustment and could require replacement of suspension components.

Important: All dimensions are measured vertical to the ground. Trim heights should be within 12 mm (0.47 in) to be considered correct.

1. Place hand on the front bumper and jounce the front of the vehicle. Ensure that there is at least 38 mm (1.5 in) of movement while jouncing.
2. Allow the vehicle to settle into position.



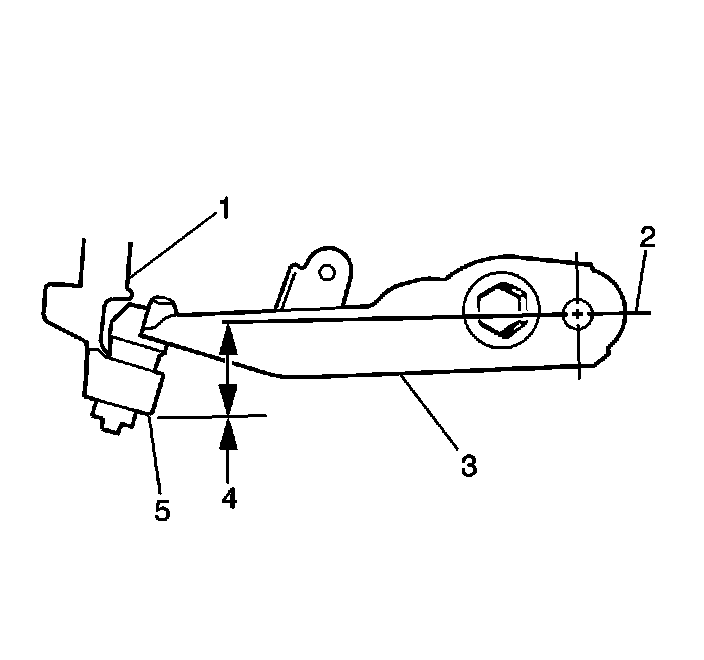
3. Measure from the pivot bolt center line (2) down to the lower corner (5) of the steering knuckle (1) in order to obtain the Z height measurement (4).
4. Repeat the jouncing operation 2 more times for a total of 3 times.
5. Use the highest and lowest measurements to calculate the average height.
6. The true Z height dimension number is the average of the highest and lowest measurements. Refer to Trim Height Specifications (Specifications).

Z Height Adjustment




1. For vehicles equipped with a torsion bar suspension, turn the bolt (1) that contacts the torsion arm as needed. One revolution of the bolt (1) into the nut, increases the Z height by approximately 6.0 mm (0.2 in).
2. For vehicles without torsion bars replace damaged or worn components as necessary.
3. If these measurements are still out of specifications after adjustment or are not equipped with torsion bars, inspect for the following conditions:

* Sagging front suspension. Refer to Front Coil Springs Replacement (Front Suspension Coil Spring) or Torsion Bar and Support Assembly Replacement (Service and Repair).
* Collision damage

D Height Measurement

The D height measurement determines the proper ride height for the rear end of the vehicle. There is no adjustment procedure. Repair may require replacement of suspension components.

Important: All dimensions are measured vertical to the ground. Trim heights should be within 12 mm (0.47 in) to be considered correct.

1. Place hand on the rear bumper and jounce the rear of the vehicle. Ensure that there is at least 38 mm (1.5 in) of movement while jouncing.
2. With the vehicle on a flat surface, lift upward on the rear bumper 38 mm (1.5 in).
3. Allow the vehicle to settle into position.





Important: Measure the metal to metal contact points of the rear axle to the frame on the inboard side of the leaf springs.

4. Measure the D height by measuring the distance between the rear axle tube or rear axle bracket on vehicles with 7300 GVW rating and the frame.
5. Repeat the jouncing operation 2 more times for a total of 3 times.
6. Use the highest and lowest measurements to calculate the average height.
7. The true D height dimension is the average of the highest and the lowest measurements. Refer to Trim Height Specifications (Specifications).
8. If these measurements are out of specifications, inspect for the following conditions:

* Sagging rear leaf springs
Refer to Leaf Spring Replacement (Rear Suspension Leaf Spring).
* Collision damage