lemon-mirror:
Home >> Chevrolet >> 2009 >> Express 2500 V8-6.6L DSL Turbo >> Repair and Diagnosis >> Powertrain Management >> Computers and Control Systems >> Fuel Level Sensor >> Locations

Fuel Level Sensor: Locations




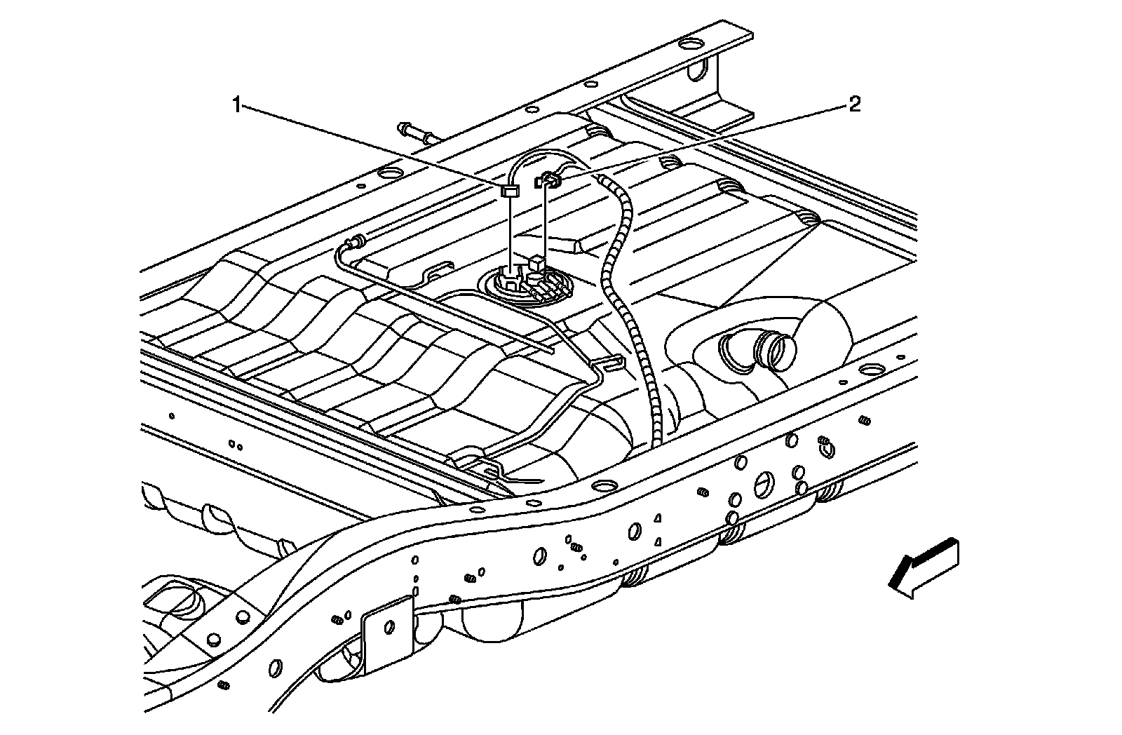
Fuel Tank (NE7)




1 - Fuel Tank Pressure (FTP) Sensor Connector (Gas)
2 - Fuel Pump and Sender Assembly Connector (Gas)/Fuel Level Sensor (Diesel)

Fuel Tank (without NE7)




1 - Fuel Pump and Sender Assembly Connector (Gas)/Fuel Level Sensor (Diesel)
2 - Fuel Tank Pressure (FTP) Sensor Connector (Gas)