lemon-mirror:
Home >> Chevrolet >> 2009 >> Corvette V8-7.0L >> Repair and Diagnosis >> Diagrams >> Exploded Views >> Engine

Engine




Disassembled Views (7.0L LS7)

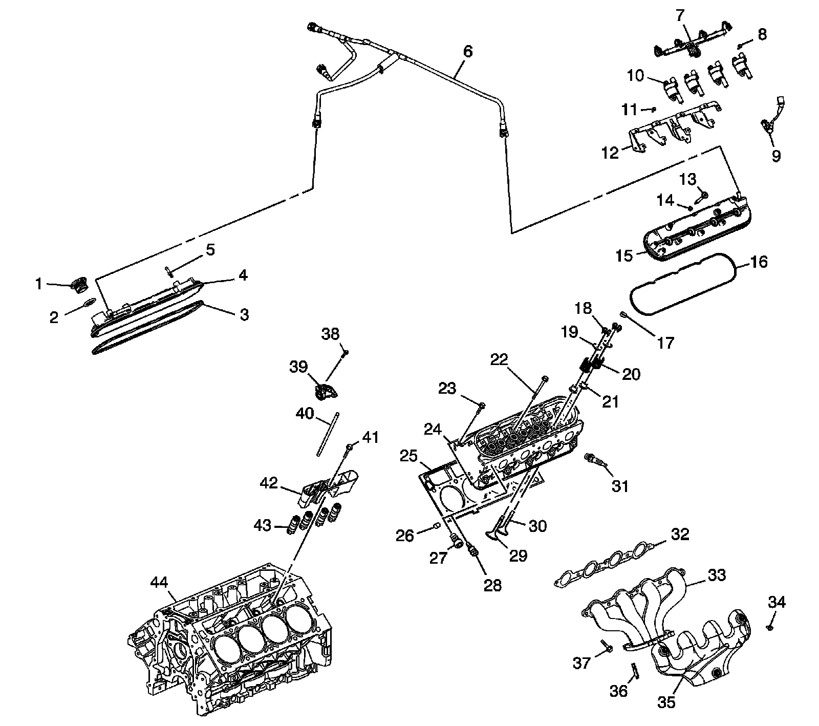
Intake Manifold/Upper Engine




1 - Positive Crankcase Ventilation (PCV) Tube - Fresh Air
2 - Evaporative (EVAP) Emission Canister Purge Tube
3 - EVAP Canister Purge Solenoid Valve
4 - EVAP Service Valve
5 - EVAP Service Valve Cap
6 - EVAP Canister Purge Tube Clip
7 - EVAP Canister Purge Tube
8 - EVAP Canister Purge Solenoid Valve Bracket
9 - Bolt
10 - Fuel Injection Fuel Rail Stop
11 - Bolt
12 - Intake Manifold
13 - Intake Manifold Seal
14 - Intake Manifold Gasket
15 - Engine Coolant Air Bleed Plug
16 - Engine Oil Pressure Sensor
17 - Engine Oil Pressure Sensor Seal
18 - Bolt
19 - Engine Block Valley Cover High Pressure Port Seal
20 - Engine Block
21 - Engine Block Valley Cover Gasket
22 - Engine Block Valley Cover
23 - PCV Hose - Dirty Air
24 - Engine Coolant Air Bleed Pipe Seal
25 - Engine Coolant Air Bleed Pipe
26 - Bolt
27 - Throttle Body Seal
28 - Bolt
29 - Throttle Body
30 - Manifold Absolute Pressure (MAP) Sensor Seal
31 - MAP Sensor
32 - Fuel Injection Fuel Rail Bracket
33 - Fuel Rail Assembly - Multi-Port
34 - Bolt

Cylinder Head/Upper Engine




1 - Oil Cap
2 - Oil Cap O-ring Seal
3 - Valve Rocker Arm Cover Gasket
4 - Valve Rocker Arm Cover
5 - Engine Cover Stud
6 - Positive Crankcase Ventilation (PCV) Tube Fresh Air
7 - Ignition Coil Wire Harness Assembly
8 - Bolt
9 - Spark Plug Wire
10 - Ignition Coil
11 - Stud
12 - Ignition Coil Bracket
13 - Bolt
14 - Bolt Grommet
15 - Valve Rocker Arm Cover
16 - Valve Rocker Arm Cover Gasket
17 - Valve Rocker Arm Wear Pad - Intake Valve
18 - Valve Stem Key
19 - Valve Spring Cap
20 - Valve Spring
21 - Valve Stem Oil Seal
22 - Cylinder Head Bolt - M11
23 - Cylinder Head Bolt - M8
24 - Cylinder Head
25 - Cylinder Head Gasket
26 - Cylinder Head Locating Pin
27 - Cylinder Head Plug
28 - Coolant Temperature Sensor
29 - Exhaust Valve
30 - Intake Valve
31 - Spark Plug
32 - Exhaust Manifold Gasket
33 - Exhaust Manifold
34 - Bolt
35 - Exhaust Manifold Heat Shield
36 - Stud
37 - Bolt
38 - Bolt
39 - Valve Rocker Arm
40 - Valve Pushrod
41 - Bolt
42 - Valve Lifter Guide
43 - Valve Lifter
44 - Engine Block

Front of Engine




100 - Engine Block
138 - Crankshaft Balancer
139 - Bolt
140 - Crankshaft Front Oil Seal
143 - Balancer Weight - Crankshaft Balancer
200 - Camshaft
201 - Camshaft Bearings
202 - Camshaft Sprocket Locating Pin
203 - Camshaft Retainer
204 - Bolt
205 - Camshaft Sprocket
206 - Bolt
207 - Crankshaft Sprocket
208 - Timing Chain
231 - Bolt
232 - Timing Chain Dampener
233 - Crankshaft Balancer Washer
300 - Water Pump
301 - Bolt
302 - Bolt
303 - Water Inlet Housing
304 - Water Inlet Seal
305 - Engine Coolant Thermostat
306 - Water Pump Gasket
408 - Bolt
409 - Oil Pump Cover
410 - Oil Pump Gear - Drive
410 - Oil Pump Gear - Drive
411 - Bolt
412 - Oil Pump Gear - Driven
412 - Oil Pump Gear - Driven
413 - Oil Pump Housing - Primary
414 - Oil Pressure Relief Valve
415 - Oil Pressure Relief Valve Spring
416 - Oil Pressure Relief Valve Plug
456 - Oil Pump Housing - Secondary
501 - Bolt
502 - Engine Front Cover
503 - Engine Front Cover Gasket
703 - Camshaft Position (CMP) Sensor
704 - CMP Sensor Seal
705 - CMP Sensor Bolt
737 - CMP Sensor Wire Harness

Rear of Engine




100 - Engine Block
123 - Transmission Pilot Bearing
132 - Washer
133 - Bolt
134 - Flywheel - Manual Transmission
135 - Clutch Drive Plate - Manual Transmission
136 - Clutch Pressure Plate - Manual Transmission
137 - Bolt
141 - Crankshaft Rear Oil Seal
142 - Clutch Pressure Plate Locating Pin - Manual Transmission
144 - Balance Weight - Flywheel
517 - Bolt
518 - Crankshaft Rear Oil Seal Housing
519 - Crankshaft Rear Oil Seal Housing Gasket

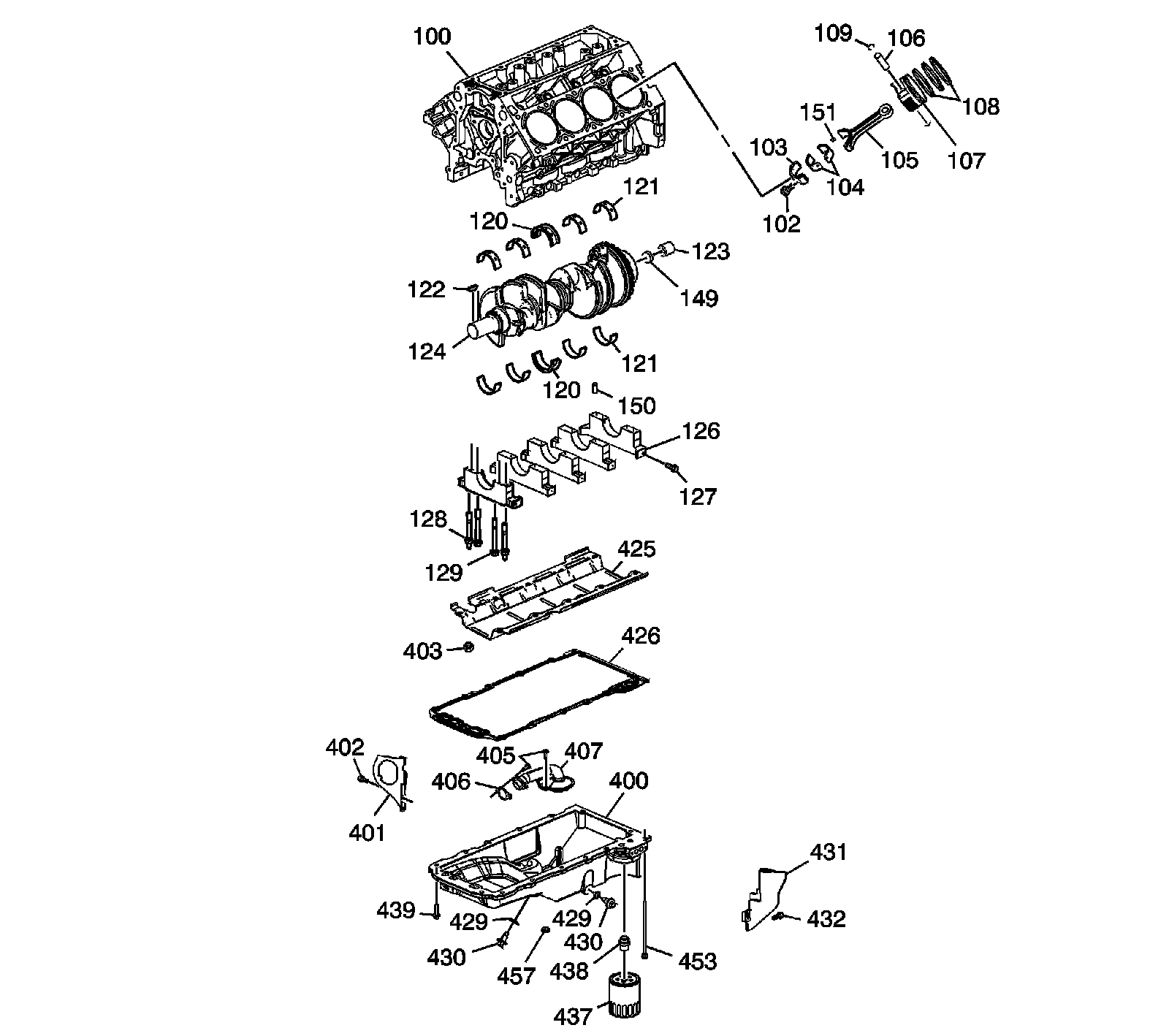
Lower Engine Assembly




100 - Engine Block
102 - Bolt
103 - Connecting Rod Cap
104 - Connecting Rod Bearing
105 - Connecting Rod
106 - Piston Pin
107 - Piston
108 - Piston Ring Set
109 - Piston Pin Retainer
120 - Crankshaft Bearing - Thrust
120 - Crankshaft Bearing - Thrust
121 - Crankshaft Bearing
121 - Crankshaft Bearing
122 - Crankshaft Sprocket Key
123 - Transmission Pilot Bearing
124 - Crankshaft
126 - Crankshaft Bearing Cap
127 - Bolt - M8
128 - Stud - M10
129 - Bolt - M10
149 - Crankshaft Hole Plug
150 - Crankshaft Bearing Cap Locating Pin
151 - Connecting Rod Cap Locating Pin
400 - Oil Pan
401 - Engine Cover - Right
402 - Bolt
403 - Crankshaft Oil Deflector Nut
405 - Bolt
406 - Oil Pump Suction Pipe Gasket
407 - Oil Pump Screen
425 - Crankshaft Oil Deflector
426 - Oil Pan Gasket
429 - Oil Pan Drain Plug Seal - O-Ring
429 - Oil Pan Drain Plug Seal - O-Ring
430 - Oil Pan Drain Plug
430 - Oil Pan Drain Plug
431 - Oil Pan Cover - Left
432 - Bolt
437 - Oil Filter
438 - Oil Filter Fitting
439 - Bolt - M8
453 - Bolt - M6
457 - Oil Pan Hole Plug

Engine Block Plugs/Sensors




100 - Engine Block
100 - Engine Block
101 - Engine Block Oil Gallery Plug - Front
110 - Engine Block Oil Gallery Plug Seal
111 - Engine Block Oil Gallery Plug - Rear
112 - Engine Block Oil Gallery Plug - Side
113 - Engine Block Oil Gallery Plug Seal
114 - Engine Block Coolant Heater
115 - Engine Block Coolant Heater Seal
116 - Engine Block Oil Gallery Plug - Side
117 - Engine Block Oil Gallery Plug Seal
130 - Transmission Locating Pin
145 - Engine Block Coolant Drain Hole Plug Seal
146 - Engine Block Coolant Drain Hole Plug - Side
701 - Crankshaft Position (CKP) Sensor
702 - CKP Sensor Seal
718 - Knock Sensor
718 - Knock Sensor
739 - Bolt
739 - Bolt
750 - CKP Sensor Bolt

Oil Pump Assembly




408 - Bolt
409 - Oil Pump Cover
410 - Oil Pump Gear - Drive
410 - Oil Pump Gear - Drive
412 - Oil Pump Gear - Driven
412 - Oil Pump Gear - Driven
413 - Oil Pump Housing - Primary
414 - Oil Pressure Relief Valve
415 - Oil Pressure Relief Valve Spring
416 - Oil Pressure Relief Valve Plug
456 - Oil Pump Housing - Secondary

Engine Oil Tank Assembly




1 - Oil Level Indicator
2 - Bolt/Stud
3 - Oil Fill Cap
4 - Bolt
5 - Engine Oil Tank - Top
6 - O-ring
7 - O-ring
8 - Tube
9 - Clamp
10 - Engine Oil Tank - Small
11 - Engine Oil Temperature Sensor
12 - Oil Transfer Tube Fitting
13 - Oil Transfer Tube
14 - Oil Transfer Tube Fitting
15 - Bracket
16 - Bolt
17 - Bolt
18 - Bracket
19 - Screen
20 - Engine Oil Tank - Large