lemon-mirror:
Home >> Chevrolet >> 2008 >> Uplander V6-3.9L >> Repair and Diagnosis >> Diagrams >> Components >> Powertrain Component Views

Powertrain Component Views



Powertrain Component Views

Engine Electrical Components




1 - Fuse Block - Underhood (Battery Stud)
2 - G102
3 - Battery Current Sensor
4 - Generator
5 - Automatic Transmission
6 - G113
7 - G115 (Battery Cable)
8 - G115
9 - Starter Motor
10 - Battery

Front of Engine Components (LGD/LZ9)




1 - Intake Manifold Tuning (IMT) Solenoid Valve
2 - Evaporative Emission (EVAP) Canister Purge Solenoid Valve
3 - Throttle Actuator Control (TAC) Module
4 - Knock Sensor (KS) 2
5 - Starter Solenoid
6 - Starter Motor
7 - Engine Oil Pressure (EOP) Sensor
8 - Camshaft Position (CMP) Actuator Solenoid
9 - Camshaft Position (CMP) Sensor

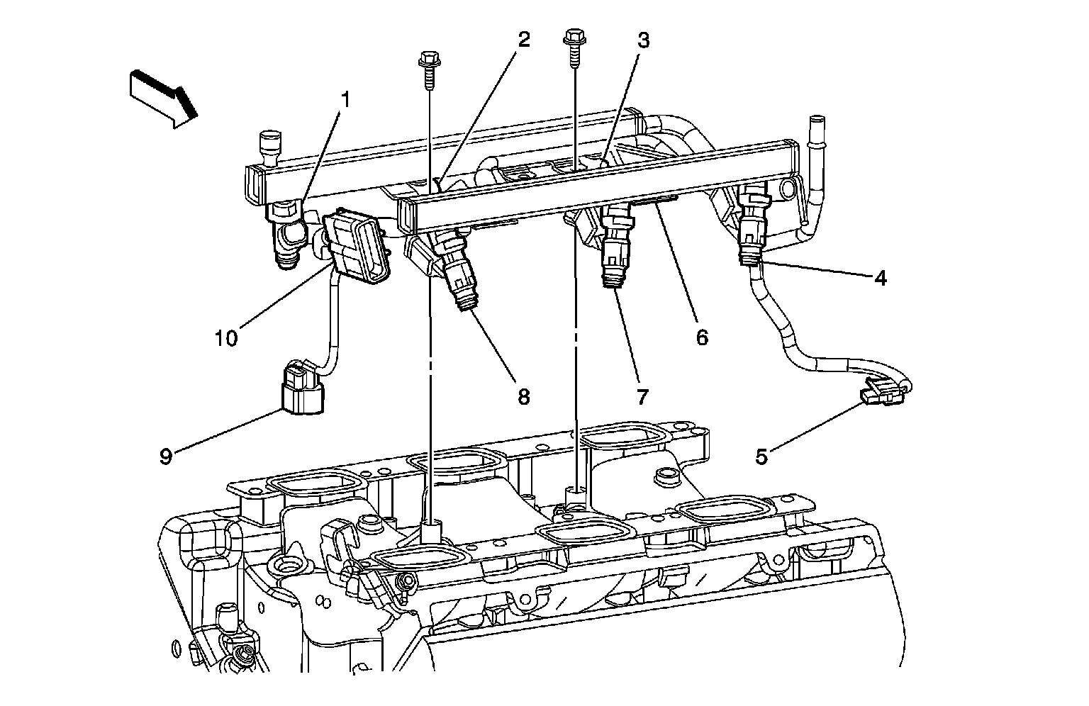
Fuel Rail Components (LGD/LZ9)




1 - Fuel Injector 1
2 - Fuel Injector 3
3 - Fuel Injector 5
4 - Fuel Injector 6
5 - Engine Coolant Temperature (ECT) Sensor
6 - J142
7 - Fuel Injector 4
8 - Fuel Injector 2
9 - Crankshaft Position (CKP) Sensor
10 - X102

Air Intake System Components (LGD/LZ9)




1 - Mass Air Flow (MAF)/ Intake Air Temperature (IAT) Sensor
2 - Engine Control Module (ECM)

Rear of Engine Components (LGD/LZ9)




1 - Throttle Actuator Control (TAC) Module
2 - Manifold Absolute Pressure (MAP) Sensor
3 - Ignition Control Module (ICM)
4 - Heated Oxygen Sensor (HO2S) 1
5 - Knock Sensor (KS) 1
6 - Block Heater
7 - Crankshaft Position (CKP) Sensor
8 - Engine Oil Level Switch
9 - Engine Coolant Temperature (ECT) Sensor

Engine Exhaust Components (LGD/LZ9)




1 - Heated Oxygen Sensor (HO2S) 2
2 - Catalytic Converter

Internal Electronic Component Locations

Internal Electronic Component Location:




10 - Vehicle Speed Sensor (VSS) Assembly
315a - 1-2, 3-4 Shift Solenoid (SS) Valve Assembly
315b - 2-3 Shift Solenoid (SS) Valve Assembly
322 - Pressure Control (PC) Solenoid Valve Assembly
334 - Torque Converter Clutch Pulse Width Modulation (TCC PWM) Solenoid Valve Assembly
391 - Transmission Fluid Temperature (TFT) Sensor
395 - Transmission Fluid Pressure (TFP) Manual Valve Position Switch Assembly
440 - Automatic Transmission Input Shaft Speed (A/T ISS) Sensor Assembly
811 - Lever Assembly-Manual Shaft Detent with Shift Position Switch - Internal Mode Switch (IMS)