lemon-mirror:
Home >> Chevrolet >> 2008 >> Impala V6-3.9L >> Repair and Diagnosis >> Diagrams >> Connector Views >> Electronic Brake Control Module

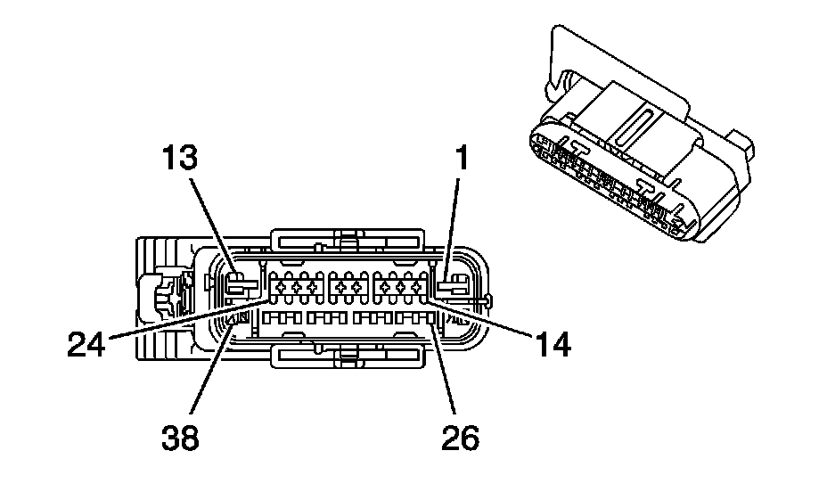
Electronic Brake Control Module



Component Connector End Views

Electronic Brake Control Module (EBCM) (without JL4)














Electronic Brake Control Module (EBCM) (JL4)