lemon-mirror:
Home >> Chevrolet >> 2008 >> HHR L4-2.2L >> Repair and Diagnosis >> Specifications >> Mechanical Specifications >> Engine >> Thread Repair Specifications

Thread Repair Specifications



Thread Repair Specifications

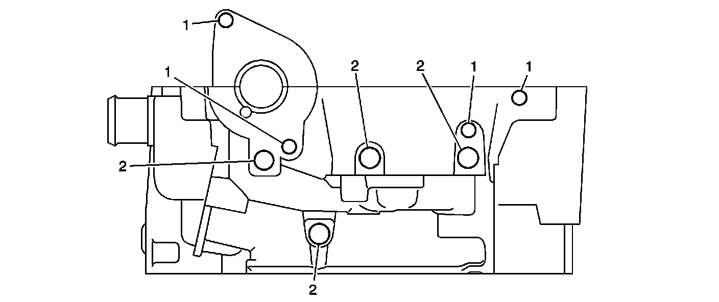
Engine Block - Front View

Engine Block - Front View:










Engine Block - Back View

Engine Block - Back View:










Engine Block - Left Side View

Engine Block - Left Side View:










Engine Block - Bottom View

Engine Block - Bottom View:










Engine Block - Right Side View

Engine Block - Right Side View:










Engine Block - Top View

Engine Block - Top View:










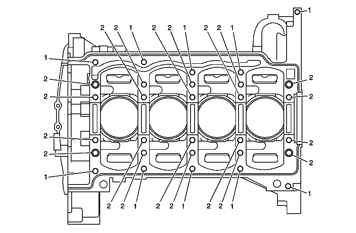
Lower Crankcase - Front View

Lower Crankcase - Front View:










Lower Crankcase - Back View

Lower Crankcase - Back View:










Lower Crankcase - Bottom View

Lower Crankcase - Bottom View:










Lower Crankcase - Left View

Lower Crankcase - Left View:










Lower Crankcase - Right View

Lower Crankcase - Right View:










Cylinder Head - Top View

Cylinder Head - Top View:










Cylinder Head - Intake Manifold Deck View

Cylinder Head - Intake Manifold Deck View:










Cylinder Head - Exhaust Manifold Deck View

Cylinder Head - Exhaust Manifold Deck View:










Cylinder Head - Front View

Cylinder Head - Front View:










Cylinder Head - Back View

Cylinder Head - Back View:










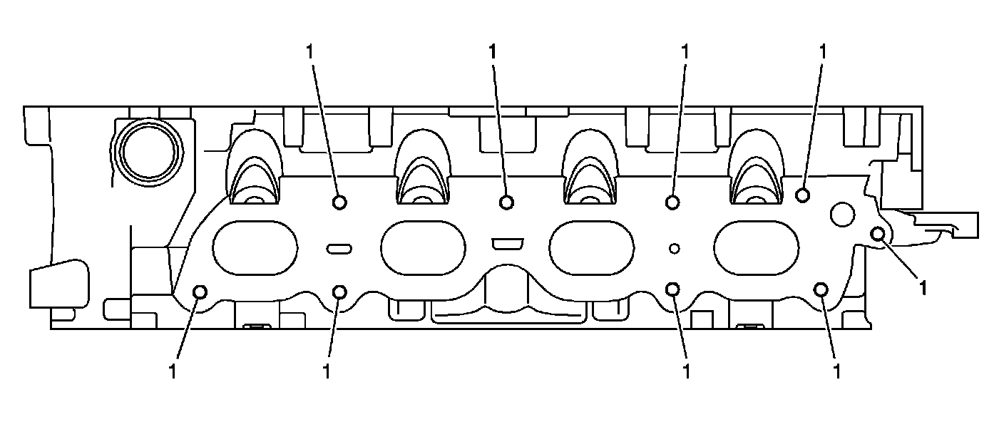
Cylinder Head - Bottom View

Cylinder Head - Bottom View: