lemon-mirror:
Home >> Chevrolet >> 2008 >> HHR L4-2.2L >> Repair and Diagnosis >> Diagrams >> Exploded Views >> Automatic Transmission/Transaxle >> System Diagram >> Disassembled Views

Disassembled Views



Disassembled Views

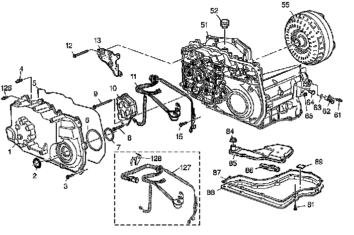
Case and Associated Parts (1 of 3)

Case and Associated Parts:




1 - Side Cover (Structural)
2 - Axle Oil Seal
3 - Side Cover Bolt
4 - Side Cover Stud
5 - Side Cover Gasket
6 - Side Cover Oil Level Control Gasket
7 - Thrust Washer (Side Cover to Driven Sprocket)
8 - Oil Pump Bolt
9 - Oil Pump Bolt
10 - Transaxle Oil Pump Assembly
11 - Transaxle Wiring Assembly
12 - TFP Manual Valve Position Switch Assembly Bolt
13 - TFP Manual Valve Position Switch Assembly
14 - Wiring Harness Pass-Through Connector O-Ring Seal
15 - Wiring Harness Bracket Bolt/Input Speed Sensor Bolt
51 - Transaxle Case
52 - Vent Cap
55 - Torque Converter Assembly
61 - Output Speed Sensor Stud
62 - Output Shaft Speed Sensor
63 - O-Ring Seal (Output Speed Sensor)
64 - Band Anchor Pin (Lo/Reverse)
65 - Oil Level Control Plug
81 - Tube Assembly Bolt/Bottom Pan Bolt
84 - Transaxle Oil Filter Seal
85 - Transaxle Oil Filter Assembly
86 - Oil Level Control Valve
87 - Transaxle Bottom Pan Gasket
88 - Transaxle Oil Pan
89 - Chip Collector Magnet
126 - Side Cover Stud
127 - Transmission Wiring Harness Assembly (Some Models)
128 - Electrical Connector Retaining Bracket (Some Models)

Case and Associated Parts (2 of 3)

Case and Associated Parts:




16 - Control Valve Body Bolt
18 - Control Valve Body Assembly
19 - Oil Pump Drive Shaft
20 - Spacer Plate Support Bolt
21 - Spacer Plate Support
22 - Control Valve Body to Spacer Plate Gasket
23 - Control Valve Body Spacer Plate - Model Dependent
24 - Spacer Plate to Channel Plate Gasket
25 - Channel Plate Bolt/Servo Cover Bolt
25 - Channel Plate Bolt/Servo Cover Bolt
25 - Channel Plate Bolt/Servo Cover Bolt
26 - Checkballs (7)
27 - Channel Plate
28 - Case To Channel Plate Gasket
29 - Accumulator Piston (1-2, 2-3 and 3-4)
29 - Accumulator Piston (1-2, 2-3 and 3-4)
29 - Accumulator Piston (1-2, 2-3 and 3-4)
30 - Accumulator Piston Seal (1-2, 2-3 and 3-4)
30 - Accumulator Piston Seal (1-2, 2-3 and 3-4)
30 - Accumulator Piston Seal (1-2, 2-3 and 3-4)
31 - 1-2 Accumulator Piston Spring
32 - 2-3 and 3-4 Accumulator Piston Spring
32 - 2-3 and 3-4 Accumulator Piston Spring
45 - Dowel Pin
47 - 2-3 Accumulator Piston Cushion Spring
48 - Line Pressure Tap Plug
49 - Cooler Pipe Seal
51 - Transaxle Case
66 - Servo Return Spring (Lo/Reverse)
67 - Servo Apply Pin (Lo/Reverse)
68 - Servo Cushion Spring
68 - Servo Cushion Spring
69 - Servo Piston (Lo/Reverse)
70 - Servo Snap Ring
70 - Servo Snap Ring
71 - Servo Piston Seal (Lo/Reverse)
72 - Servo Cover Seal (Lo/Reverse)
73 - Servo Cover (Lo/Reverse)
75 - Servo Return Spring (Intermediate/4th)
76 - Servo Apply Pin (Intermediate/4th)
77 - Servo Piston (Intermediate/4th)
78 - Servo Piston Seal (Intermediate/4th)
79 - Servo Cover Seal (Intermediate/4th)
80 - Servo Cover (Intermediate/4th)
81 - Tube Assembly Bolt/Bottom Pan Bolt
81 - Tube Assembly Bolt/Bottom Pan Bolt
81 - Tube Assembly Bolt/Bottom Pan Bolt
82 - Oil Feed Tube Assembly Seal
82 - Oil Feed Tube Assembly Seal
82 - Oil Feed Tube Assembly Seal
82 - Oil Feed Tube Assembly Seal
83 - Oil Feed Tube Assembly
125 - 1-2 Accumulator Piston Cushion Spring and Retainer Assembly

Case and Associated Parts (3 of 3)

Case and Associated Parts:




2 - Axle Oil Seal
15 - Wiring Harness Bracket Bolt/Input Speed Sensor Bolt
33 - Turbine Shaft To Channel Plate Sleeve Seal
34 - Thrust Washer (Channel Plate to Drive Sprocket)
35 - Snap Ring (Turbine Shaft To Drive Sprocket)
36 - Drive Link Assembly
37 - Drive Sprocket
38 - Thrust Washer (Drive Sprocket to Support)
39 - Turbine Shaft
40 - Turbine Shaft to Support Seal
41 - O-Ring Seal (Torque Converter)
42 - Drive Sprocket Support Bearing
43 - Drive Sprocket Support
44 - Drive Sprocket Support Bushing
46 - Input Speed Sensor
51 - Transaxle Case
53 - Drive Sprocket Support Screw
54 - Converter Seal
56 - Output/Stub Shaft Sleeve
56 - Output/Stub Shaft Sleeve
57 - Output/Stub Shaft Snap Ring
57 - Output/Stub Shaft Snap Ring
57 - Output/Stub Shaft Snap Ring
58 - Output Stub Shaft
60 - Case To Final Drive Bushing
91 - Driven Sprocket
92 - Thrust Washer (Driven Sprocket to Support)
94 - Output Shaft
95 - Driven Sprocket Support Assembly
96 - 2nd Clutch Plate (Waved)
97 - 2nd Clutch Plate (Steel)
98 - 2nd Clutch Plate (Fiber)
99 - 2nd Clutch Plate (Backing)
100 - Intermediate/4th Band
101 - Thrust Washer (Support To Reverse Input Clutch)
102 - Reverse Input Clutch Assembly
103 - Thrust Bearing
104 - Thrust Washer (Selective)
105 - Direct and Coast Clutch Assembly
106 - Input Carrier Assembly
107 - Thrust Bearing
108 - Input Flange and Forward Clutch Hub Assembly
109 - Thrust Washer
110 - Forward Clutch Assembly
111 - Lo/Reverse Band
112 - Snap Ring (Forward Clutch Support to Case)
113 - Thrust Bearing
114 - Forward Clutch Support Assembly
115 - Final Drive Sun Gear
116 - Differential and Final Drive Assembly
117 - Thrust Bearing
118 - Final Drive Internal Gear
119 - Internal Gear to Case Fretting Ring

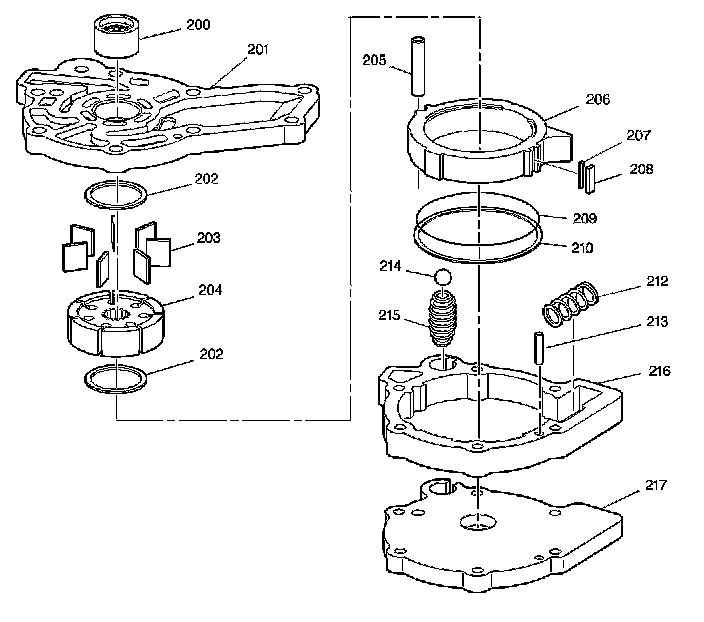
Oil Pump Assembly

Oil Pump Assembly:




200 - Oil Pump Bearing and Seal Assembly
201 - Oil Pump Base
202 - Oil Pump Vane Ring
202 - Oil Pump Vane Ring
203 - Oil Pump Vane
204 - Oil Pump Rotor
205 - Pivot Pin (Oil Pump Slide)
206 - Oil Pump Slide
207 - Oil Pump Slide Seal Support
208 - Oil Pump Slide Seal
209 - O-Ring Seal (Oil Pump Slide)
210 - Fluid Seal Ring (Slide to Body)
212 - Oil Pump Priming Spring
213 - Locating Pin
214 - Pressure Relief Ball
215 - Pressure Relief Spring
216 - Oil Pump Body
217 - Pump Cover

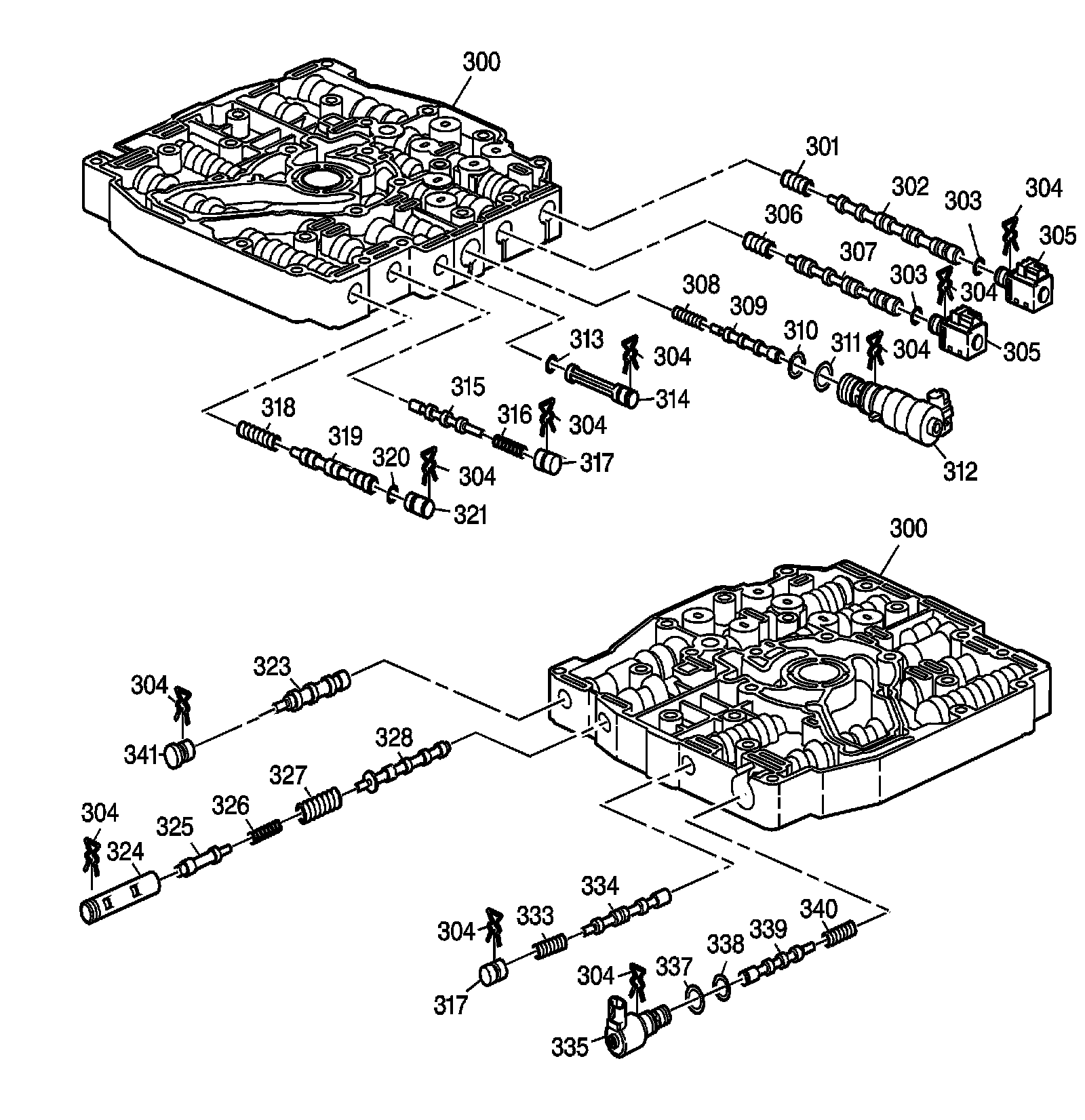
Control Valve Body Assembly

Control Valve Body Assembly:




300 - Control Valve Body Assembly
300 - Control Valve Body Assembly
301 - 1-2 Shift Valve Spring
302 - 1-2 Shift Valve
303 - Shift Solenoid O-Ring (1-2 and 2-3)
303 - Shift Solenoid O-Ring (1-2 and 2-3)
304 - Retainer Clip
304 - Retainer Clip
304 - Retainer Clip
304 - Retainer Clip
304 - Retainer Clip
304 - Retainer Clip
304 - Retainer Clip
304 - Retainer Clip
304 - Retainer Clip
304 - Retainer Clip
305 - Shift Solenoid (1-2 and 2-3)
305 - Shift Solenoid (1-2 and 2-3)
306 - 2-3 Shift Valve Spring
307 - 2-3 Shift Valve
308 - Torque Signal Regulator Valve Spring
309 - Torque Signal Regulator Valve
310 - Pressure Control Solenoid O-Ring
311 - Pressure Control Solenoid O-Ring
312 - Pressure Control Solenoid
313 - Actuator Oil Filter O-Ring
314 - Actuator Oil Filter
315 - Actuator Feed Limit Valve
316 - Actuator Feed Limit Valve Spring
317 - Bore Plug
318 - 3-4 Shift Valve Spring
319 - 3-4 Shift Valve
320 - 3-4 Shift Valve Plug O-Ring
321 - Bore Plug
323 - 1-2/3-4 Accumulator Valve
324 - Pressure Regulator Boost Valve Bushing
325 - Pressure Regulator Boost Valve
326 - Isolator Spring
327 - Pressure Regulator Valve Spring
328 - Pressure Regulator Valve
333 - TCC Control Valve Spring
334 - TCC Control Valve
335 - TCC Control PWM Solenoid
337 - TCC Control Solenoid O-Ring
338 - TCC Control Solenoid O-Ring
339 - TCC Regulated Apply Valve
340 - TCC Regulated Apply Valve Spring
341 - Bore Plug

Driven Sprocket Support Assembly and 2nd Clutch

Driven Sprocket Support Assembly and 2nd Clutch:




400 - Driven Sprocket Support Bearing
401 - Driven Sprocket Support
402 - Driven Sprocket Support Bushing
403 - Oil Seal Ring
404 - 2nd Clutch Piston Assembly
405 - 2nd Clutch Spring Assembly
406 - 2nd Clutch Spring Retaining Ring
407 - Reverse Intermediate Clutch Housing Valve Assembly

Reverse Input Clutch Assembly

Reverse Input Clutch Assembly:




450 - 2nd Roller Clutch Retainer
451 - 2nd Roller Clutch Cam
452 - 2nd Roller Clutch Assembly
453 - Reverse Clutch Bushing
454 - Reverse Clutch Housing
455 - Reverse Clutch Bushing
456 - Reverse Clutch Center Retainer and Seal Assembly
457 - Reverse Clutch Piston Assembly
458 - Reverse Clutch Spring and Retainer Assembly
459 - Snap Ring (Reverse Clutch Spring Retainer)
460 - Reverse Clutch Plate (Waved)
461 - Reverse Clutch Plate (Steel)
462 - Reverse Clutch Plate (Fiber)
463 - Reverse Clutch Backing Plate
464 - Snap Ring (Reverse Clutch)

Direct and Coast Clutch Assemblies

Direct and Coast Clutch Assemblies:




500 - Input Shaft Oil Seal Ring
501 - Input Shaft Bushing
502 - Direct and Coast Clutch and Input Shaft Housing
503 - Direct Clutch Housing to Output Shaft Bushing
504 - Coast Clutch Piston Assembly
505 - Coast Clutch Release Spring
506 - Coast Clutch Spring Retainer
507 - Snap Ring (Coast Clutch Spring Retainer)
508 - Coast Clutch Plate (Steel)
509 - Coast Clutch Plate (Fiber)
510 - Thrust Bearing
511 - Input Sun Gear Shaft and Inner Race Assembly
512 - Outer Race (Input Sprag)
514 - Sprag Clutch End Bearings (2)
514 - Sprag Clutch End Bearings (2)
515 - Input Sprag Assembly
516 - Snap Ring (Outer Race to Sprag Assembly)
517 - Snap Ring (Direct/Coast Clutch Retaining)
518 - Direct Clutch Piston Assembly
519 - Direct Clutch Spring and Retainer Assembly
520 - Direct Clutch Spring Retainer Ring
521 - Direct Clutch Plate (Steel)
522 - Direct Clutch Plate (Fiber)
523 - Direct Clutch Plate (Backing)
524 - Thrust Bearing
525 - Reaction Carrier Shaft Bushing
526 - Reaction Carrier Shaft Shell
527 - Thrust Bearing (Carrier Shaft to Shell)
528 - Reaction Sun Gear Bushing
529 - Reaction Sun Shell
531 - Reaction Carrier Assembly
532 - Thrust Bearing (Reaction Carrier to Sun Gear)
533 - Input Sun Gear
534 - Snap Ring

Reaction Carrier Assembly

Reaction Carrier Assembly:




550 - Reaction Carrier
551 - Thrust Bearing
552 - Planetary Pinion Gear Pin
553 - Pinion Thrust Reaction Washer
553 - Pinion Thrust Reaction Washer
554 - Pinion Thrust Inner Washer
554 - Pinion Thrust Inner Washer
555 - Roller Needle Bearing
556 - Reaction Planetary Pinion Gear

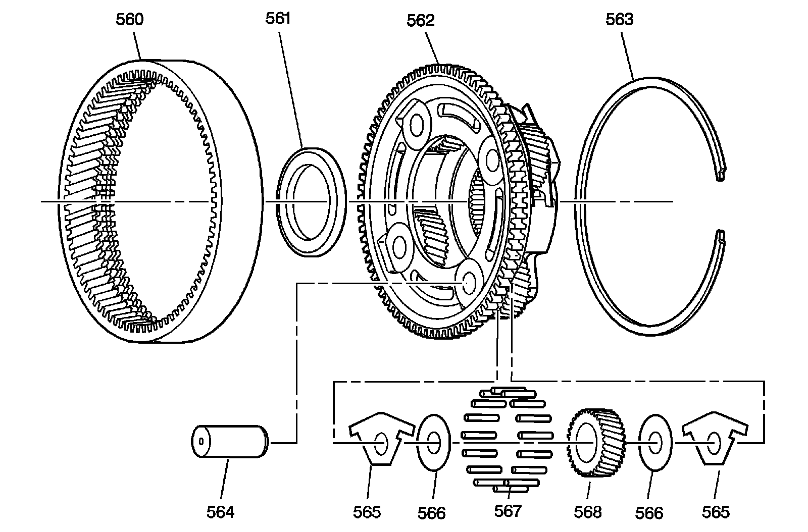
Input Carrier Assembly




560 - Internal Gear (Input and Reaction)
561 - Thrust Bearing
562 - Input Carrier
563 - Snap Ring (Input Carrier to Internal Gear)
564 - Planetary Pinion Gear Pin
565 - Pinion Thrust Input Washer
565 - Pinion Thrust Input Washer
566 - Pinion Thrust Inner Washer
566 - Pinion Thrust Inner Washer
567 - Roller Needle Bearing
568 - Input Planetary Pinion Gear

Input Internal Gear and Forward Clutch Hub

Input Internal Gear and Forward Clutch Hub:




560 - Internal Gear (Input and Reaction)
575 - Input Flange Bushing
577 - Input Flange and Forward Clutch Hub
578 - Snap Ring (Input Internal Gear to Input Flange)

Forward Clutch Assembly

Forward Clutch Assembly:




600 - Snap Ring (Forward Clutch)
601 - Forward Clutch Plate (Backing)
602 - Forward Clutch Plate (Fiber)
603 - Forward Clutch Plate (Steel)
604 - Forward Clutch Plate (Waved)
605 - Snap Ring (Forward Clutch Spring Assembly)
606 - Forward Clutch Return Spring Assembly
607 - Forward Clutch Piston Assembly
608 - Forward Clutch Inner Seal and Sleeve Assembly
609 - Forward Clutch Housing
610 - Forward Clutch Support Bushing
611 - Forward Clutch Support Bushing

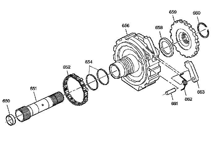
Forward Clutch Support Assembly

Forward Clutch Support Assembly:




650 - Final Drive Sun Shaft Bushing
651 - Final Drive Sun Shaft
652 - Lo Roller Clutch Assembly
654 - Oil Seal Ring (Forward Clutch Support)
656 - Forward Clutch Support
658 - Thrust Bearing (Forward Support to Park Gear)
659 - Park Lock Gear
660 - Snap Ring (Final Drive Sun Shaft)
661 - Parking Lock Pawl Shaft
662 - Parking Lock Pawl Return Spring
663 - Parking Lock Pawl

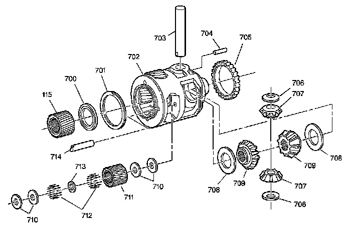
Final Drive and Differential Assembly

Final Drive and Differential Assembly:




115 - Sun Gear (Final Drive)
700 - Thrust Bearing
701 - Spiral Pin Retaining Ring
702 - Differential and Final Drive Carrier
703 - Differential Pinion Shaft
704 - Differential Pinion Shaft Retaining Pin
705 - Speed Sensor Rotor
706 - Thrust Washer (Differential Pinion)
706 - Thrust Washer (Differential Pinion)
707 - Differential Pinion Gear
707 - Differential Pinion Gear
708 - Thrust Washer (Differential Side Gear)
708 - Thrust Washer (Differential Side Gear)
709 - Differential Side Gear
709 - Differential Side Gear
710 - Pinion Thrust Washer
710 - Pinion Thrust Washer
711 - Pinion Gear (Final Drive Planetary)
712 - Roller Needle Bearing
713 - Pinion Needle Bearing Spacer
714 - Planetary Pinion Gear Pin

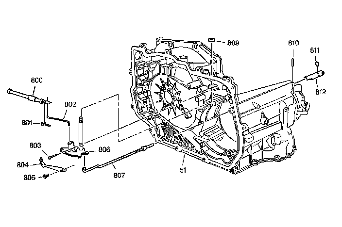
Manual Shaft, Parking Pawl and Actuator Assembly

Manual Shaft, Parking Pawl and Actuator Assembly:




51 - Transaxle Case
800 - Manual Valve
801 - Manual Valve to Link Clip
802 - Manual Valve to Detent Lever Link
803 - Manual Shaft to Case Pin
804 - Manual Detent Spring and Roller Assembly
805 - Spring and Roller Assembly to Channel Plate Bolt
806 - Manual Shaft and Detent Lever Assembly
807 - Parking Lock Actuator Assembly
809 - Manual Shaft to Case Seal
810 - Actuator Guide Spring Pin
811 - Actuator Guide Seal
812 - Actuator Guide