lemon-mirror:
Home >> Chevrolet >> 2008 >> Express 2500 V8-6.6L DSL Turbo >> Repair and Diagnosis >> Powertrain Management >> Computers and Control Systems >> Engine Control Module >> Diagrams >> Connector Views

Connector Views



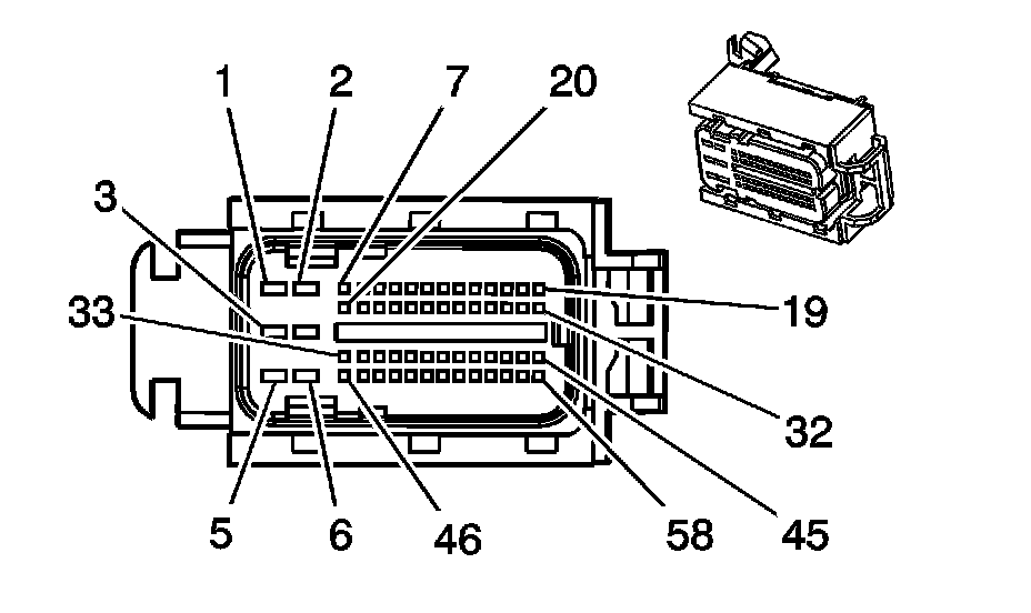
Component Connector End Views

Engine Control Module (ECM) X1 (6.6L)









Engine Control Module (ECM) X1 (6.6L) (Pin 1 To 46):





Engine Control Module (ECM) X1 (6.6L) (Pin 47 To 96):






Engine Control Module (ECM) X2 (6.6L)









Engine Control Module (ECM) X2 (6.6L) (Pin 1 To 49):





Engine Control Module (ECM) X2 (6.6L) (Pin 50 To 58):