lemon-mirror:
Home >> Chevrolet >> 2008 >> Express 2500 V8-6.6L DSL Turbo >> Repair and Diagnosis >> Diagrams >> Connector Views >> Glow Plug Control Module

Glow Plug Control Module



Component Connector End Views

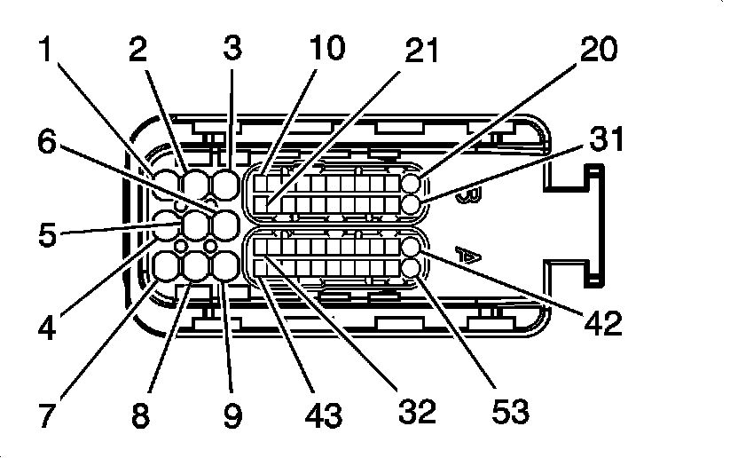
Glow Plug Control Module (GPCM) X1 (6.6L)














Glow Plug Control Module (GPCM) X2 (6.6L)