lemon-mirror:
Home >> Chevrolet >> 2008 >> Express 2500 V8-4.8L >> Repair and Diagnosis >> Specifications >> Mechanical Specifications >> Engine >> System Specifications >> Thread Repair Specifications

Thread Repair Specifications



Thread Repair Specifications

Engine Block - Front/Rear Views

Engine Block:










Engine Block - Left/Right Side Views

Engine Block:










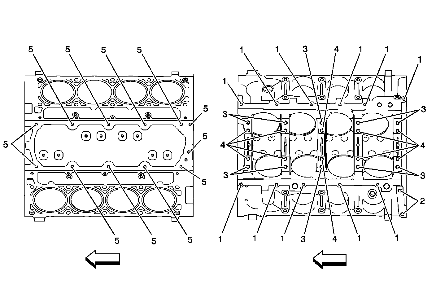
Engine Block - Top/Bottom Views

Engine Block:










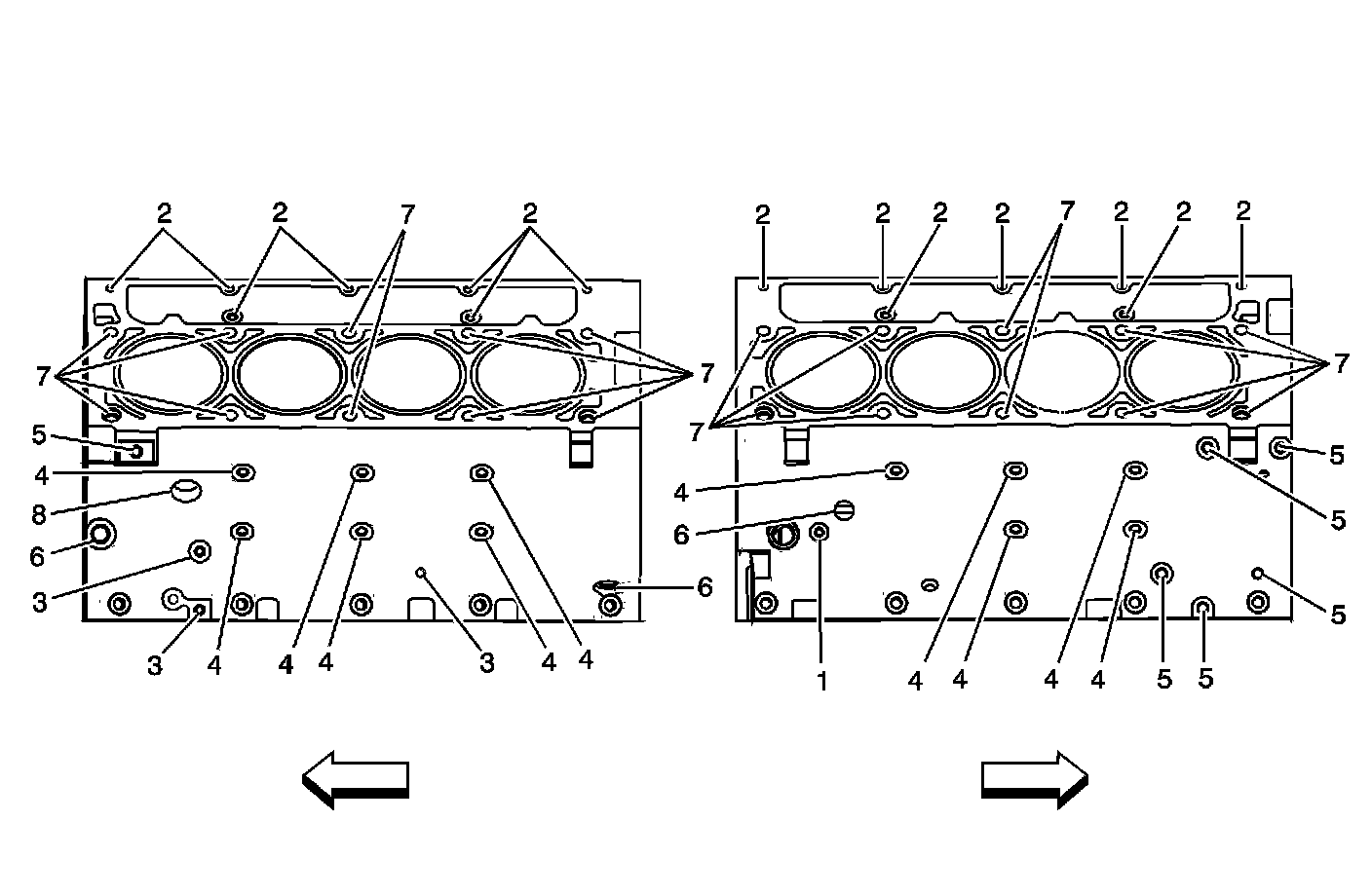
Cylinder Head - Top/End Views

Cylinder Head:










Cylinder Head - Intake/Exhaust Side Views

Cylinder Head: