lemon-mirror:
Home >> Chevrolet >> 2008 >> Express 2500 V8-4.8L >> Repair and Diagnosis >> Diagrams >> Exploded Views >> Drive/Propeller Shaft

Drive/Propeller Shaft



Driveline Disassembled Views

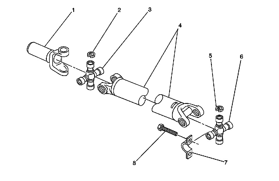
One-Piece Propeller Shaft

One-Piece Propeller Shaft:




1 - Propeller Shaft Slip Yoke
2 - Propeller Shaft Universal Joint Spider Bearing Retainer Ring
3 - Propeller Shaft Universal Joint
4 - Propeller Shaft Tube
5 - Propeller Shaft Universal Joint Spider Bearing Retainer Ring
6 - Propeller Shaft Universal Joint
7 - Propeller Shaft Bearing Retainer
8 - Propeller Shaft Bearing Retainer Bolt

Two-Piece Propeller Shaft




1 - Propeller Shaft Slip Yoke
2 - Propeller Shaft Universal Joint Spider Bearing Retainer Ring
3 - Propeller Shaft Tube
4 - Propeller Shaft Universal Joint Spider Bearing Retainer Ring
5 - Propeller Shaft Universal Joint
6 - Propeller Shaft Outer Tube
7 - Propeller Shaft Boot Clamp (81.5 mm)
8 - Propeller Shaft Outer Tube Bushing
9 - Propeller Shaft Boot
10 - Propeller Shaft Boot Clamp (81.5 mm)
11 - Propeller Shaft Rear Inner Tube
12 - Propeller Shaft Universal Joint Spider Bearing Retainer Ring
13 - Propeller Shaft Universal Joint
14 - Propeller Shaft Bearing Support Bracket
15 - Propeller Shaft Universal Joint

Front Propeller Shaft

Front Propeller Shaft:




1 - Propeller Shaft Universal Joint
2 - Propeller Shaft Tube
3 - Propeller Shaft Universal Joint
4 - Propeller Shaft Slip Yoke
5 - Propeller Shaft Rear Slip Yoke Boot Clamp - Front
6 - Propeller Shaft Rear Slip Yoke Boot