lemon-mirror:
Home >> Chevrolet >> 2008 >> Express 1500 RWD V6-4.3L >> Repair and Diagnosis >> Diagrams >> Connector Views >> Engine Control Module

Engine Control Module



Component Connector End Views

Engine Control Module (ECM) X1 (4.3L)









Engine Control Module (ECM) X1 (4.3L) (Pin 1 To 27):





Engine Control Module (ECM) X1 (4.3L) (Pin 28 To 73):






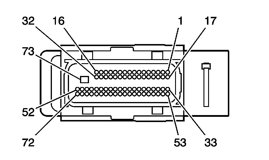
Engine Control Module (ECM) X2 (4.3L)









Engine Control Module (ECM) X2 (4.3L) (Pin 1 To 53):





Engine Control Module (ECM) X2 (4.3L) (Pin 54 To 73):