lemon-mirror:
Home >> Chevrolet >> 2008 >> Express 1500 AWD V8-5.3L >> Repair and Diagnosis >> Diagrams >> Exploded Views >> Automatic Transmission/Transaxle >> Disassembled Views

Disassembled Views



Disassembled Views

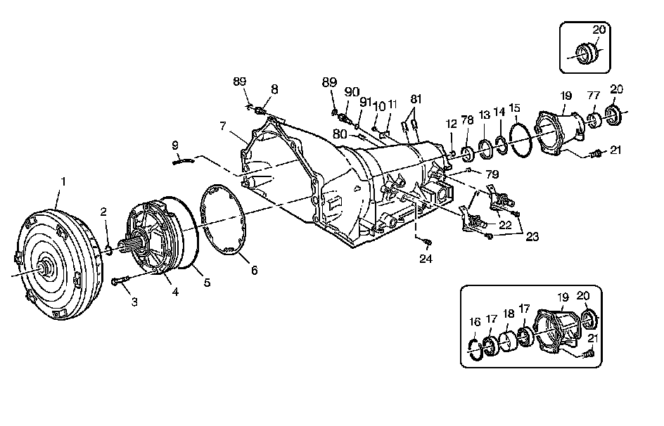
Case and Associated Parts (1 of 3)

Case and Associated Parts (1 of 3):




1 - Torque Converter Assembly
2 - Turbine Shaft Front Oil Seal Ring
3 - A/Trans O/Pump Bolt and Seal Assembly
4 - A/Trans Oil Pump Assembly
5 - A/Trans Oil Pump Seal
6 - A/Trans Oil Pump Gasket
7 - A/Trans Case Assembly
8 - Transmission Oil Cooler Pipe Connector
9 - Vent Pipe
10 - Nameplate Pin
11 - A/Trans Name Plate
12 - Orifice Lube Oil - 2WD Plug Case - 4WD
13 - Output Shaft Seal
14 - Output Shaft Seal Retainer Ring
15 - Case Extension Seal
16 - Bearing Retainer Ring
17 - Ball Bearing Assembly
17 - Ball Bearing Assembly
18 - Bearing Spacer
19 - Case Extension Assembly
19 - Case Extension Assembly
20 - Prop Shaft Front Slip Yoke Oil Seal Assembly
20 - Prop Shaft Front Slip Yoke Oil Seal Assembly
20 - Prop Shaft Front Slip Yoke Oil Seal Assembly
21 - Case Extension Bolt
21 - Case Extension Bolt
22 - A/T Input Speed and 2WD Output Speed Sensor Assembly (4WD Plug)
23 - Input Speed and Output Speed Sensor Bolt
24 - Line Pressure Test Hole Plug
77 - Prop Shaft Front Slip Yoke Bushing
78 - Output Shaft Bushing
79 - Direct Oil Gal - 0.25 Diameter Cup Plug
80 - Manual 2-1 Band Anchor Pin
81 - Low and Reverse Band Anchor Pin
89 - Transmission Oil Cooler Pipe Retainer (Some Models)
89 - Transmission Oil Cooler Pipe Retainer (Some Models)
90 - Transmission Rear Oil Cooler Pipe Fitting
91 - Transmission Rear Oil Cooler Pipe Fitting Seal

Case and Associated Parts (2 of 3)

Case and Associated Parts (2 of 3):




7 - A/Trans Case Assembly
27 - Transmission Oil Pan Bolt
28 - Transmission Oil Pan
29 - Transmission Oil Pan Gasket
30 - A/Trans Oil Pan Magnet
31 - Transmission Oil Filter Assembly
32 - Filter Neck Seal Assembly
33 - A/Trans Wiring Harness Clamp
34 - A/Trans Wiring Harness Assembly
36 - Pass Thru O-ring seal

Case and Associated Parts (3 of 3)

Case and Associated Parts (3 of 3):




7 - A/Trans Case Assembly
25 - Center Support Bolt
26 - Fourth Clutch Housing Bolt
33 - Electrical Cable Clamp
35 - Control Valve Body Assembly Bolt
35 - Control Valve Body Assembly Bolt
37 - Lube Oil Pipe Retainer
39 - Lube Oil Pipe
40 - A/T Fluid Pressure Manual Valve Position Switch
41 - Manual Shift Shaft Detent Spring Assembly
44 - Control Valve Assembly (w/Body and Valves)
45 - Control Valve Body Gasket
46 - Control Valve Body Spacer Plate
47 - Accumulator Housing Gasket
48 - Control Valve Body Spacer Plate Gasket
49 - 4th Clutch Accumulator Piston Spring
50 - 3rd Clutch Accumulator Piston Spring
51 - 3rd and 4th Clutch Accumulator Housing
53 - 3rd and 4th Clutch Accumulator Housing Bolt
54 - Control Valve Body Ball Check Valve
55 - Manual 2-1 Band Servo Piston Pin
56 - Manual 2-1 Band Servo Piston Pin Retainer Ring
57 - Manual 2-1 Band Servo Piston Seal
58 - Manual 2-1 Band Servo Piston
60 - Manual 2-1 Band Servo Piston Cushion Spring
61 - Low and Reverse Band Servo Cover Bolt
62 - Low and Reverse Band Servo Cover
63 - Low and Reverse Band Servo Cover Gasket
64 - Low and Reverse Band Servo Piston Pin Retainer Ring
65 - Low and Reverse Band Servo Piston
66 - Low and Reverse Band Servo Piston Seal
67 - Low and Reverse Accumulator Piston Outer Oil Seal Ring
68 - 1-2 Accumulator Piston
69 - Low and Reverse Accumulator Piston Inner Oil Seal Ring
71 - Low and Reverse Band Servo Piston Spring
72 - Low and Reverse Band Servo Piston Spring Retainer
73 - Low and Reverse Band Servo Piston Pin (Selective)
74 - Low and Reverse Accumulator Piston Spring
75 - TCC Solenoid Valve Screen
76 - TFP Manual Valve Position Switch Bolt
87 - Low and Reverse Band Servo Piston Spacer
88 - 1-2 Accumulator Piston Spring Assembly

Oil Pump Assembly

Oil Pump Assembly:




5 - A/Trans Oil Pump Seal
201 - Torque Converter Oil Seal Assembly
202 - Torque Converter Bushing
203 - Oil Pump Body Assembly
204 - Oil Pump Driven Gear
205 - Oil Pump Drive Gear
206 - Oil Pump Cover
207 - Oil Pump Cover Plug
207 - Oil Pump Cover Plug
207 - Oil Pump Cover Plug
207 - Oil Pump Cover Plug
208 - Converter Limit Valve Bypass Orificed Cup Plug
209 - Oil Pump Cover Plug
209 - Oil Pump Cover Plug
210 - Line Air Bleed Orificed Cup Plug
211 - Pressure Regulator Valve Bore Plug Pin
211 - Pressure Regulator Valve Bore Plug Pin
211 - Pressure Regulator Valve Bore Plug Pin
212 - Converter Regulator Valve Bore Plug
213 - Converter Regulator Valve Spring
214 - Converter Regulator Valve
215 - TCC Enable Valve Spring Retainer Sleeve
216 - TCC Enable Valve Spring
217 - TCC Enable Valve
218 - Overrun Clutch Housing Thrust Washer
219 - Overrun Clutch Housing Oil Seal Ring
220 - Oil Pump Cover Bolt
221 - TCC Shift Valve Bore Plug Retainer Ring
223 - TCC Shift Valve
224 - TCC Shift Valve Spring
225 - TCC Shift Valve Spring Seat
226 - Retainer Ring (Reverse Boost Valve Bushing)
227 - Reverse Boost Valve Bushing
228 - Reverse Boost Valve
229 - Pressure Regulator Valve Spring Retainer
230 - Pressure Regulator Valve Outer Spring
231 - Pressure Regulator Valve
232 - TCC Shift Valve Lower and Pressure Regulator Valve Bore Plug
232 - TCC Shift Valve Lower and Pressure Regulator Valve Bore Plug
233 - Turbine Shaft Front Bushing
234 - Turbine Shaft Rear Bushing
235 - Stator Shaft
236 - Pressure Regulator Valve Feedback Orificed Cup Plug
237 - Converter Limit Valve Feedback Orificed Cup Plug
238 - Pressure Regulator Valve Inner Spring
239 - Vent Passage Splash Shield

Control Valve Body Assembly (1 of 2)

Control Valve Body Assembly (1 of 2):




301 - Control Valve Body
302 - Pressure Control Solenoid Valve Fluid Filter Assembly
303 - Shift Valve Fluid Filter Bore Plug Pin
303 - Shift Valve Fluid Filter Bore Plug Pin
303 - Shift Valve Fluid Filter Bore Plug Pin
303 - Shift Valve Fluid Filter Bore Plug Pin
304 - Low-Reverse Ball Valve Seat
305 - Low-Reverse Ball Valve
305 - Low-Reverse Ball Valve
307 - 3rd Ball Valve Bushing Seal
308 - 3-4 Shift Valve
309 - 2-3, 3-4 Shift Valve Spring
309 - 2-3, 3-4 Shift Valve Spring
310 - Solenoid Bolt (1-2 and 2-3 Shift Valve)
310 - Solenoid Bolt (1-2 and 2-3 Shift Valve)
311 - 2-3 Shift Solenoid Valve Assembly
312 - 2-3 Shift Valve
313 - 1-2 Shift Solenoid Valve Assembly
314 - 1-2 Shift Valve
315 - 1-2 Shift Valve Spring
316 - Shift Valve Fluid Filter Bore Plug
317 - Shift Solenoid Valve Fluid Filter Assembly
318 - Low-Reverse Ball Valve Seat Pin
334 - Reverse Ball Valve Bushing
335 - 3rd Ball Valve Bushing

Control Valve Body Assembly (2 of 2)

Control Valve Body Assembly (2 of 2):




301 - Control Valve Body
303 - Shift Valve Accumulator Valve Bore Plug Pin
303 - Shift Valve Accumulator Valve Bore Plug Pin
310 - Pressure Control Solenoid Clamp Bolt
319 - Manual Valve
320 - Pressure Control Solenoid Valve Assembly
321 - Pressure Control Solenoid Clamp
322 - TCC PWM Solenoid Valve Retainer
323 - TCC PWM Solenoid Valve Assembly
324 - TCC Regulator Apply Valve
325 - TCC Regulator Apply Valve Spring
327 - Actuator Feed Limit Valve Spring
328 - Actuator Feed Limit Valve
329 - Accumulator Valve Bore Plug
330 - Accumulator Valve Spring
331 - Accumulator Valve
333 - Actuator Feed Limit Valve Spring Retainer

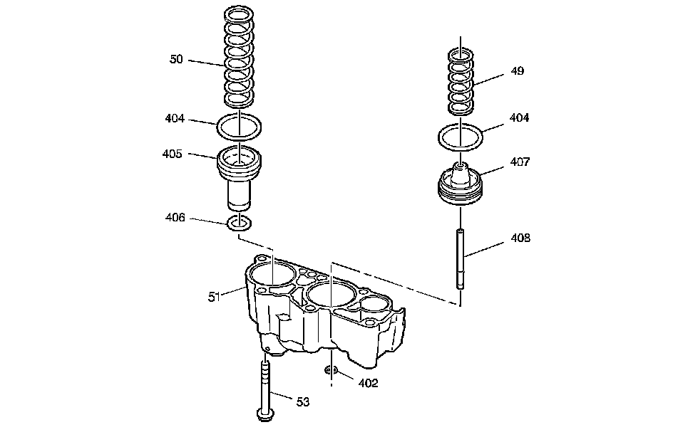
Accumulator Assembly

Accumulator Assembly:




49 - 4th Clutch Accumulator Piston Spring
50 - 3rd Clutch Accumulator Piston Spring
51 - 3rd and 4th Clutch Accumulator Housing
53 - 3rd and 4th Clutch Accumulator Housing Bolt
402 - 4th Clutch Accumulator Piston Pin Ring
404 - 3rd and 4th Clutch Accumulator Piston Seal
404 - 3rd and 4th Clutch Accumulator Piston Seal
405 - 3rd Clutch Accumulator Piston
406 - 3rd Clutch Accumulator Piston Inner Seal
407 - 4th Clutch Accumulator Piston
408 - 4th Clutch Accumulator Piston Pin

Overrun Clutch Assembly

Overrun Clutch Assembly:




501 - Turbine Shaft Intermediate Oil Seal Ring
502 - Turbine Shaft
503 - Turbine Shaft Rear Oil Seal Ring
504 - Overrun Clutch Housing Assembly
505 - Overrun Clutch Piston Assembly
506 - Overrun Clutch Spring Assembly
507 - Overrun Clutch Spring Retainer Ring
508 - Overrun Clutch Plate
509 - Overrun Clutch Plate Assembly
510 - Overrun Clutch Backing Plate
511 - Overrun Clutch Backing Plate Retainer Ring
512 - Overdrive Clutch Roller Assembly
513 - Overrun Clutch Housing Bearing Assembly
514 - Overdrive Carrier Assembly
515 - Overdrive Carrier Pinion Gear Thrust Washer
515 - Overdrive Carrier Pinion Gear Thrust Washer
516 - Overdrive Carrier Pinion Gear Washer Thrust (Steel)
516 - Overdrive Carrier Pinion Gear Washer Thrust (Steel)
517 - Overdrive Carrier Pinion Gear Roller Bearing
518 - Overdrive Carrier Pinion Gear
519 - Overdrive Carrier Pinion Gear Pin
520 - Overdrive Carrier Pinion Gear Pin Retainer
521 - Overdrive Carrier Pinion Gear Pin Retainer Retaining Ring
522 - Overdrive Carrier Retainer Ring
534 - Turbine Shaft Plug
537 - Direct Clutch Housing Ball Check Valve

Fourth Clutch Assembly

Fourth Clutch Assembly:




523 - 4th Clutch Backing Plate Retainer Ring
524 - 4th Clutch Backing Plate
525 - 4th Clutch Plate Assembly
526 - 4th Clutch Plate
527 - 4th Clutch Piston Inner Seal
528 - 4th Clutch Piston
529 - 4th Clutch Housing
530 - 4th Clutch Orifice
531 - 4th Clutch Piston Outer Seal
532 - 4th Clutch Spring Assembly
533 - 4th Clutch Spring Retainer Ring

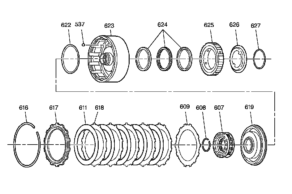
Forward Clutch Assembly

Forward Clutch Assembly:




601 - Overdrive Carrier/Forward Clutch Thrust Bearing Assembly
602 - Forward Clutch Housing Assembly
606 - Forward Clutch Piston Assembly
607 - Forward Clutch Spring Assembly
608 - Forward Clutch Spring Retainer Ring
609 - Forward Clutch (Waved) Plate
610 - Forward Clutch Plate
611 - Forward Clutch Plate Assembly
612 - Forward Clutch Housing Thrust Washer
613 - Forward Clutch Hub
614 - Direct Clutch Housing Thrust Washer
615 - Direct Clutch Hub
616 - Direct Clutch Hub Retainer Ring
685 - Forward Clutch Piston Intermediate Seal Assembly

Direct Clutch and Intermediate Sprag Assembly

Direct Clutch and Intermediate Sprag Assembly:




537 - Direct Clutch Housing Ball Check Valve
607 - Direct Clutch Spring Assembly
608 - Direct Clutch Spring Retainer Ring
609 - Direct Clutch (Waved) Plate
611 - Direct Clutch Plate Assembly
616 - Direct Clutch Backing Plate Retaining Ring
617 - Direct Clutch Backing Plate
618 - Direct Clutch Plate
619 - Direct Clutch Piston Assembly
622 - Direct Clutch Piston Intermediate Seal
623 - Direct Clutch Housing Assembly
624 - Intermediate Clutch Sprag Assembly
625 - Intermediate Clutch Roller Race (Outer)
626 - Intermediate Clutch Roller Retainer
627 - Intermediate Clutch Roller Retainer Retaining Ring

Intermediate Clutch Plates and Manual 2-1 Band Assembly

Intermediate Clutch Plates and Manual 2-1 Band Assembly:




628 - Manual 2-1 Band Assembly
629 - Intermediate Clutch Backing Plate Retainer Ring
630 - Intermediate Clutch Backing Plate
631 - Intermediate Clutch Plate Assembly
632 - Intermediate Clutch Plate
633 - Center Support Retaining Ring
684 - Intermediate Clutch Plate (Waved)

Center Support and Gear Unit Assembly

Center Support and Gear Unit Assembly:




530 - Intermediate Clutch Orifice
634 - Intermediate Clutch Spring Retainer Ring
635 - Intermediate Clutch Spring Assembly
636 - Intermediate Clutch Piston
637 - Intermediate Clutch Piston Inner Seal
638 - Intermediate Clutch Piston Outer Seal
639 - Direct Clutch Housing Oil Seal Ring
640 - Center Support Assembly
642 - Reaction Carrier Thrust Washer
643 - Center Support Spacer
644 - Low Clutch Roller Assembly
646 - Sun Gear Front Thrust Bearing Race
647 - Sun Gear Front/Rear Internal Gear Thrust Bearing Assembly
647 - Sun Gear Front/Rear Internal Gear Thrust Bearing Assembly
648 - Sun Gear Front Thrust Bearing Race
648 - Sun Gear Front Thrust Bearing Race
649 - Sun Gear Shaft Assembly
650 - Sun Gear
651 - Reaction Carrier Assembly (4 Pinion)
651a - Reaction Carrier Assembly (5 Pinion)
652 - Reaction Carrier Pinion Gear Thrust Washer (Bronze)
652 - Reaction Carrier Pinion Gear Thrust Washer (Bronze)
652 - Reaction Carrier Pinion Gear Thrust Washer (Bronze)
652 - Reaction Carrier Pinion Gear Thrust Washer (Bronze)
653 - Reaction Carrier Pinion Gear Thrust Washer (Steel)
653 - Reaction Carrier Pinion Gear Thrust Washer (Steel)
653 - Reaction Carrier Pinion Gear Thrust Washer (Steel)
653 - Reaction Carrier Pinion Gear Thrust Washer (Steel)
654 - Reaction Carrier Pinion Gear Roller Bearing Roller
654 - Reaction Carrier Pinion Gear Roller Bearing
655 - Reaction Carrier Pinion Gear
655 - Reaction Carrier Pinion Gear
656 - Reaction Carrier Pinion Gear Pin
656 - Reaction Carrier Pinion Gear Pin
657 - Low and Reverse Band Assembly
659 - Output Carrier Thrust Washer
660 - Vehicle Speed Sensor Reluctor Ring
661 - Output Carrier Assembly (4 Pinion)
661a - Output Carrier Assembly (5 Pinion)
662 - Main Shaft
663 - Sun Gear Rear Thrust Bearing Race
664 - Sun Gear Rear Thrust Bearing Assembly
665 - Sun Gear Rear Thrust Bearing Race
666 - Rear Internal Gear
669 - Rear Internal Gear Thrust Bearing Race
670 - Main Shaft Retainer Ring
671 - Output Shaft Assembly
672 - Output Shaft Retainer Ring
673 - Output Shaft Thrust Washer
674 - Selective Thrust Washer
675 - Output Shaft Seal
676 - Main Shaft Bushing
676 - Main Shaft Bushing
677 - Rear Internal Gear Bushing
678 - Center Support Oil Passage Sleeve
681 - Reaction Carrier Bushing
682 - Transmission Output Shaft Yoke Seal Sleeve
683 - Output Shaft Seal
690 - Center Support Oil Cooler Pipe Fitting Seal
691 - Rear Internal Gear Thrust Washer

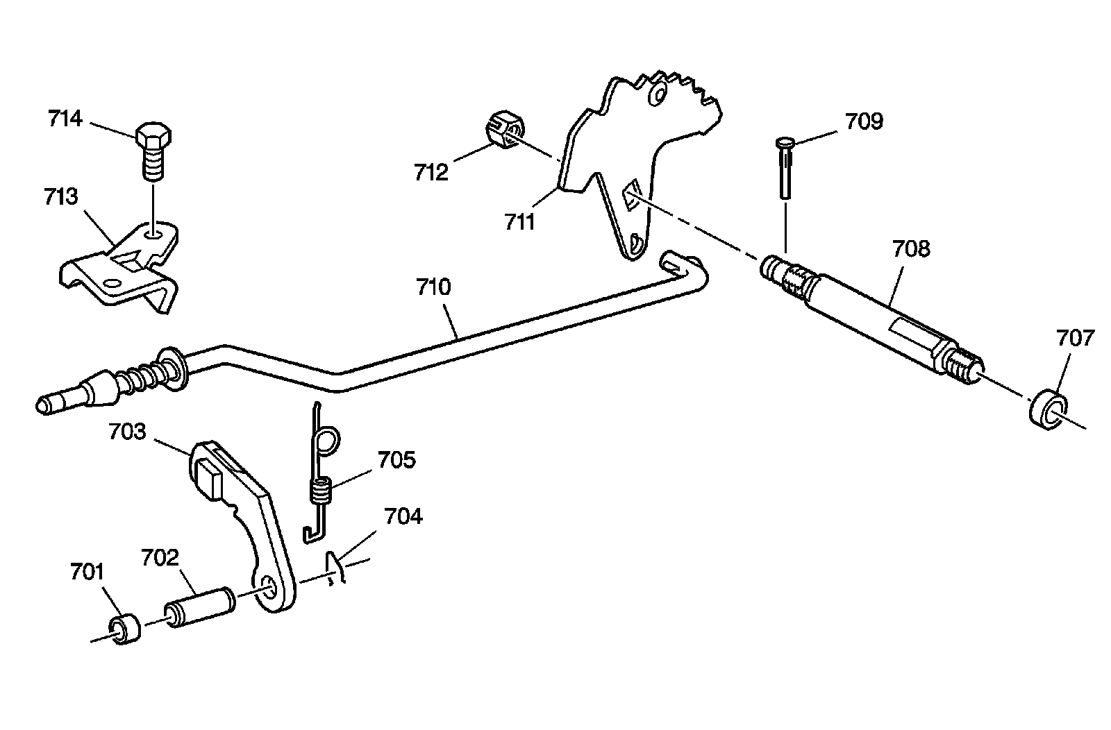
Parking Lock and Actuator Assembly

Parking Lock and Actuator Assembly:




701 - Parking Pawl Shaft Hole Plug
702 - Parking Pawl Shaft
703 - Parking Pawl
704 - Parking Pawl Shaft Retainer
705 - Parking Pawl Spring
707 - Manual Shift Shaft Seal
708 - Manual Shift Shaft
708 - Manual Shift Shaft
709 - Manual Shift Shaft Pin
710 - Parking Pawl Actuator Assembly
711 - Manual Shift Shaft Detent Lever Assembly
712 - Manual Shift Shaft Detent Lever Nut
713 - Parking Pawl Actuator Bracket
714 - Parking Pawl Actuator Bracket Bolt