lemon-mirror:
Home >> Chevrolet >> 2008 >> Colorado 2WD L4-2.9L >> Repair and Diagnosis >> Specifications >> Mechanical Specifications >> Engine >> System Specifications >> Thread Repair Specifications

Thread Repair Specifications



Thread Repair Specifications

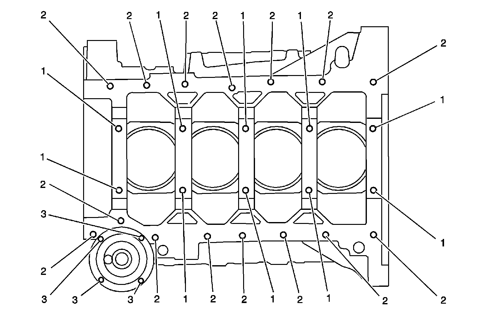
Engine Block - Top View

Engine Block - Top View:









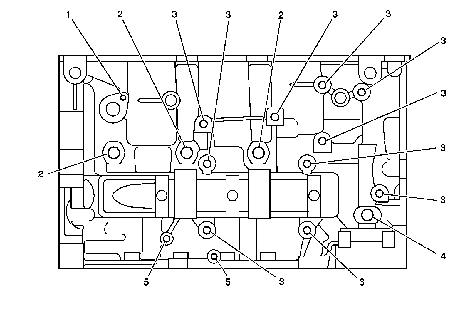
Engine Block - Bottom View

Engine Block - Bottom:









Engine Block - Left Side View

Engine Block - Left Side View:









Engine Block - Right Side View

Engine Block - Right Side View:









Engine Block - Front View

Engine Block - Front View:









Engine Block - Rear View

Engine Block - Rear View:









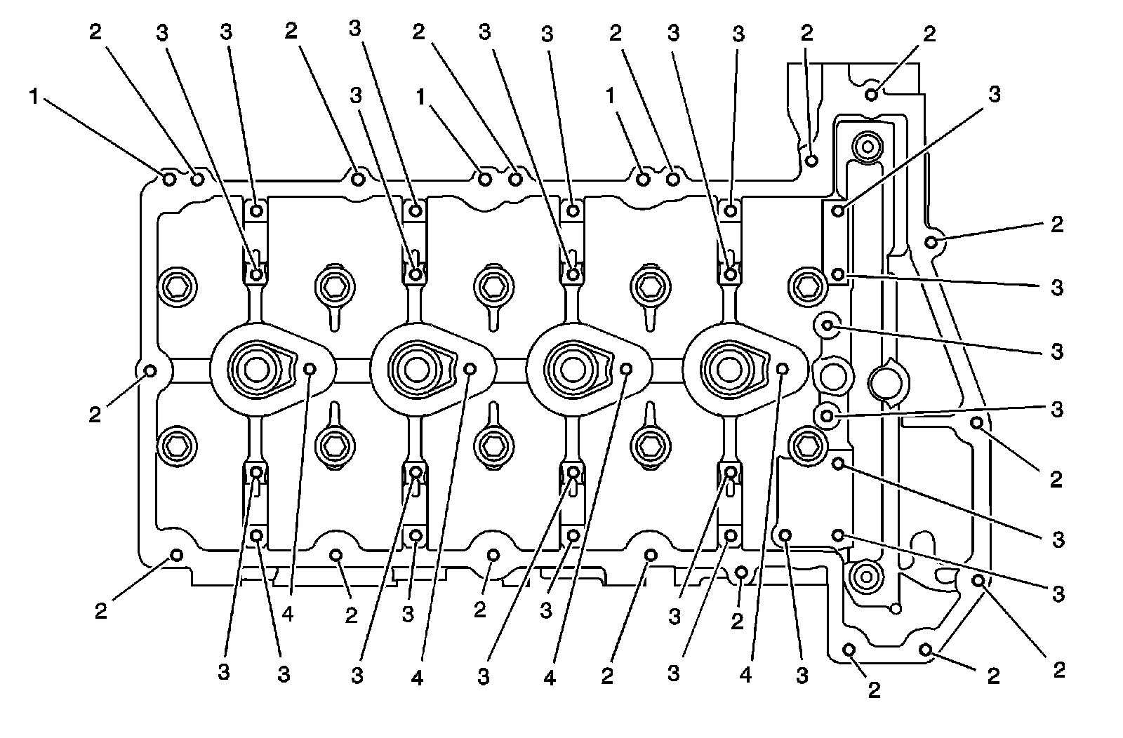
Cylinder Head - Top View

Cylinder Head - Top View:









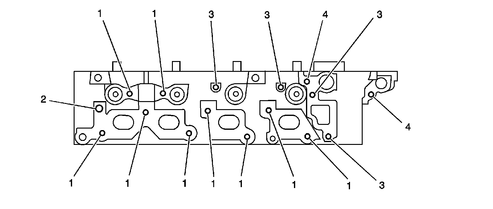
Cylinder Head - End - Front View

Cylinder Head - End - Front View:









Cylinder Head - End - Rear View

Cylinder Head - End - Rear View:









Cylinder Head - Intake Manifold Deck View

Cylinder Head - Intake Manifold Deck View:









Cylinder Head - Exhaust Manifold Deck View

Cylinder Head - Exhaust Manifold Deck View:









Oil Pan - Bottom View

Oil Pan - Bottom View:









Oil Pan - Rear View

Oil Pan - Rear View:









Engine Front Cover

Engine Front Cover:









Crankshaft Rear Oil Seal Housing

Crankshaft Rear Oil Seal Housing: