lemon-mirror:
Home >> Chevrolet >> 2007 >> Uplander V6-3.9L >> Repair and Diagnosis >> Maintenance >> Vehicle Lifting >> Service and Repair

Vehicle Lifting: Service and Repair



Lifting and Jacking the Vehicle

Caution: To avoid any vehicle damage, serious personal injury or death when major components are removed from the vehicle and the vehicle is supported by a hoist, support the vehicle with jack stands at the opposite end from which the components are being removed and strap the vehicle to the hoist.

Caution: To avoid any vehicle damage, serious personal injury or death, always use the jackstands to support the vehicle when lifting the vehicle with a jack.

Notice: Perform the following steps before beginning any vehicle lifting or jacking procedure:

* Remove or secure all of the vehicle's contents in order to avoid any shifting or any movement that may occur during the vehicle lifting or jacking procedure.

* The lifting equipment or the jacking equipment weight rating must meet or exceed the weight of the vehicle and any vehicle contents.

* The lifting equipment or the jacking equipment must meet the operational standards of the lifting equipment or jacking equipment's manufacturer.

* Perform the vehicle lifting or jacking procedure on a clean, hard, dry, level surface.

* Perform the vehicle lifting or jacking procedure only at the identified lift points. DO NOT allow the lifting equipment or jacking equipment to contact any other vehicle components.

Failure to perform the previous steps could result in damage to the lifting equipment or the jacking equipment, the vehicle, and/or the vehicle's contents.




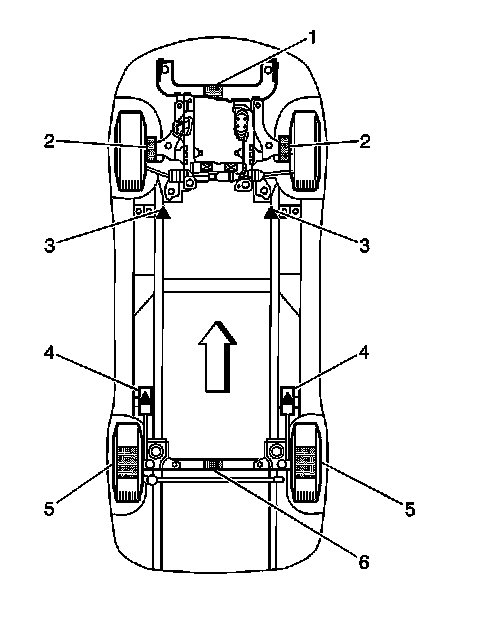
1 - Front Floor Jacking Location
2 - Front Suspension-Contact Lift Location
3 - Front Frame-Contact Lift Location
4 - Rear Frame-Contact Lift Location
5 - Rear Suspension-Contact Lift Location
6 - Rear Floor Jacking Location and Rear Suspension-Contact Lift Location

Lifting the Vehicle with a Frame-Contact Lift

Front Hoist Pad





Important: The front hoist pads must not contact the rocker panels, the front fenders, the floor pan, or the stone guard moldings.

When lifting the vehicle with a frame-contact lift, place the front lift pads at the front longitudinal frame rails. These areas are identified on the vehicle with an equilateral triangle.

Rear Hoist Pads






Important: The rear hoist pads must not contact the rocker panels, the rear fenders, the floor pan, or the stone guard moldings.

When lifting the vehicle with a frame-contact lift, place the rear lift pads at the rear suspension trailing arm-to-body pivots. These areas are identified on the vehicle with an equilateral triangle.

Lifting the Vehicle with a Suspension-Contact Lift

Front Lift






Notice: Ensure that the front suspension-contact lift points contact the lower control arms ONLY where identified. Failure to follow this precautionary step could result in damage to the lower control arm stabilizer link bracket.

When lifting the vehicle with a suspension-contact lift, place the front post lift points at the lower control arms.

Rear Lift





Lift the rear of the vehicle with the rear post lift points ONLY at the rear wheels.

Lifting the Vehicle with a Floor Jack

Under Front Frame





When lifting front the vehicle with a floor jack, place the floor jack lift pad at the center of the front frame rail.

Under Rear Axle





Lift the rear of the vehicle by placing the floor jack lift pad at the center of the rear suspension.

Supporting the Vehicle with Jackstands

Place jackstands ONLY under strong and stable vehicle structures.