lemon-mirror:
Home >> Chevrolet >> 2007 >> Impala V6-3.5L >> Repair and Diagnosis >> Body and Frame >> Body Control Systems >> Body Control Module >> Diagrams

Body Control Module: Diagrams



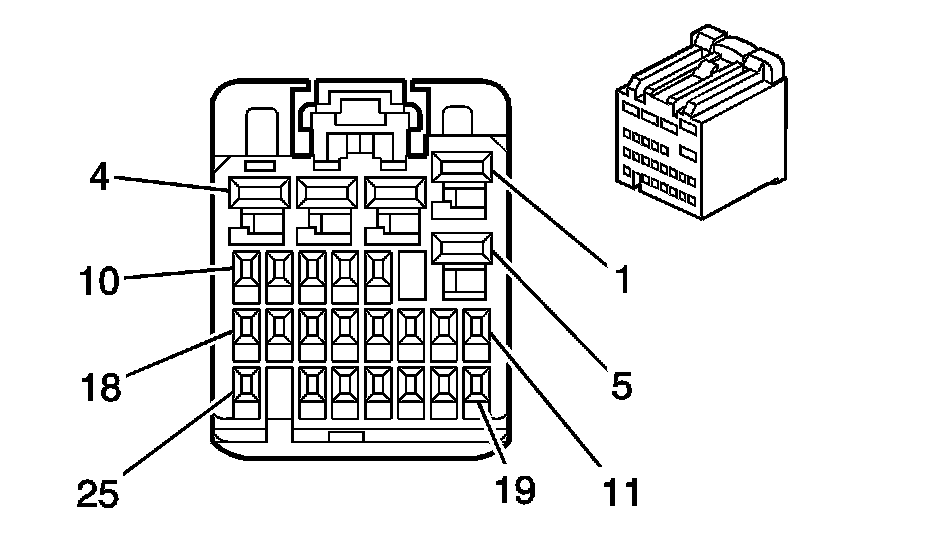
Body Control Module (BCM) C1









Pin 1 To Pin 25:





Pin 26 To Pin 27:





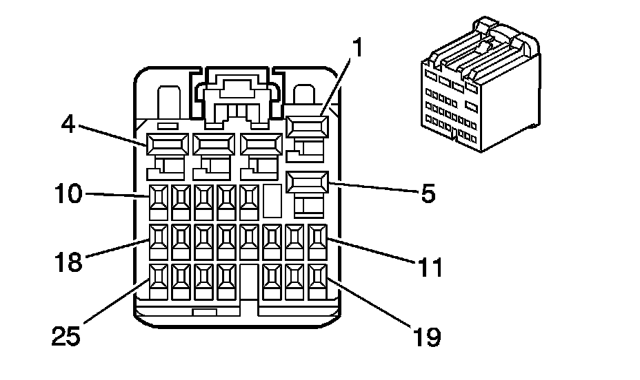
Body Control Module (BCM) C2









Pin 1 To Pin 20:





Pin 21 To Pin 25:





Body Control Module (BCM) C3









Pin 1 To Pin 16:





Pin 17 To Pin 25:





Body Control Module (BCM) C4









Pin 1 To Pin 15:





Pin 16 To Pin 25:





Body Control Module (BCM) C5









Pin 1 To Pin 18:





Pin 19 To Pin 25:





Body Control Module (BCM) C6









Pin 1 To Pin 18:





Pin 19 To Pin 25:





Body Control Module (BCM) C7