lemon-mirror:
Home >> Chevrolet >> 2007 >> HHR L4-2.2L >> Repair and Diagnosis >> Powertrain Management >> Computers and Control Systems >> Engine Control Module >> Diagrams >> Diagram Information and Instructions >> Vehicle Zoning Strategy

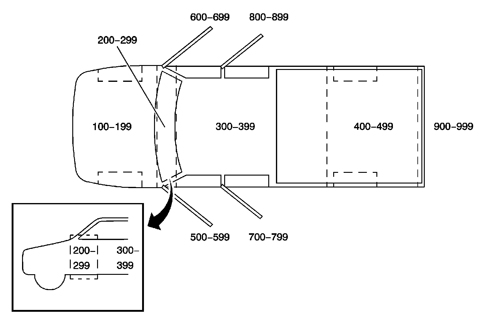
Vehicle Zoning Strategy



TRUCK ZONING







All grounds, in-line connectors, pass-through grommets, and splices have identifying numbers that corresponds to where they are located in the vehicle. The table explains the numbering system.