lemon-mirror:
Home >> Chevrolet >> 2007 >> HHR L4-2.2L >> Repair and Diagnosis >> Powertrain Management >> Computers and Control Systems >> Engine Control Module >> Diagrams >> Connector Views

Connector Views



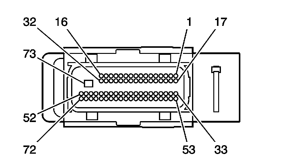
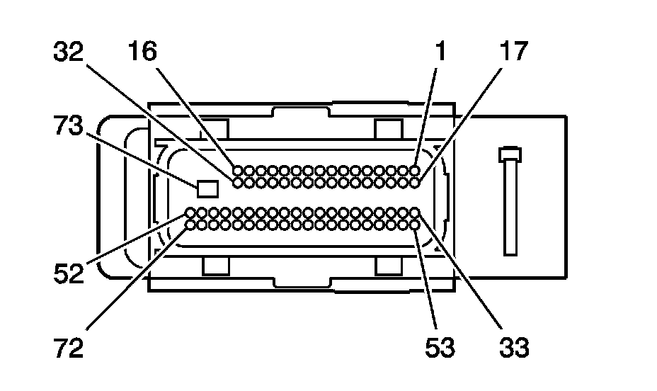
Engine Control Module Connector End Views

Engine Control Module (ECM) C1







Engine Control Module (ECM) C1 (Pin 1 To 20):




Engine Control Module (ECM) C1 (Pin 21 To 73):






Engine Control Module (ECM) C2







Engine Control Module (ECM) C2 (Pin 1 To 15):




Engine Control Module (ECM) C2 (Pin 16 To 73):