lemon-mirror:
Home >> Chevrolet >> 2007 >> Express 2500 V8-4.8L >> Repair and Diagnosis >> Powertrain Management >> Locations

Powertrain Management: Locations



Engine Controls Component Views

Right Side of the Engine




1 - Crankshaft Position (CKP) Sensor Connector
2 - A/C High Pressure Switch Connector (C60)
3 - A/C Compressor Clutch Connector (C60)
4 - Engine Oil Level Switch Connector
5 - Starter Motor

Upper Left Side of the Engine




1 - Fuel Injector 1 Connector
2 - Fuel Injector 3 Connector
3 - Fuel Injector 5 Connector
4 - S101
5 - C103
6 - S102
7 - Fuel Injector 7 Connector
8 - Ignition Coil/Module 7 Connector
9 - Ignition Coil/Module 5 Connector
10 - C126
11 - Ignition Coil/Module 3 Connector
12 - Engine Coolant Temperature (ECT) Sensor Connector
13 - Ignition Coil/Module 1 Connector

Upper Right Side of the Engine




1 - Fuel Injector 8 Connector
2 - Fuel Injector 6 Connector
3 - Fuel Injector 4 Connector
4 - Fuel Injector 2 Connector
5 - Ignition Coil/Module 2 Connector
6 - Ignition Coil/Module 4 Connector
7 - Ignition Coil/Module 6 Connector
8 - C127
9 - Ignition Coil/Module 8 Connector

Top of the Engine




1 - Manifold Absolute Pressure (MAP) Sensor Connector
2 - S102
3 - S101
4 - C103
5 - Evaporative Emission (EVAP) Canister Purge Solenoid Valve
6 - Throttle Body

Center of the Engine




1 - Knock Sensor (KS) 1
2 - Knock Sensor (KS) 2

Back of the Engine




1 - G103
2 - Engine Oil Pressure (EOP) Sensor Connector
3 - G102
4 - Camshaft Position (CMP) Sensor Connector

LR of the Engine Compartment




1 - C109
2 - Powertrain Control Module (PCM) C1, C2
3 - Fuse Block Underhood - C6
4 - Horn Assembly Connector
5 - Fuse Block Underhood - C1
6 - C100
7 - C101
8 - Brake Fluid Level Switch Connector (Heavy Duty)

LR of the Engine Compartment




1 - Throttle Actuator Control (TAC) Module

Rear of the Engine Compartment




1 - Blower Motor Resistor Assembly
2 - Blower Motor
3 - Mass Air Flow (MAF)/Intake Air Temperature (IAT) Sensor
4 - A/C Low Pressure Switch (C60)

Lower Left of the I/P




1 - Accelerator Pedal Position (APP) Sensor
2 - Accelerator Pedal
3 - Brake Pedal

Rear of the Engine (4.3L/5.3L)




1 - Heated Oxygen Sensor (HO2S) Bank 1 Sensor 1
2 - Heated Oxygen Sensor (HO2S) Bank 2 Sensor 1
3 - Heated Oxygen Sensor (HO2S) Bank 2 Sensor 2
4 - Heated Oxygen Sensor (HO2S) Bank 1 Sensor 2
5 - Park/Neutral Position (PNP) Switch

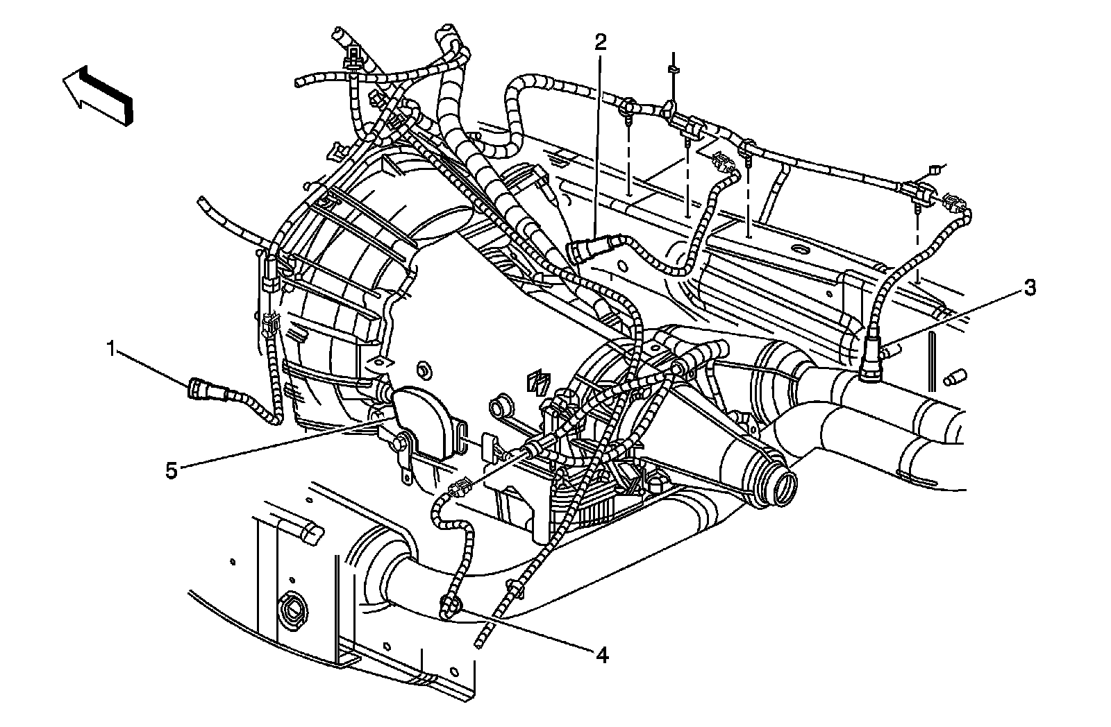
Engine Harness - Oxygen Sensors (4.8L/6.0L)




1 - C128 (Cutaway)
2 - Heated Oxygen Sensor (HO2S) Bank 2 Sensor 1 Connector
3 - Heated Oxygen Sensor (HO2S) Bank 1 Sensor 2 Connector
4 - Heated Oxygen Sensor (HO2S) Bank 2 Sensor 2 Connector
5 - Heated Oxygen Sensor (HO2S) Bank 1 Sensor 1 Connector

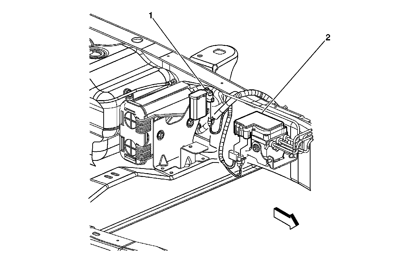
Left Side Frame




1 - Evaporative Emission (EVAP) Canister Vent Solenoid
2 - Electronic Brake Control Module (EBCM)

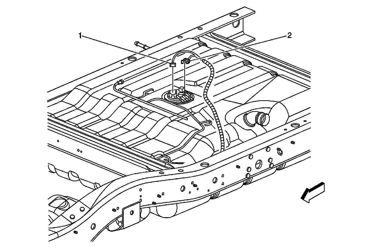
Fuel Tank (w/o NE7)




1 - Fuel Pump and Sender Assembly Connector
2 - Fuel Tank Pressure (FTP) Sensor Connector

Fuel Tank (NE7)




1 - Fuel Tank Pressure (FTP) Sensor Connector
2 - Fuel Pump and Sender Assembly Connector