lemon-mirror:
Home >> Chevrolet >> 2007 >> Express 2500 V8-4.8L >> Repair and Diagnosis >> Heating and Air Conditioning >> Control Assembly >> Locations

Control Assembly: Locations



HVAC Component Views

Instrument Panel




1 - Turn Signal/Multifunction Switch
2 - Instrument Panel Cluster (IPC)
3 - HVAC Control Assembly
4 - Radio
5 - Auxiliary Power Outlet 2
6 - Traction Control Switch (JL4)
7 - Inflatable Restraint PASSENGER AIR BAG ON/OFF Indicator (Light Duty w/o YF7)
8 - High Idle Switch (UF3)
9 - Inflatable Restraint I/P Disable Switch (Heavy Duty)
10 - Cigar Lighter (DT4)/Auxiliary Power Outlet 1 (w/o DT4)
11 - Blower Motor Switch - Auxiliary (C36)
12 - Tow/Haul Switch
13 - Headlamp and Panel Dimmer Switch

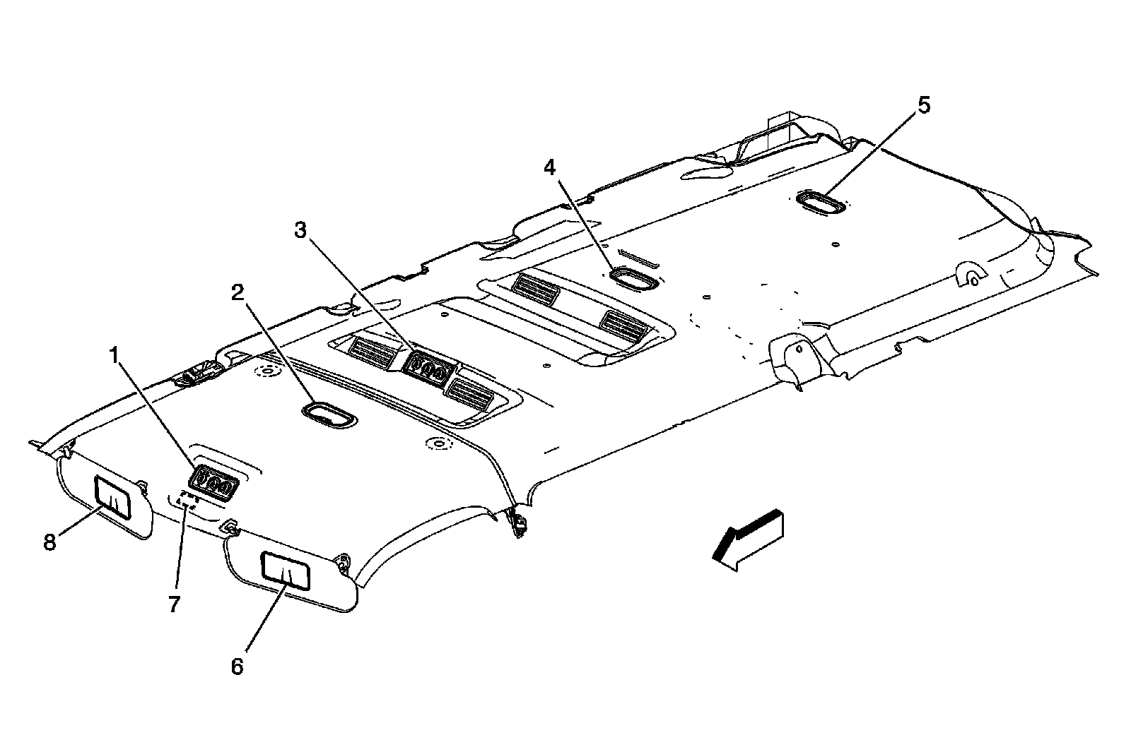
Headliner




1 - HVAC Control Assembly - Front Auxiliary (C69)
2 - Courtesy /Reading Lamp - Front
3 - HVAC Control Assembly - Rear Auxiliary (C69 w/Rear Auxiliary Controls)
4 - Courtesy /Reading Lamp - Mid (Passenger)
5 - Courtesy /Reading Lamp - Rear (Passenger)/Dome Lamp - Rear (Cargo)
6 - Vanity Mirror - Right (DH6)
7 - HVAC Control Processor - Auxiliary (C69 w/Rear Auxiliary Controls)
8 - Vanity Mirror - Left (DH6)