lemon-mirror:
Home >> Chevrolet >> 2007 >> Express 2500 V8-4.8L >> Repair and Diagnosis >> Diagrams >> Exploded Views >> Engine >> Cylinder Head/Upper Engine

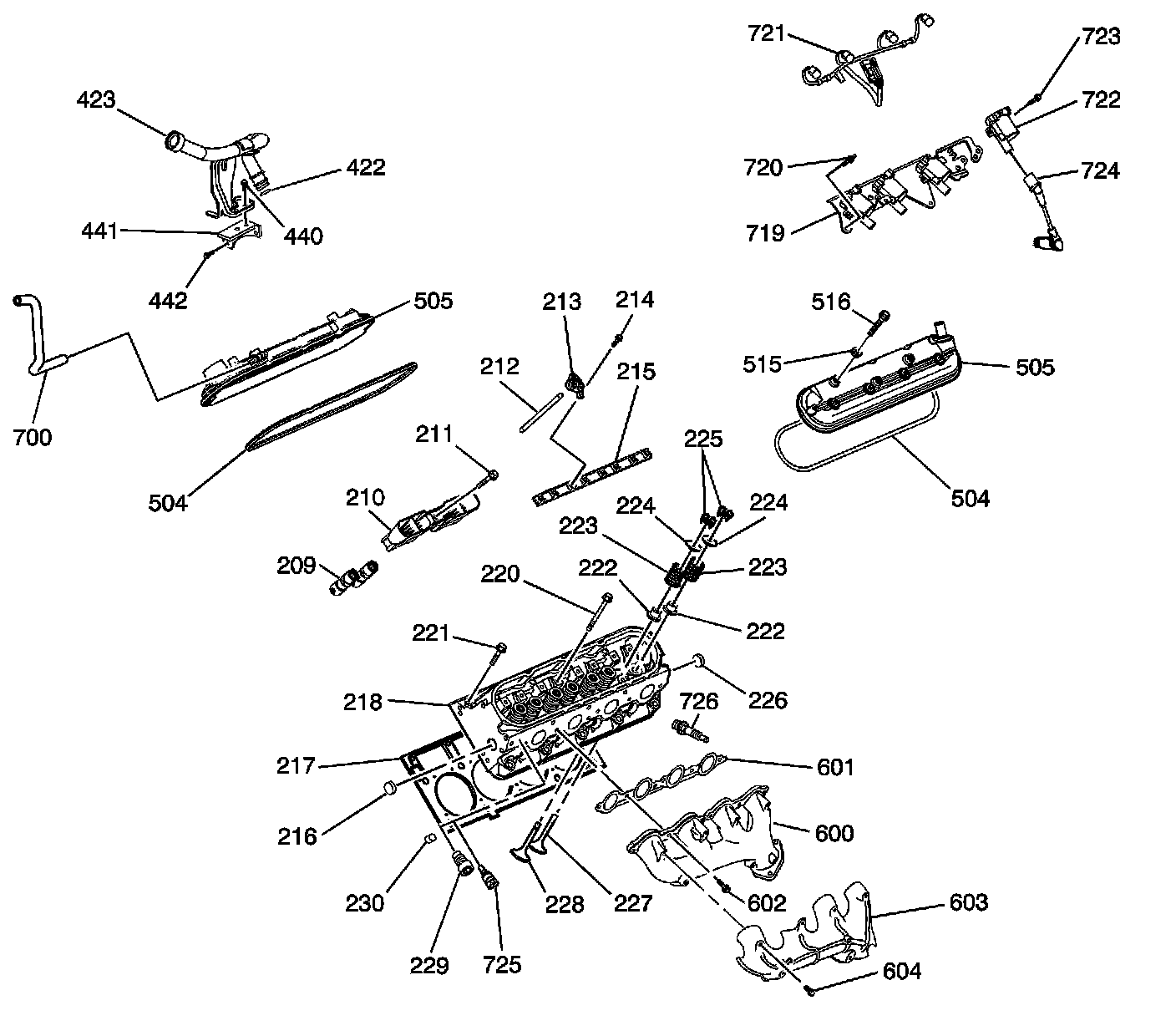
Cylinder Head/Upper Engine



Disassembled Views

Cylinder Head/Upper Engine:





209 - Valve Lifter
210 - Valve Lifter Guide
211 - Valve Lifter Guide Bolt
212 - Pushrod
213 - Rocker Arm
214 - Rocker Arm Bolt
215 - Rocker Arm Pivot Support
216 - Cylinder Head Core Hole Plug
217 - Cylinder Head Gasket
218 - Cylinder Head
220 - Cylinder Head Bolt - M11
221 - Cylinder Head Bolt - M8
222 - Valve Stem Oil Seal
222 - Valve Stem Oil Seal
223 - Valve Spring
223 - Valve Spring
224 - Valve Spring Cap
224 - Valve Spring Cap
225 - Valve Stem Keys
226 - Cylinder Head Core Hole Plug
227 - Intake Valve
228 - Exhaust Valve
229 - Cylinder Head Coolant Plug
230 - Cylinder Head Locating Pin
422 - Oil Fill Tube O-Ring
423 - Oil Fill Tube
440 - Oil Fill Tube Bolt
441 - Oil Fill Tube Bracket
442 - Oil Fill Tube Bracket Bolt
504 - Valve Cover Gasket
504 - Valve Cover Gasket
505 - Valve Cover
505 - Valve Cover
515 - Valve Cover Bolt Grommet
516 - Valve Cover Bolt
600 - Exhaust Manifold
601 - Exhaust Manifold Gasket
602 - Exhaust Manifold Bolt
603 - Exhaust Manifold Heat Shield
604 - Exhaust Manifold Heat Shield Bolt
700 - Positive Crankcase Ventilation (PCV) Hose - Fresh Air
719 - Ignition Coil and Bracket Assembly
720 - Ignition Coil and Bracket Assembly Stud
721 - Ignition Coil Wire Harness
722 - Ignition Coil
723 - Ignition Coil Bolt
724 - Spark Plug Wire
725 - Coolant Temperature Sensor
726 - Spark Plug