lemon-mirror:
Home >> Chevrolet >> 2007 >> Express 2500 V8-4.8L >> Repair and Diagnosis >> Body and Frame >> Frame >> Subframe >> Front Subframe Mount >> Service and Repair

Front Subframe Mount: Service and Repair


Drivetrain and Front Suspension Frame Insulator Replacement


Removal Procedure

1.Remove the screws retaining the fuel filter pipe to the body.

2.Raise and support the vehicle. Refer to Lifting and Jacking the Vehicle .

3.Use jack stands in order to support the body of the vehicle.





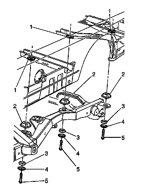
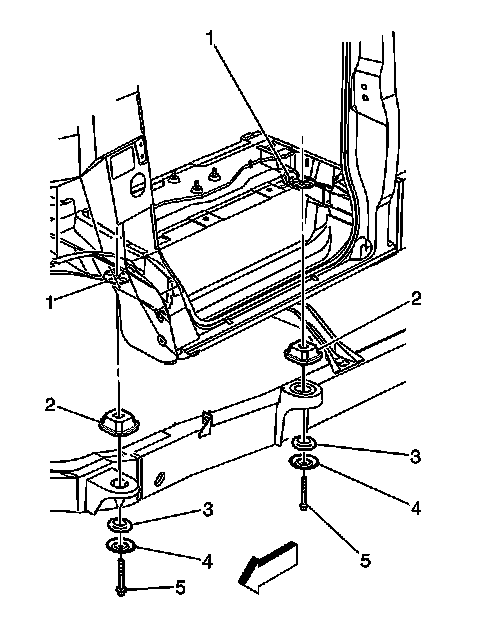
4.Release the brake line retainers closest to the first body mount (2) in order to ensure that the brake lines will not bend when you lower the frame.





5.Loosen all the body mount bolts (5). Do not remove the bolts.





6.Remove the bolt (5) from the body mount.

7.Lower the frame slightly.

8.Remove the body mount from the frame.

Installation Procedure





1.Install the body mount (2) to the frame.

2.Raise the frame.





3.Install the bolt (5) to the body mount.





Notice:Refer to Fastener Notice .

4.Install the body mount bolts (5).

Tighten
Tighten the body mount bolts to 140 N �m (103 lb ft).

5.Install the brake line retainers.

6.Remove the safety stands.

7.Lower the vehicle.

8.Install the screws retaining the fuel filler pipe to the body.