lemon-mirror:
Home >> Chevrolet >> 2007 >> Corvette V8-7.0L >> Repair and Diagnosis >> Diagrams >> Connector Views >> Suspension Control Module

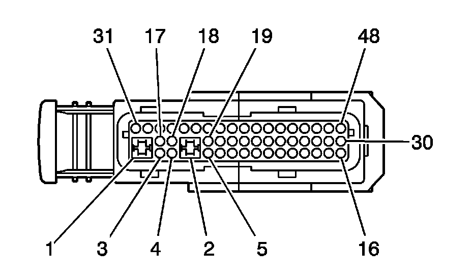
Suspension Control Module



Electronic Suspension Control Connector End Views







Electronic Suspension Control (ESC) Module: