lemon-mirror:
Home >> Chevrolet >> 2007 >> Colorado 2WD L4-2.9L >> Repair and Diagnosis >> Diagrams >> Connector Views >> Transmission Control Systems

Transmission Control Systems



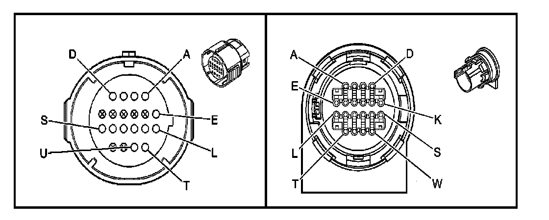
Automatic Transmission Inline 20-Way Connector End View

Engine Side to Transmission Side:







Engine Side to Transmission Side: