lemon-mirror:
Home >> Chevrolet >> 2007 >> Cobalt L4-2.0L SC >> Repair and Diagnosis >> Diagrams >> Connector Views >> Engine Control Module

Engine Control Module



Powertrain Control Module Connector End Views

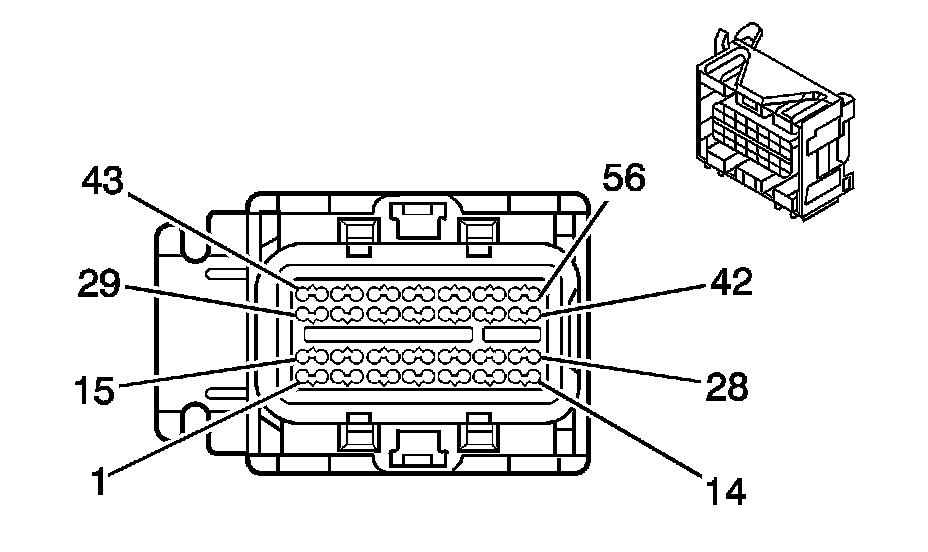
Powertrain Control Module (PCM) C1









Powertrain Control Module (PCM) C1 (Pin 1 To 23):





Powertrain Control Module (PCM) C1 (Pin 24 To 56):






Powertrain Control Module (PCM) C2









Powertrain Control Module (PCM) C2 (Pin 1 To 28):





Powertrain Control Module (PCM) C2 (Pin 29 To 73):






Powertrain Control Module (PCM) C3 (M86)