lemon-mirror:
Home >> Chevrolet >> 2006 >> HHR L4-2.2L >> Repair and Diagnosis >> Specifications >> Mechanical Specifications >> Engine >> System Specifications >> Thread Repair Specifications

Thread Repair Specifications



Thread Repair Specifications

Engine Block - Front View:




Engine Block - Front View:




Engine Block - Back View:




Engine Block - Left Side View:




Engine Block - Left Side View:




Engine Block - Bottom View:




Engine Block - Bottom View:




Engine Block - Right Side View:




Engine Block - Right Side View:




Engine Block - Top View:




Engine Block - Top View:




Engine Block - Top View:




Lower Crankcase - Front View:




Lower Crankcase - Front View:




Lower Crankcase - Back View:




Lower Crankcase - Back View:




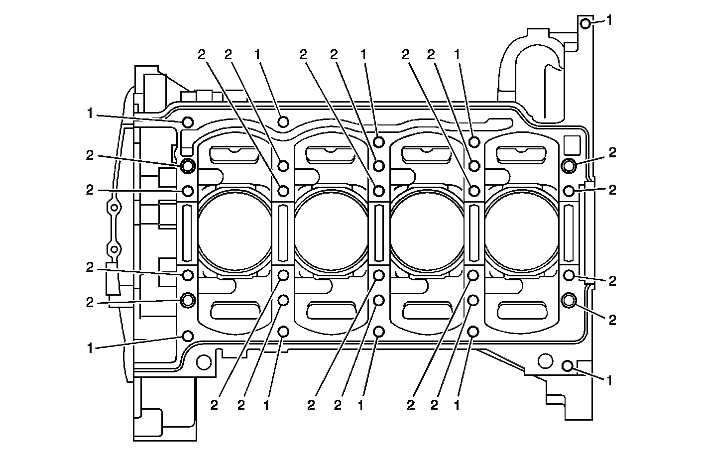
Lower Crankcase - Bottom View:




Lower Crankcase - Bottom View:




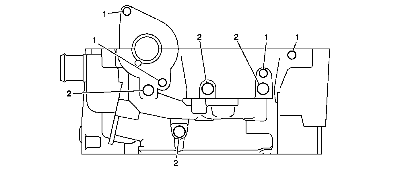
Lower Crankcase - Left View:




Lower Crankcase - Left View:




Lower Crankcase - Right View:




Lower Crankcase - Right View:




Cylinder Head - Top View:




Cylinder Head - Top View:




Cylinder Head - Intake Manifold Deck View:




Cylinder Head - Intake Manifold Deck View:




Cylinder Head - Exhaust Manifold Deck View:




Cylinder Head - Exhaust Manifold Deck View:




Cylinder Head - Front View:




Cylinder Head - Front View:




Cylinder Head - Back View:




Cylinder Head - Back View:




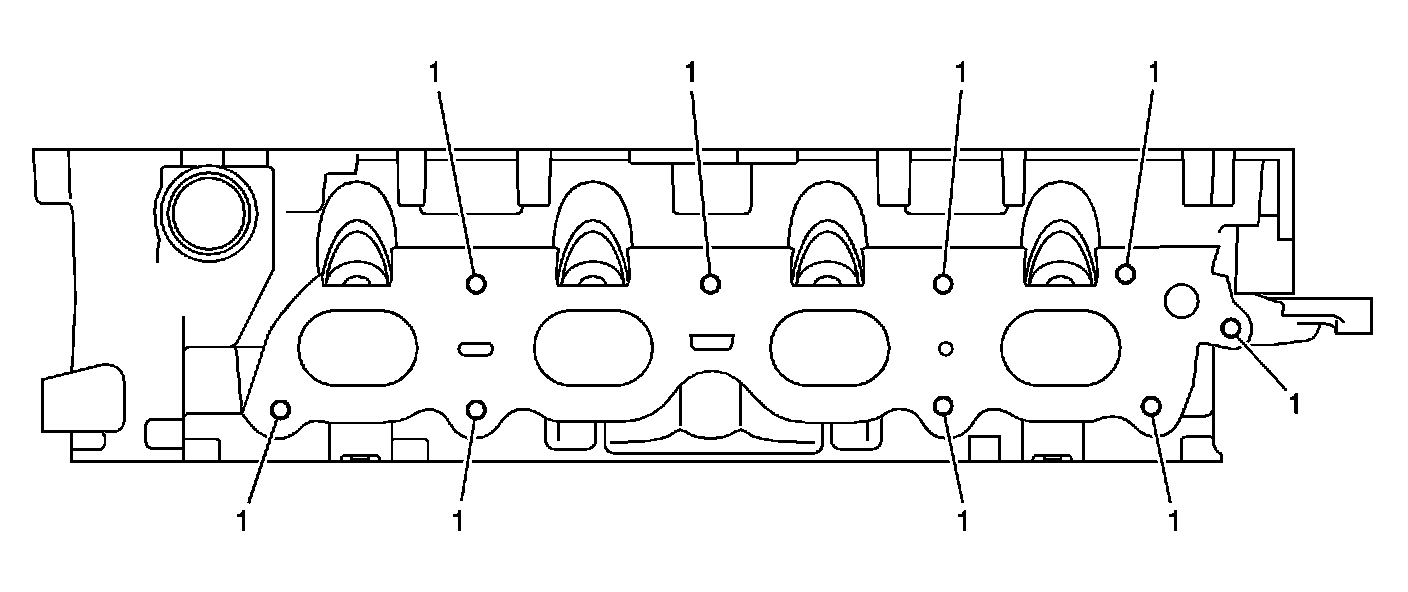
Cylinder Head - Bottom View:




Cylinder Head - Bottom View: