lemon-mirror:
Home >> Chevrolet >> 2005 >> SSR V8-6.0L VIN H >> Repair and Diagnosis >> Specifications >> Mechanical Specifications >> Engine >> System Specifications >> Thread Repair Specifications

Thread Repair Specifications



Thread Repair Specifications

Engine Block:









Engine Block - Front/Rear Views

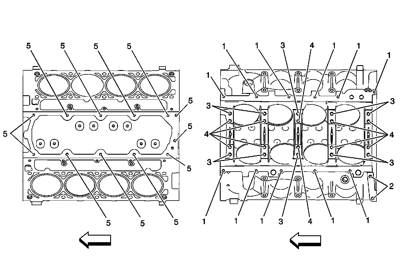
Engine Block:









Engine Block - Left/Right Side Views

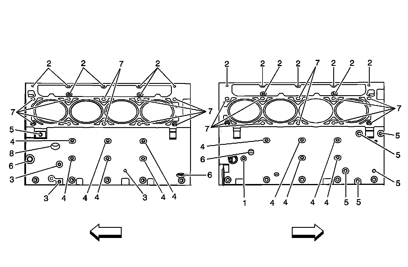
Engine Block:









Engine Block - Top/Bottom Views

Cylinder Head:









Cylinder Head - Top/End Views

Cylinder Head:









Cylinder Head - Intake/Exhaust Side Views