lemon-mirror:
Home >> Chevrolet >> 2005 >> Optra (CANADA) L4-2.0L >> Repair and Diagnosis >> Powertrain Management >> Locations

Powertrain Management: Locations




Engine Controls Component Views

Manifold Absoulte Pressure (MAP), Oil Pressure, Throttle Position (TP) Sensors





1 - Manifold Absoulte Pressure (MAP) Sensor

2 - Engine Oil Pressure Switch

3 - Throttle Position (TP) Sensor

4 - Idle Air Control (IAC)

Fuel Injectors, Heated Oxygen Sensor (HO2S) 1, Heated Oxygen Sensor (HO2S) 2, Idle Air Control (IAC) Valve, Intake Air Temperature (IAT) Sensor





1 - Fuel Injector 1

2 - Fuel Injector 2

3 - Fuel Injector 3

4 - Fuel Injector 4

5 - Heated Oxygen Sensor (HO2S) 1

6 - Heated Oxygen Sensor (HO2S) 2

7 - Idle Air Control (IAC) Valve

8 - Intake Air Temperature (IAT) Sensor

Crankshaft Position (CKP) Sensors, EVAP, Ignition Coils





1 - Evporative Emissions (EVAP) Canister Purge Solenoid Valve

2 - Crankshaft Position (CKP) Sensor

3 - Ignition Coil Modules

Engine Control Module (ECM), Engine Coolant Temperature (ECT), Camshaft Position (CMP) and Rough Road Sensors





1 - Engine Control Module (ECM)

2 - Engine Coolant Temperature (ECT) Sensor

3 - Camshaft Position (CMP) Sensor

4 - Rough Road Sensor

Exhaust Gas Recirculation (EGR) Valve, Knock Sensor (KS)





1 - Exhaust Gas Recirculation (EGR) Valve

2 - Knock Sensor (KS)

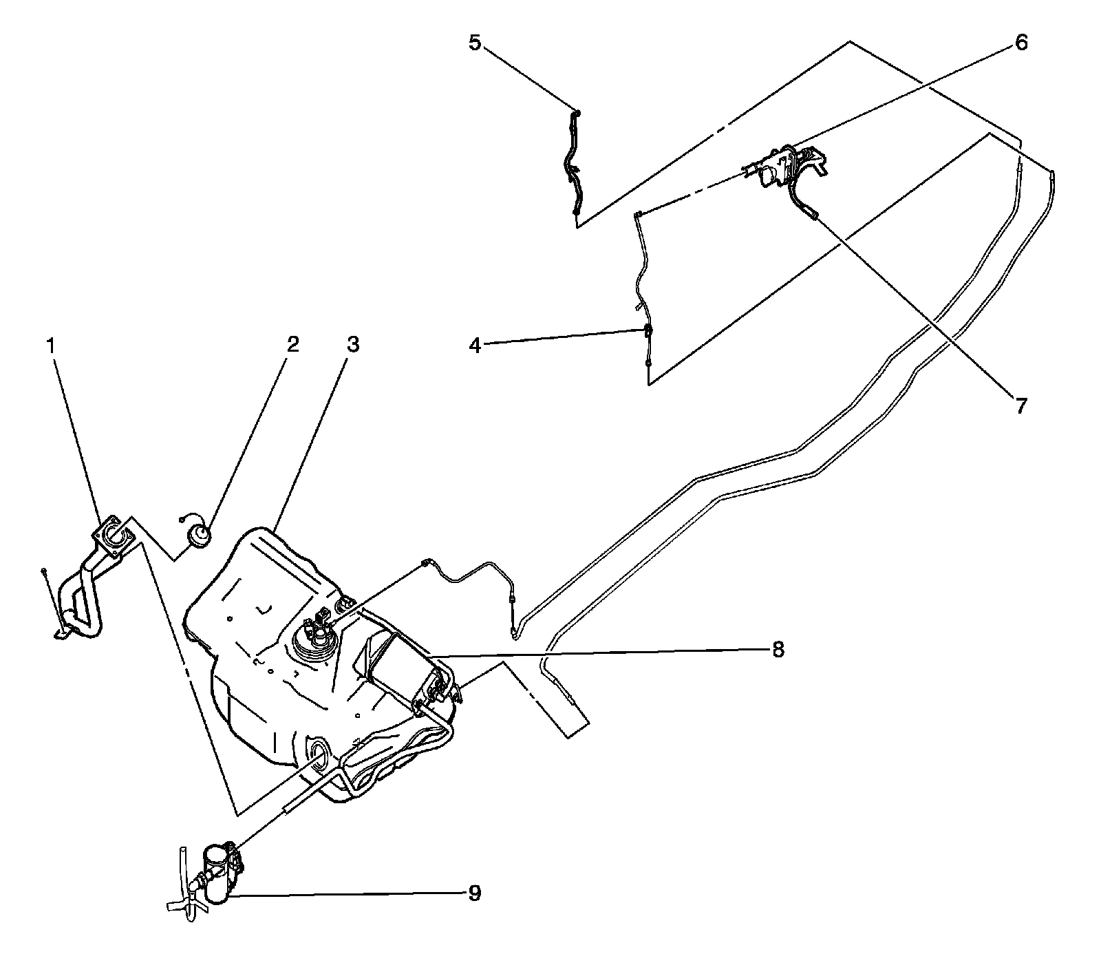
Fuel Vapor Recovery System





1 - Fuel Tube

2 - Fuel Filler Cap

3 - Fuel Tank

4 - Service Port

5 - Fuel Pipe to Fuel Rail

6 - Evaporative Emissions (EVAP) Canister Purge Solenoid Valve

7 - Vacuum hose to Intake Manifold

8 - Evaporative Emissions (EVAP) Canister

9 - Evaporative Emissions Canister Vent Solenoid Valve