lemon-mirror:
Home >> Chevrolet >> 2005 >> Optra (CANADA) L4-2.0L >> Repair and Diagnosis >> Diagrams >> Exploded Views >> Exhaust System

Exhaust System




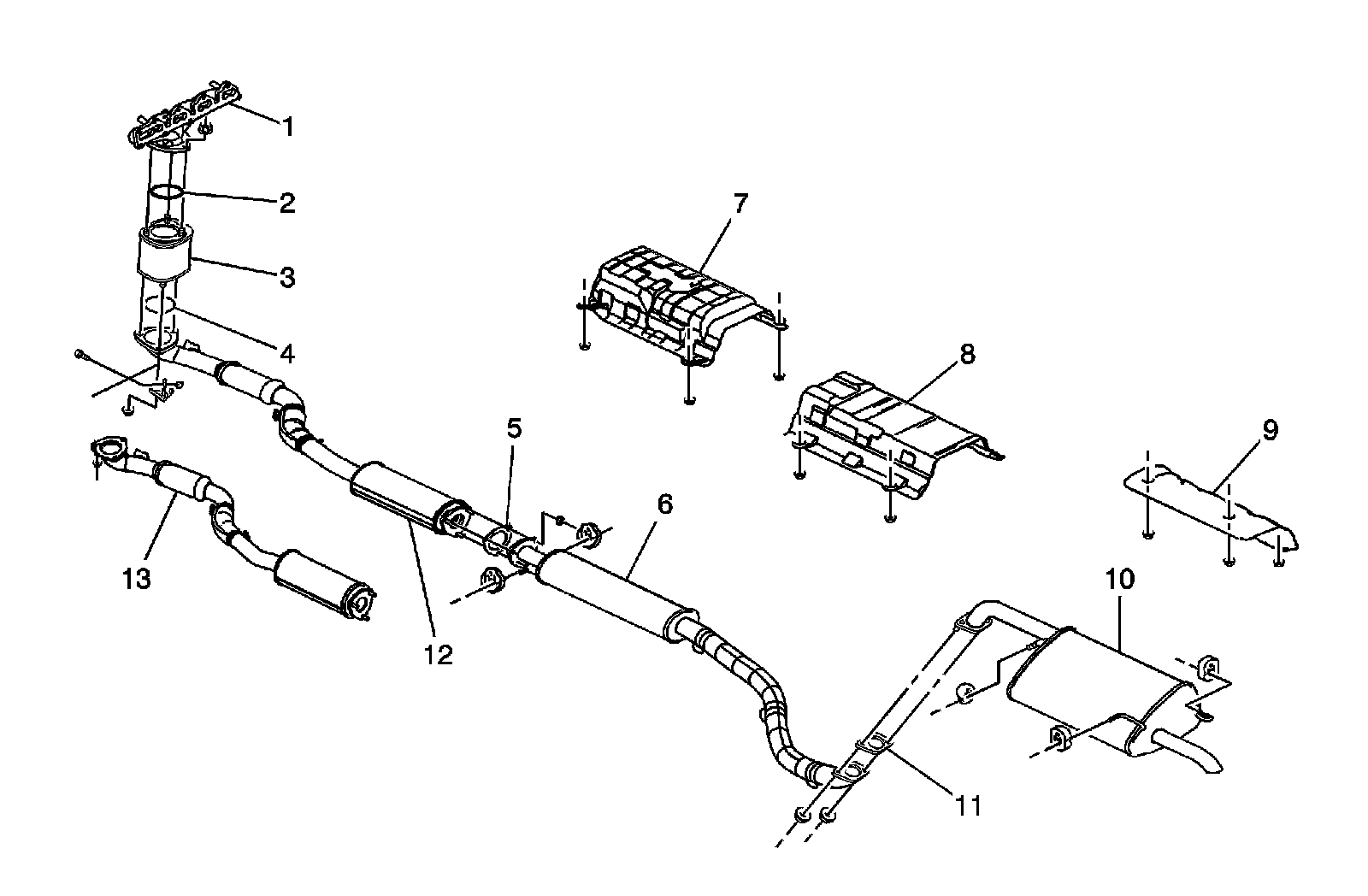
Engine Exhaust System Component Views





1 - Exhaust Manifold

2 - Exhaust Front Pipe Gasket

3 - Catalytic Converter

4 - Exhaust Pipe Front Gasket

5 - Muffler Gasket

6 - Exhaust Front Muffler

7 - Catalytic Converter Protective Shield

8 - Front Muffler Protective Shield

9 - Rear Muffler Protective Shield

10 - Exhaust Rear Muffler

11 - Muffler Gasket

12 - Exhaust Front Pipe-1.8L, 2.0L

13 - Exhaust Front Pipe-1.6L