lemon-mirror:
Home >> Chevrolet >> 2005 >> Optra (CANADA) L4-2.0L >> Repair and Diagnosis >> Cruise Control >> Cruise Control Module >> Service and Repair

Cruise Control Module: Service and Repair




Cruise Control Module Replacement

Removal Procedure





1. Remove the coin storage and the screws.

2. Separate the hood release cable from the hood latch release handle.

3. Carefully remove the instrument panel under cover by pulling until the retaining clips are free from the slots in the instrument panel.

4. Remove the knee bolster. Refer to Knee Bolster Replacement Knee Bolster Replacement in Instrument Panel, Gauges and Console.





5. Disconnect the electrical connector from the cruise control actuator.

6. Remove the cruise control actuator mounting bolts.





Important:
When the adjuster button is pressed, do not allow the adjuster spring to expand to a length of more than 2 cm (3/4 inch) or the adjuster rack will come out of the adjuster, and it will have to be reinserted. To keep the adjuster in one piece during adjustment, hold the cable when the adjuster button is pressed.


7. Press the release button on the cable adjuster and push the cable toward the adjuster until the spring is compressed.





8. Tilt the cable housing and insert a flat-blade screwdriver into one of the slots in the actuator.

9. Tilt the cable housing toward the screwdriver. The cable housing retainers will release.





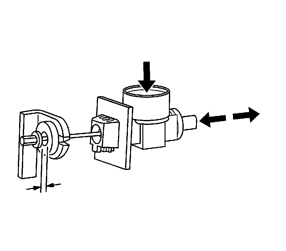
10. Pull the guide sleeve and the cable out of the actuator and turn the cable 90 degrees to the axis of the guide sleeve.





11. Remove the actuator from the cable.

Installation Procedure





1. Insert the cable ball into the actuator sleeve.





2. Push the cable housing and the sleeve into the actuator until the retainers lock the cable housing in place.

Notice:
Refer to Fastener Notice Fastener Notice in Cautions and Notices.

3. Install the cruise control actuator mounting bolts.

Tighten the cruise control actuator mounting bolts to 6 Nm (53 lb in).

Important:
When the adjuster button is pressed, do not allow the adjuster spring to expand to a length of more than 2 cm (3/4 inch) or the adjuster rack will come out of the adjuster, and it will have to be reinserted. To keep the adjuster in one piece during adjustment, hold the cable when the adjuster button is pressed.


4. Press the cable adjuster button and adjust the cable so that the cable ball nipple is 0.5 mm (0.02 inch) from the bushing on the accelerator assembly.





5. Connect the electrical connector to the cruise control actuator.

6. Install the knee bolster. Refer to Knee Bolster Replacement Knee Bolster Replacement in Instrument Panel, Gauges and Console.

7. Align the instrument panel under cover and press the retaining clips into the slots in the instrument panel.

8. Install the hood release handle.