lemon-mirror:
Home >> Chevrolet >> 2004 >> SSR V8-5.3L VIN P >> Repair and Diagnosis >> Diagrams >> Exploded Views >> Convertible Top

Convertible Top

Roof Panel and Lift Mechanism:



Stowage Lid and Extension Panel:



Stowage Lid Extension Panel Hall Effect Sensors:



Main Lift Cylinder Hall Effect Sensors:



Hydraulic Pump and Hoses:



Stowage Lid Hall Effect Sensor:



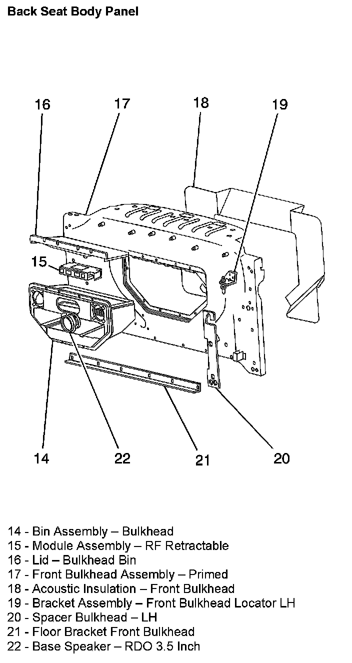
Back Seat Body Panel: