lemon-mirror:
Home >> Chevrolet >> 2004 >> Classic L4-2.2L VIN F >> Repair and Diagnosis >> Diagrams >> Exploded Views >> Engine >> Engine Block and Components

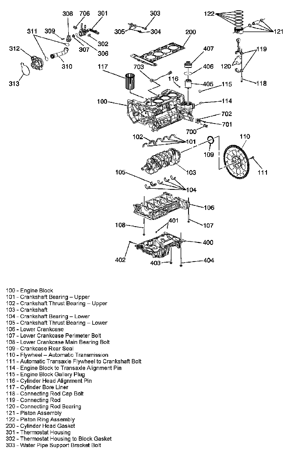
Engine Block and Components