lemon-mirror:
Home >> Chevrolet >> 2003 >> SSR V8-5.3L VIN P >> Repair and Diagnosis >> Diagrams >> Exploded Views >> Convertible Top

Convertible Top



Folding Top Disassembled View

Roof Panel and Lift Mechanism




1 - Weatherstrip Assembly - Front Panel
2 - Retainer - Front Panel Seal Assembly RH
3 - Panel Assembly - RF Front
4 - Seal - Lock Pillar Glass Run Channel - RH
5 - Retainer - Glass Run Channel B-Pillar RH
6 - Striker Assembly - Panel to Panel
7 - Panel Assembly - RF RR
8 - Window Assembly - F/Top RR
9 - Weatherstrip Assembly - RR Panel
10 - Latch Assembly - Panel LH
11 - Rail Assembly - Side LH
12 - Capture Assembly - Top Stack Down - LH
13 - Assembly - Alignment Pin LH

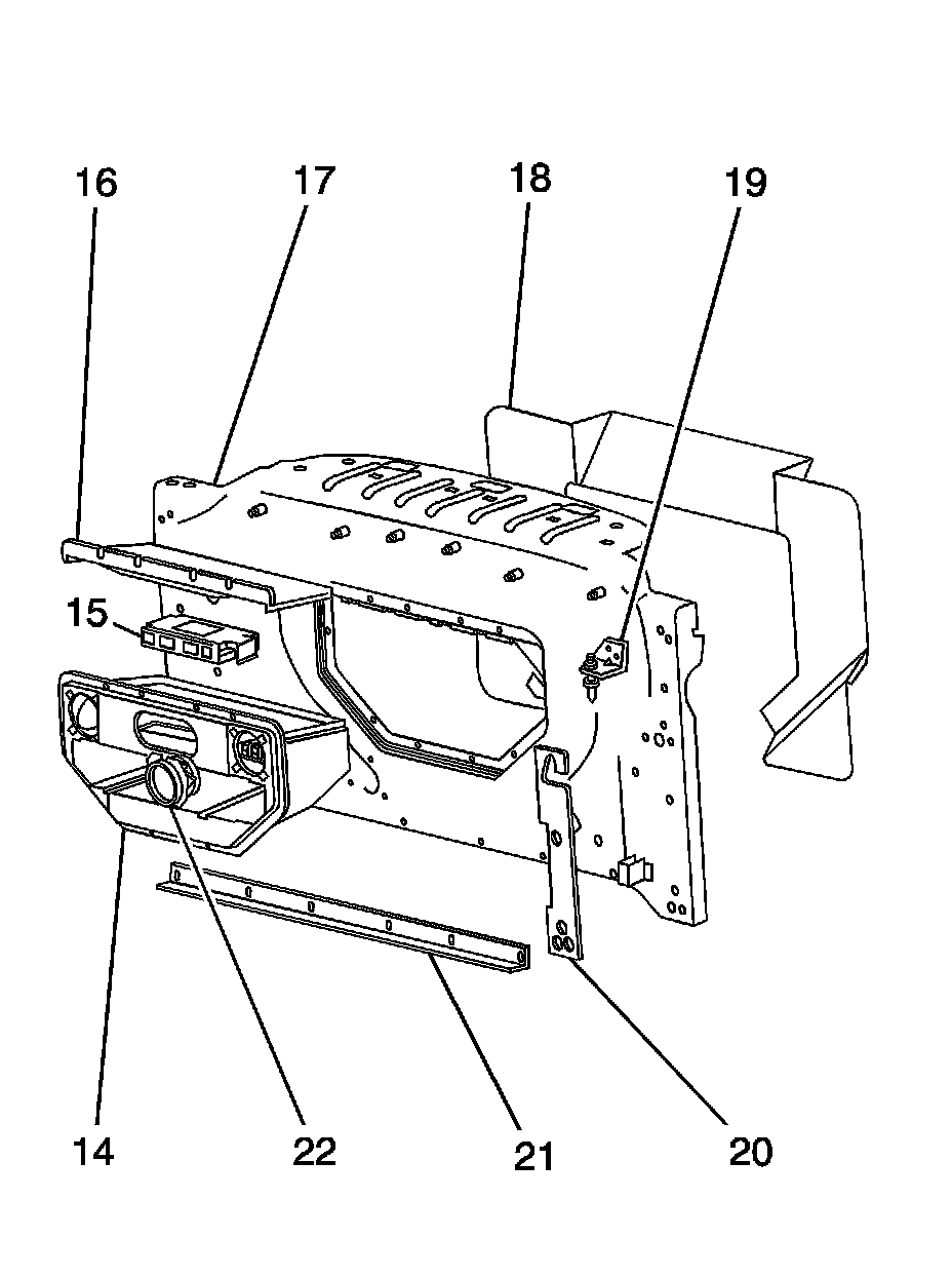
Back Seat Body Panel




14 - Bin Assembly - Bulkhead
15 - Module Assembly - RF Retractable
16 - Lid - Bulkhead Bin
17 - Front Bulkhead Assembly - Primed
18 - Acoustic Insulation - Front Bulkhead
19 - Bracket Assembly - Front Bulkhead Locator LH
20 - Spacer Bulkhead - LH
21 - Floor Bracket Front Bulkhead
22 - Base Speaker - RDO 3.5 Inch

Stowage Lid Hall Effect Sensor




23 - Cylinder - Tonneau Latch

Hydraulic Pump and Hoses




24 - Cylinder - Top HYD Drive RH
25 - Cylinder Assembly - RF Retract PNL STOW COMPT LID LAT
26 - Cylinder Assembly - RF Retract STOW COMPT CLOSEOUT PNL ACTR
27 - Cylinder Assembly - RF Retract PNL STOW COMPT LID
28 - Defrost Wire - Backlite
29 - Hose Assembly - RF Retract PNL STOW COMPT CLSOUT PNL ACTR HYD
30 - Hose Assembly - RF Retract PNL STOW COMPT LID ACTR CYL HYD
31 - Hose Assembly - RF Retract PNL STOW COMPT LID LAT HYD
32 - Hose Set - Top HYD Drive CYL RH
33 - Hydraulic Motor Housing
34 - Strap - Motor Housing Cover
35 - Electro-HYD Pump Unit
36 - Bracket - Hydraulic System (part is POA to hydraulic system)

Main Lift Cylinder Hall Effect Sensors




37 - Hall Effect Sensor - Top HYD Drive Cyl

Stowage Lid Extension Panel Hall Effect Sensors




38 - Hall Sensor - Flipper Door Cylinder

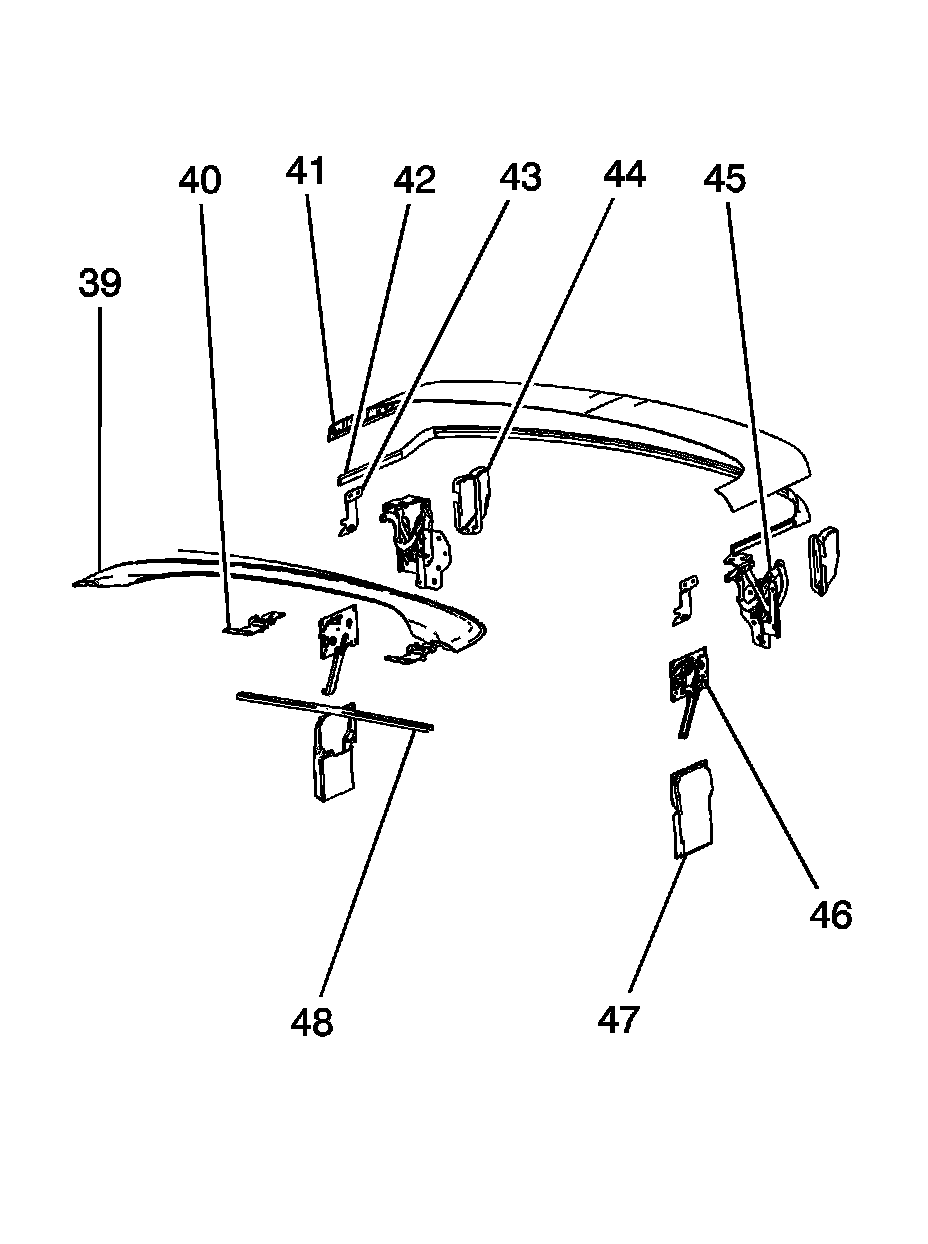
Stowage Lid and Extension Panel




39 - Panel Assembly - Flipper Door Primed
40 - Hinge Assembly - Flipper Door RH
41 - Panel Assembly - Roof Tonneau (retractable roof stowage compartment lid)
42 - Weatherstrip - Tonneau
43 - Striker Assembly - Tonneau Latch RH
44 - Closeout - Tonneau Hinge RH
45 - Hinge Assembly - Tonneau/Body Attach LH
46 - Latch Assembly - Tonneau LH
47 - CO Closeout Tonneau Latch LH
48 - Nut Plate - Bin Box Attach