lemon-mirror:
Home >> Chevrolet >> 2003 >> Impala V6-3.4L VIN E >> Repair and Diagnosis >> Powertrain Management >> Computers and Control Systems >> Throttle Position Sensor >> Service and Repair

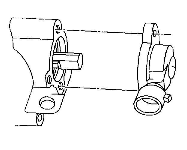
Throttle Position Sensor: Service and Repair

REMOVAL PROCEDURE




1. Disconnect the fuel lines.
2. Disconnect the throttle position (TP) sensor electrical connector.




3. Remove the 2 TP sensor screws.




4. Remove the TP sensor and the O-ring.

INSTALLATION PROCEDURE




1. Install the TP sensor O-ring to the TP sensor.




2. Install the TP sensor.
3. Apply a thread-locking compound to the TP sensor screws. Loctite(r) 262, GM P/N 12345493, (Canadian P/N 10953488) or equivalent should be used.




4. Install the 2 TP sensor screws.

NOTE: Refer to Fastener Notice in Service Precautions.

Tighten
Tighten the screws to 2 N.m (18 lb in).




5. Connect the TP sensor electrical connector.
6. Connect the fuel lines.