lemon-mirror:
Home >> Chevrolet >> 2000 >> Venture V6-3.4L VIN E >> Repair and Diagnosis >> Locations >> Component Locations >> Modules >> Malfunction Indicator Lamp Traction Control Module

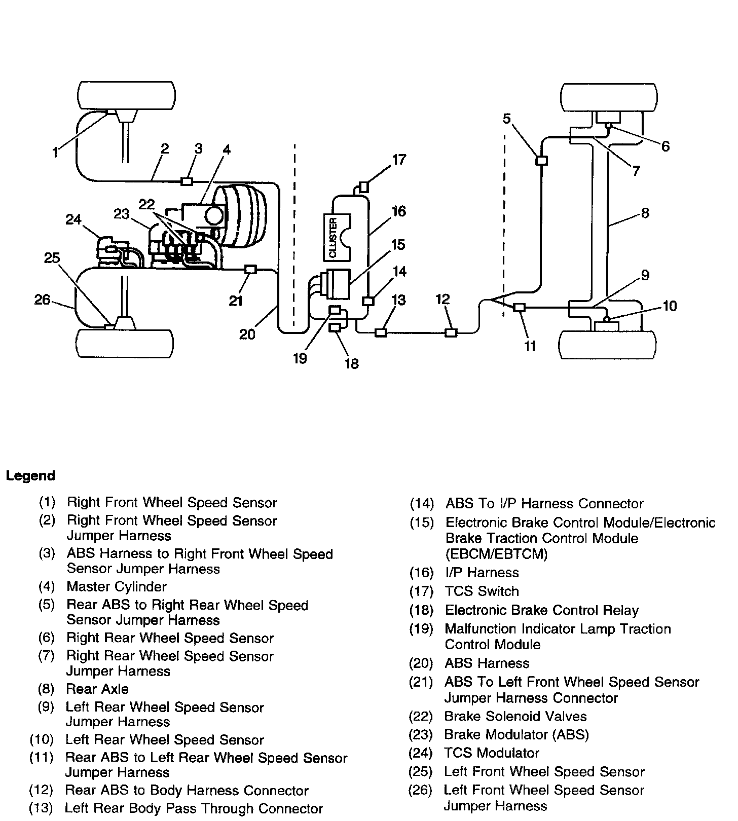
Malfunction Indicator Lamp Traction Control Module

Locations View: